TOP
|
特許
|
意匠
|
商標
特許ウォッチ
Twitter
他の特許を見る
公開番号
2025154034
公報種別
公開特許公報(A)
公開日
2025-10-10
出願番号
2024056810
出願日
2024-03-29
発明の名称
ワイヤハーネス用コネクタ
出願人
古河電気工業株式会社
,
古河AS株式会社
代理人
個人
主分類
H01R
12/77 20110101AFI20251002BHJP(基本的電気素子)
要約
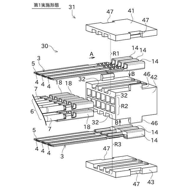
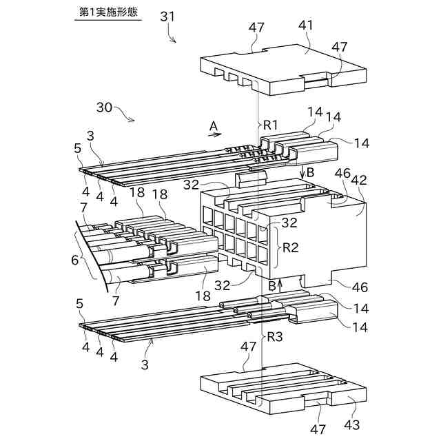
【課題】ワイヤハーネスが有する丸電線群及びフラットケーブルを同時に相手側へ接続可能なコネクタを実現する。
【解決手段】ワイヤハーネス用コネクタ30は、フラットケーブル3と、丸電線7と、を有するワイヤハーネスの端部に配置される。ワイヤハーネス用コネクタ30は、コネクタハウジング31と、フラットケーブル用コネクタ端子14と、丸電線用コネクタ端子18と、を備える。コネクタハウジング31において、端子室32の列として、第1列R1、第2列R2及び第3列R3が互いに平行に配置される。第1列R1の端子室32には、フラットケーブル用コネクタ端子14が挿入される。第2列R2の端子室32には、丸電線用コネクタ端子18が挿入される。第3列R3の端子室32には、フラットケーブル用コネクタ端子14が挿入される。第1列R1と第3列R3の間に、第2列R2が配置される。
【選択図】図2
特許請求の範囲
【請求項1】
フラットケーブルと、丸電線と、を有するワイヤハーネスの端部に配置されるワイヤハーネス用コネクタであって、
コネクタハウジングと、
前記フラットケーブルの導体が接続されるフラットケーブル用コネクタ端子と、
前記丸電線の導体が接続される丸電線用コネクタ端子と、
を備え、
前記コネクタハウジングにおいて、
前記フラットケーブル用コネクタ端子が挿入される端子室の列である第1列と、
前記丸電線用コネクタ端子が挿入される端子室の列である第2列と、
前記フラットケーブル用コネクタ端子が挿入される端子室の列である第3列と、
が互いに平行に配置され、
前記第1列と、前記第3列と、の間に、前記第2列が配置されることを特徴とするワイヤハーネス用コネクタ。
続きを表示(約 1,000 文字)
【請求項2】
請求項1に記載のワイヤハーネス用コネクタであって、
前記コネクタハウジングは、互いに分離可能な第1部分と、第2部分と、第3部分と、
を有し、
前記第1列の端子室は、前記第1部分と、前記第2部分と、の間の第1境界に配置され、
前記第2列の端子室は、前記第2部分に配置され、
前記第3列の端子室は、前記第2部分と、前記第3部分と、の間の第2境界に配置されることを特徴とするワイヤハーネス用コネクタ。
【請求項3】
請求項1に記載のワイヤハーネス用コネクタであって、
前記コネクタハウジングは、互いに分離可能な第1部分と、第2部分と、第3部分と、を有し、
前記第1列の端子室は、前記第1部分に配置され、
前記第2列の端子室は、前記第2部分に配置され、
前記第3列の端子室は、前記第3部分に配置されることを特徴とするワイヤハーネス用コネクタ。
【請求項4】
請求項2又は3に記載のワイヤハーネス用コネクタであって、
前記第1部分及び前記第3部分の少なくとも一方を前記第2部分に固定する固定部を備えることを特徴とするワイヤハーネス用コネクタ。
【請求項5】
請求項1に記載のワイヤハーネス用コネクタであって、
前記コネクタハウジングは、フラットケーブル用ハウジングと、丸電線用ハウジングと、を備え、
前記フラットケーブル用ハウジングと、前記丸電線用ハウジングと、は互いに分離可能であり、
前記フラットケーブル用ハウジングは、
前記第1列の端子室が配置されるフラットケーブル用第1部分と、
前記第3列の端子室が配置されるフラットケーブル用第2部分と、
前記フラットケーブル用第1部分と、前記フラットケーブル用第2部分と、を連結する連結部分と、
を有し、
前記丸電線用ハウジングは、前記フラットケーブル用第1部分と、前記フラットケーブル用第2部分と、の間に配置され、
前記丸電線用ハウジングに、前記第2列の端子室が配置されることを特徴とするワイヤハーネス用コネクタ。
【請求項6】
請求項5に記載のワイヤハーネス用コネクタであって、
前記フラットケーブル用ハウジングを前記丸電線用ハウジングに固定する固定部を備えることを特徴とするワイヤハーネス用コネクタ。
発明の詳細な説明
【技術分野】
【0001】
本発明は、ワイヤハーネス用コネクタに関する。
続きを表示(約 1,400 文字)
【背景技術】
【0002】
従来から、回転体に巻かれるフラットケーブルを備えるステアリング用電気的接続装置が知られている。この構成は、例えば特許文献1に開示されている。
【0003】
特許文献1における電気的接続装置においては、回転体に巻かれるフラットケーブルの信号を外部に伝達するために、フラットケーブルの各導体部と電線の芯線部とが超音波溶接により接続されている。特許文献1は、この部分を接続コネクタと称している。この接続コネクタから引き出される電線の他端が、端子等で加締められ、コネクタに接続される。
【先行技術文献】
【特許文献】
【0004】
特開平11-312568号公報
【発明の概要】
【発明が解決しようとする課題】
【0005】
上記特許文献1の接続コネクタは、丸電線群とフラットケーブルの間の中継コネクタに過ぎず、丸電線群と、フラットケーブルと、の両方からなるワイヤハーネスを相手に接続するものではない。従って、接続構造の小型化に限界があり、この点で改善の余地があった。
【0006】
本発明は以上の事情に鑑みてされたものであり、その目的は、ワイヤハーネスが有する丸電線群及びフラットケーブルを同時に相手側へ接続可能なコネクタを実現することにある。
【発明の概要】
課題を解決するための手段及び効果
【0007】
本発明の解決しようとする課題は以上の如くであり、次にこの課題を解決するための手段とその効果を説明する。
【0008】
本発明の観点によれば、以下の構成のワイヤハーネス用コネクタが提供される。即ち、このワイヤハーネス用コネクタは、フラットケーブルと、丸電線と、を有するワイヤハーネスの端部に配置される。前記ワイヤハーネス用コネクタは、コネクタハウジングと、フラットケーブル用コネクタ端子と、丸電線用コネクタ端子と、を備える。前記フラットケーブル用コネクタ端子には、前記フラットケーブルの導体が接続される。前記丸電線用コネクタ端子には、前記丸電線の導体が接続される。コネクタハウジングにおいて、端子室が並べられる列である第1列と、第2列と、第3列と、が互いに平行に配置される。前記第1列は、前記フラットケーブル用コネクタ端子が挿入される端子室の列である。前記第2列は、前記丸電線用コネクタ端子が挿入される端子室の列である。前記第3列は、前記フラットケーブル用コネクタ端子が挿入される端子室の列である。前記第1列と、前記第3列と、の間に、前記第2列が配置される。
【0009】
これにより、対をなして配置されるフラットケーブルと、フラットーブルの間に配置される丸電線群と、で構成されたワイヤハーネスにおいて、フラットケーブルと丸電線群とを同時に相手側へ接続可能なコネクタを実現することができる。
【0010】
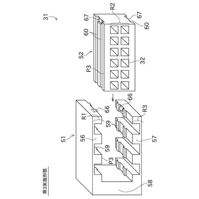
前記のワイヤハーネス用コネクタにおいては、以下の構成とすることが好ましい。即ち、前記コネクタハウジングは、互いに分離可能な第1部分と、第2部分と、第3部分と、を有する。前記第1列の端子室は、前記第1部分と、前記第2部分と、の間の第1境界に配置される。前記第2列の端子室は、前記第2部分に配置される。前記第3列の端子室は、前記第2部分と、前記第3部分と、の間の第2境界に配置される。
(【0011】以降は省略されています)
この特許をJ-PlatPat(特許庁公式サイト)で参照する
関連特許
古河電気工業株式会社
コネクタ付き電線
27日前
古河電気工業株式会社
光ファイバ心線および光ファイバ心線の製造方法
14日前
古河電気工業株式会社
端子付き電線及びその製造方法、並びにコネクタ付き電線
27日前
古河電気工業株式会社
端子付き電線及びその製造方法、並びにコネクタ付き電線
27日前
古河電気工業株式会社
端子付き電線およびその製造方法、ならびにコネクタ付き電線
27日前
古河AS株式会社
結束具及びこれを利用する電線束並びにワイヤハーネス
1日前
古河電気工業株式会社
端子付き電線およびその製造方法、電線用端子、ならびにコネクタ付き電線
27日前
古河電気工業株式会社
皮膜除去方法および皮膜除去装置
1か月前
古河電気工業株式会社
絶縁電線、コイル、電気・電子機器、及び電気・電子機器の製造方法
8日前
古河ネットワークソリューション株式会社
プロキシサーバ配下における通信可視化装置、通信可視化方法、及び通信可視化プログラム
22日前
APB株式会社
蓄電セル
1か月前
東ソー株式会社
絶縁電線
1か月前
個人
フレキシブル電気化学素子
1か月前
株式会社ユーシン
操作装置
1か月前
日新イオン機器株式会社
イオン源
1か月前
株式会社東芝
端子台
1か月前
マクセル株式会社
電源装置
1か月前
ローム株式会社
半導体装置
1か月前
株式会社GSユアサ
蓄電設備
1か月前
太陽誘電株式会社
コイル部品
1か月前
株式会社GSユアサ
蓄電設備
1か月前
株式会社GSユアサ
蓄電装置
1か月前
三菱電機株式会社
回路遮断器
22日前
株式会社GSユアサ
蓄電装置
14日前
株式会社ホロン
冷陰極電子源
1か月前
株式会社GSユアサ
蓄電装置
28日前
富士電機株式会社
電磁接触器
14日前
株式会社GSユアサ
蓄電装置
1か月前
日新イオン機器株式会社
基板処理装置
1か月前
日本特殊陶業株式会社
保持装置
1か月前
ノリタケ株式会社
熱伝導シート
1か月前
トヨタ自動車株式会社
冷却構造
1か月前
トヨタ自動車株式会社
蓄電装置
1か月前
ホシデン株式会社
複合コネクタ
8日前
株式会社トクミ
ケーブル
今日
トヨタ自動車株式会社
蓄電装置
1か月前
続きを見る
他の特許を見る