TOP
|
特許
|
意匠
|
商標
特許ウォッチ
Twitter
他の特許を見る
10個以上の画像は省略されています。
公開番号
2025153861
公報種別
公開特許公報(A)
公開日
2025-10-10
出願番号
2024056539
出願日
2024-03-29
発明の名称
フラットケーブル組立体
出願人
古河電気工業株式会社
,
古河AS株式会社
代理人
個人
,
個人
,
個人
主分類
H01B
11/00 20060101AFI20251002BHJP(基本的電気素子)
要約
【課題】フラットケーブルを有する通信線におけるノイズを除去する。
【解決手段】フラットケーブル組立体は、フラットケーブルと少なくとも1つのノイズフィルタとを備える。フラットケーブルは、差動伝送の平衡通信線路を構成し、長さ方向に延びる第1通信線および第2通信線を含む。少なくとも1つのノイズフィルタは、第1通信線と第2通信線とのうちの少なくとも1本の通信線で発生する反射波の周波数帯域の信号成分を減衰させるように構成される。
【選択図】図3
特許請求の範囲
【請求項1】
差動伝送の平衡通信線路を構成し、長さ方向に延びる第1通信線および第2通信線を含むフラットケーブルと、
前記第1通信線と前記第2通信線とのうちの少なくとも1本の通信線で発生する反射波の周波数帯域の信号成分を減衰させるように構成される少なくとも1つのノイズフィルタと、
を備えるフラットケーブル組立体。
続きを表示(約 1,000 文字)
【請求項2】
前記少なくとも1つのノイズフィルタは、前記少なくとも1本の通信線を取り囲むフェライトコアを含む、
請求項1に記載のフラットケーブル組立体。
【請求項3】
前記少なくとも1つのノイズフィルタは、前記少なくとも1本の通信線に電気的に接続されるフィルタ回路を含む、
請求項1に記載のフラットケーブル組立体。
【請求項4】
前記フィルタ回路は、少なくとも1つの受動素子で構成される、
請求項3に記載のフラットケーブル組立体。
【請求項5】
前記フィルタ回路は、前記フラットケーブルに設けられる、
請求項4に記載のフラットケーブル組立体。
【請求項6】
前記フラットケーブルは、基準電位に保たれる少なくとも1本のグランド線を含み、
前記フィルタ回路は、前記少なくとも1本の通信線と前記少なくとも1本のグランド線とにそれぞれ電気的に接続される少なくとも1つのキャパシタを含む、
請求項5に記載のフラットケーブル組立体。
【請求項7】
前記フィルタ回路は、前記少なくとも1本の通信線に対しそれぞれ直列に電気的に接続される少なくとも1つの抵抗をさらに含む、
請求項6に記載のフラットケーブル組立体。
【請求項8】
前記フィルタ回路は、前記少なくとも1本の通信線に対しそれぞれ直列に電気的に接続される少なくとも1つのコイルをさらに含む、
請求項6に記載のフラットケーブル組立体。
【請求項9】
前記フラットケーブルは、基準電位に保たれる少なくとも1本のグランド線を含み、
前記フィルタ回路は、
前記少なくとも1本の通信線と前記少なくとも1本のグランド線とにそれぞれ電気的に接続される少なくとも1つの抵抗と、
前記少なくとも1本の通信線と前記少なくとも1つの抵抗とにそれぞれ電気的に接続される少なくとも1つのコイルと、
を含む、
請求項5に記載のフラットケーブル組立体。
【請求項10】
前記フィルタ回路は、前記少なくとも1本の通信線に対しそれぞれ直列に電気的に接続される少なくとも1つのRL並列回路をさらに含む、
請求項5に記載のフラットケーブル組立体。
(【請求項11】以降は省略されています)
発明の詳細な説明
【技術分野】
【0001】
本願に開示される技術は、フラットケーブル組立体に関する。
続きを表示(約 4,000 文字)
【背景技術】
【0002】
車載される分岐コネクタにおいてCAN(Controller Area Network)通信におけるノイズ除去を行うフィルタ回路を搭載する技術が知られている(例えば、特許文献1~3参照)。また、通信ノードや通信線にフェライトコアを載置することによってCAN(Controller Area Network)通信におけるノイズ除去を行う技術も知られている(例えば、特許文献4参照)。
【先行技術文献】
【特許文献】
【0003】
特開2008-41287号公報
特開2008-41274号公報
特開2007-201697号公報
特表平7-500463号公報
【発明の概要】
【発明が解決しようとする課題】
【0004】
特許文献1~4は、フラットケーブルを有する通信線においてCAN通信を行う上での問題点を開示していない。
【0005】
そこで、本願に開示される技術の課題は、フラットケーブルを有する通信線において有効に通信するための技術を提供することにある。
【課題を解決するための手段】
【0006】
本願の第1の特徴に係るフラットケーブル組立体は、差動伝送の平衡通信線路を構成し、長さ方向に延びる第1通信線および第2通信線を含むフラットケーブルと、第1通信線と第2通信線とのうちの少なくとも1本の通信線で発生する反射波の周波数帯域の信号成分を減衰させるように構成される少なくとも1つのノイズフィルタと、を備える。
【発明の効果】
【0007】
車載されるフラットケーブルは、多様な導体構成をとる。特に、フラットケーブルは、ヒーター線の接続に用いられる幅広導体が含まれる場合がある。このとき、キャパシタンスが大きくなる傾向があり、特性インピーダンスが小さくなる。このため、フラットケーブルを含むフラットケーブル組立体の特性インピーダンスを、当該組立体に接続される伝送ケーブルが有するCAN通信の通信規格に準拠した特性インピーダンスとマッチングさせることが困難である。したがって、当該組立体と当該伝送ケーブルとの間において信号の反射によるノイズが生じることとなる。しかし、本願に開示される技術によって、フラットケーブルを介して通信を行う際に生じるノイズを効果的に除去することができる。
【図面の簡単な説明】
【0008】
第1実施形態に係るフラットケーブル組立体を備える回転コネクタ装置を概略的に示す斜視図である。
図1の第1空間内に収容されたフレキシブルフラットケーブル群の配置を示す斜視図である。
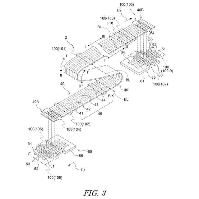
図1の回転コネクタ装置が備えるフラットケーブル組立体の構成を示す斜視図である。
図3のフラットケーブル組立体におけるステータ側一次モールドの側面図である。
図3のフラットケーブル組立体におけるステータ側一次モールドの平面図である。
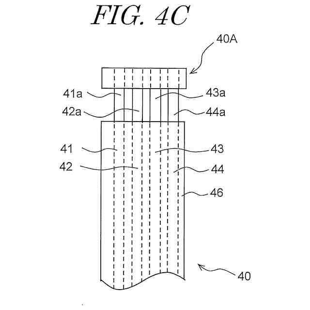
図3のフラットケーブル組立体におけるフラットケーブルの一端の平面図である。
図3のフラットケーブル組立体におけるロテータ側一次モールドの側面図でる。
図3のフラットケーブル組立体におけるロテータ側一次モールドの平面図である。
図3のフラットケーブル組立体におけるフラットケーブルの他端の平面図である。
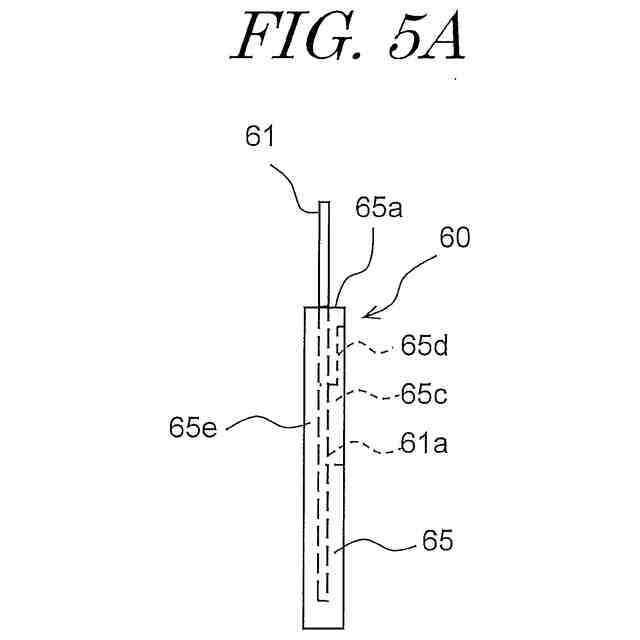
フラットケーブルまたは1次モールドを取り囲むフェライトコアによるノイズフィルタの一例である。
フラットケーブルまたは1次モールドを取り囲む半割れのフェライトコアによるノイズフィルタの一例である。
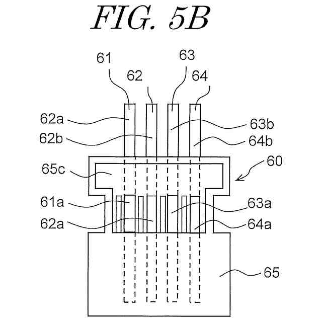
フラットケーブルの複数の導体または1次モールドの複数の導電プレートを取り囲むフェライトコアによるノイズフィルタの一例である。
フラットケーブルの複数の導体または1次モールドの複数の導電プレートを取り囲む半割れのフェライトコアによるノイズフィルタの一例である。
フラットケーブルの複数の導体または1次モールドの複数の導電プレートをそれぞれ取り囲む複数のフェライトコアによるノイズフィルタの一例である。
フラットケーブルの複数の導体または1次モールドの複数の導電プレートをそれぞれ取り囲む複数の半割れのフェライトコアによるノイズフィルタの一例である。
フラットケーブルの導体部または1次モールドの端子部との接合部を取り囲むフェライトコアによるノイズフィルタの一例である。
フラットケーブルの導体部または1次モールドの端子部との接合部を取り囲む半割れのフェライトコアによるノイズフィルタの一例である。
フラットケーブルの中途または1次モールドに設けられたRL並列回路によるノイズフィルタの一例である。
フラットケーブルの中途に設けられたRL並列回路によるノイズフィルタの別の一例である。
フラットケーブルの中途に設けられたLRローパスフィルタによるノイズフィルタの一例である。
フラットケーブルの中途に設けられたRCローパスフィルタによるノイズフィルタの一例である。
フラットケーブルの中途に設けられたRCローパスフィルタによるノイズフィルタの別の一例である。
フラットケーブルの中途に設けられたLCローパスフィルタによるノイズフィルタの一例である。
フラットケーブルの導体部に設けられたRL並列回路によるノイズフィルタの一例である。
フラットケーブルの導体部に設けられたRL並列回路によるノイズフィルタの別の一例である。
フラットケーブルの導体部に設けられたLRローパスフィルタによるノイズフィルタの一例である。
フラットケーブルの導体部に設けられたRCローパスフィルタによるノイズフィルタの一例である。
フラットケーブルの導体部に設けられたRCローパスフィルタによるノイズフィルタの別の一例である。
フラットケーブルの導体部に設けられたLCローパスフィルタによるノイズフィルタの一例である。
導電プレートに設けられたRL並列回路によるノイズフィルタの一例である。
導電プレートに設けられたRL並列回路によるノイズフィルタの別の一例である。
導電プレートに設けられたLRローパスフィルタによるノイズフィルタの一例である。
導電プレートに設けられたRCローパスフィルタによるノイズフィルタの一例である。
導電プレートに設けられたRCローパスフィルタによるノイズフィルタの別の一例である。
導電プレートに設けられたLCローパスフィルタによるノイズフィルタの一例である。
導電プレートに設けられ、一次モールドから着脱可能な受動素子によって構成されるRL並列回路によるノイズフィルタの一例である。
導電プレートに設けられ、一次モールドから着脱可能な受動素子によって構成されるRL並列回路によるノイズフィルタの別の一例である。
導電プレートに設けられ、一次モールドから着脱可能な受動素子によって構成されるRCローパスフィルタによるノイズフィルタの一例である。
導電プレートに設けられ、一次モールドから着脱可能な受動素子によって構成されるLRローパスフィルタ、RCローパスフィルタ、LCローパスフィルタによるノイズフィルタの一例である。
第1端子載置空間の外部端子挿入孔に設けられ第1端子載置空間を取り囲むフェライトコアによるノイズフィルタの一例である。
第2端子載置空間の外部端子挿入孔に設けられ第2端子載置空間を取り囲む半割れのフェライトコアによるノイズフィルタの一例である。
第2実施形態に係るフラットケーブル組立体を備えるスライドドアハーネスの斜視図である。
第1コネクタ部を前方斜め上方側から視た斜視図である。
第1コネクタ部の一部を拡大した平面図である。
第2コネクタ部の一部を拡大した平面図である。
コネクタユニットの分解斜視図である。
図13のスライドドアハーネスが備えるフラットケーブル組立体の構成を示す斜視図である。
コネクタに設けられ、コネクタから着脱可能な受動素子によって構成されるRL並列回路によるノイズフィルタの一例である。
コネクタに設けられ、コネクタから着脱可能な受動素子によって構成されるRL並列回路によるノイズフィルタの別の一例である。
コネクタに設けられ、コネクタから着脱可能な受動素子によって構成されるRCローパスフィルタによるノイズフィルタの一例である。
コネクタに設けられ、コネクタから着脱可能な受動素子によって構成されるLRローパスフィルタ、RCローパスフィルタ、LCローパスフィルタによるノイズフィルタの一例である。
【発明を実施するための形態】
【0009】
以下、実施形態について図面を参照しながら説明する。図中において同じ符号は、対応するまたは同一の構成を示している。
【0010】
<第1実施形態>
<回転コネクタ装置の概要>
図1は、第1実施形態に係る回転コネクタ装置を概略的に示す斜視図である。図1の回転コネクタ装置は、その一例を示すものであり、本発明に係る回転コネクタ装置の構成は、図1のものに限られない。
(【0011】以降は省略されています)
この特許をJ-PlatPat(特許庁公式サイト)で参照する
関連特許
古河電気工業株式会社
端子
3日前
古河電気工業株式会社
端子
2日前
古河電気工業株式会社
複合ケーブル
3日前
古河電気工業株式会社
複合ケーブル
3日前
古河電気工業株式会社
コネクタ接続構造
2日前
古河電気工業株式会社
光半導体モジュール
2日前
古河電気工業株式会社
電子部品加工用テープ
2日前
古河電気工業株式会社
レーダ装置の配置構造
2日前
古河電気工業株式会社
フラットケーブル組立体
2日前
古河電気工業株式会社
ウエハ加工用粘着テープ
3日前
古河電気工業株式会社
レーザ装置および制御方法
2日前
古河電気工業株式会社
光モジュール、光接続構造
3日前
古河電気工業株式会社
ワイヤハーネス用コネクタ
2日前
古河電気工業株式会社
半導体ウェハ表面保護用テープ
2日前
古河電気工業株式会社
コネクタ及びコネクタ接続構造
2日前
古河電池株式会社
双極型蓄電池
3日前
古河樹脂加工株式会社
木質配合樹脂管
2日前
古河電気工業株式会社
通信システム、プログラム及び通信方法
3日前
古河電気工業株式会社
フェルールホルダ、光接続構造、光モジュール
3日前
古河電気工業株式会社
走行路認識装置、走行路認識方法及びプログラム
4日前
古河電気工業株式会社
配線材の製造方法及び製造装置、並びに、配線材
4日前
古河電気工業株式会社
センサシステム、センシング方法およびプログラム
2日前
古河樹脂加工株式会社
配管固定具および配管固定構造
3日前
古河電池株式会社
双極型蓄電池及び双極型蓄電池の製造方法
3日前
古河電池株式会社
双極型蓄電池用バイプレート、双極型蓄電池
4日前
古河電気工業株式会社
フラットケーブル組立体、回転コネクタ装置、及び、スライドドアハーネス
2日前
古河電気工業株式会社
フィルム状接着剤、その硬化フィルムを具備する積層レンズ、フィルム状接着剤用のドープ
3日前
古河電気工業株式会社
樹脂組成物、樹脂被覆材、絶縁電線、絶縁電線の製造方法、自動車用ワイヤーハーネス及び自動車用ワイヤーハーネスの製造方法
2日前
古河電気工業株式会社
フィルム状接着剤、接着剤用組成物、ダイシング・ダイアタッチフィルム、並びに半導体パッケージ及び半導体パッケージの製造方法
3日前
個人
フレキシブル電気化学素子
2日前
日本発條株式会社
積層体
13日前
ローム株式会社
半導体装置
4日前
ローム株式会社
半導体装置
11日前
ローム株式会社
半導体装置
9日前
個人
防雪防塵カバー
13日前
株式会社ユーシン
操作装置
2日前
続きを見る
他の特許を見る