TOP
|
特許
|
意匠
|
商標
特許ウォッチ
Twitter
他の特許を見る
10個以上の画像は省略されています。
公開番号
2025155337
公報種別
公開特許公報(A)
公開日
2025-10-14
出願番号
2024059124
出願日
2024-04-01
発明の名称
止水カバー付グロメット及び止水カバー付ハーネス
出願人
古河電気工業株式会社
,
古河AS株式会社
代理人
個人
,
個人
,
個人
,
個人
,
個人
主分類
H02G
3/22 20060101AFI20251006BHJP(電力の発電,変換,配電)
要約
【課題】外部から侵入した水の内部への侵入を抑制できる止水カバー付グロメット及び止水カバー付ハーネスを提供することを目的とする。
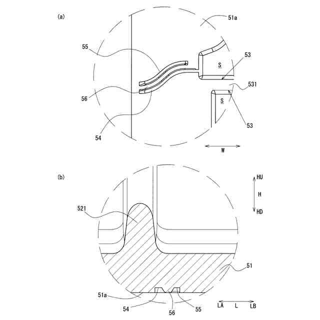
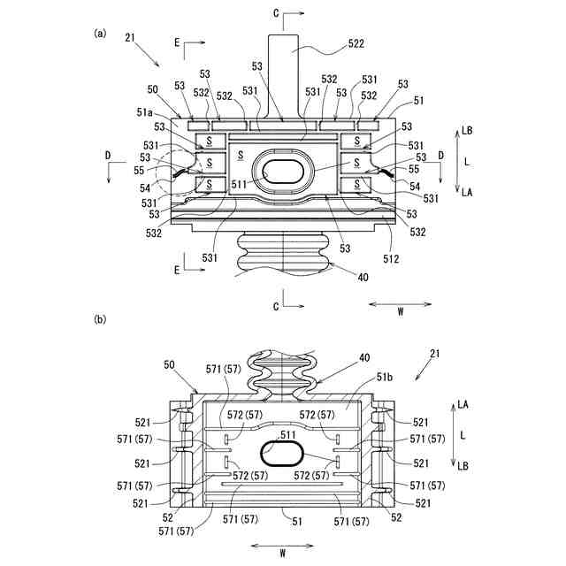
【解決手段】止水カバー付グロメット1は、車体パネルPに取り付ける止水カバー10と、ハーネスWHを配索させる筒状のグロメット20とを備え、グロメット20の一端には設けられた、止水カバー10に装着されるとともに、車体パネルPに取り付けられるパネル取付部50に、固定孔P2を介して車体パネルPに固定され、車体パネルPと対向する対向部51が備えられている。対向部51の中央部分には、車体パネルPに固定された状態において、車体パネルPに当接して止水するインナーリップ53とが備えられ、対向部51の両端部分には、高さ方向Hに窪ませた第一溝部54と、第一溝部54の後端側LBで第一溝部54に沿って、車体パネルPに対して当接する当接部56がインナーリップ53に向けて設けられている。
【選択図】図11
特許請求の範囲
【請求項1】
パネルが有する挿通孔に挿通させるワイヤーハーネスを内部に配索させる筒状のグロメットと、
前記グロメットの一端部分を内側に装着するとともに、前記パネルに取り付ける止水カバーとを備え、
前記グロメットの一端には、前記止水カバーに装着されるとともに、前記パネルに対して取り付けられる取付部が設けられ、
前記取付部に、前記パネルを板厚方向に貫通させた固定孔を介して前記パネルに固定されるとともに、前記パネルと対向する平板状の対向部が備えられ、
前記ワイヤーハーネスの配索方向及び前記板厚方向に交差する方向を幅方向とし、
前記対向部における前記幅方向の中央部分には、
前記固定孔に固定される固定部と、
前記固定部を前記固定孔に固定された状態において、前記パネルに向けて突出するとともに、前記パネルに当接して止水する止水部とが備えられ
前記対向部における前記幅方向の両端部分には、
前記板厚方向に窪ませた溝部と、
前記溝部の前記挿通孔の側と反対側で前記溝部に沿うとともに、前記パネルに取り付けた状態において、前記パネルに対して当接する当接部とが前記止水部に向けて設けられた
止水カバー付グロメット。
続きを表示(約 780 文字)
【請求項2】
前記止水部は、前記板厚方向から視て、前記幅方向及び前記配索方向に沿って設けられるとともに、前記パネルに取り付けた状態において、閉鎖空間を形成し、
前記溝部における前記幅方向の中央側端部は、前記閉鎖空間に挿通した
請求項1に記載の止水カバー付グロメット。
【請求項3】
前記溝部を第一溝部とし、
前記当接部の前記挿通孔の側に、前記当接部に沿って、前記板厚方向に向けて窪ませた第二溝部が設けられた
請求項2に記載の止水カバー付グロメット。
【請求項4】
前記第二溝部における前記幅方向の中央側端部は、前記第一溝部における前記幅方向の中央側端部よりも、前記幅方向の端部側に配置された
請求項3に記載の止水カバー付グロメット。
【請求項5】
前記当接部は、前記溝部の一部を形成する
請求項2に記載の止水カバー付グロメット。
【請求項6】
前記溝部及び前記当接部は、前記幅方向に向かうに伴い前記配索方向に湾曲した
請求項5に記載の止水カバー付グロメット。
【請求項7】
前記対向部における前記幅方向の両端部分には、前記パネルと反対側に向けて突出するとともに、前記取付部が前記止水カバーに装着された状態において、前記止水カバーが当接する止水カバー側リブが設けられた
請求項1に記載の止水カバー付グロメット。
【請求項8】
前記止水カバー側リブは、前記当接部に対応して設けられた
請求項7に記載の止水カバー付グロメット。
【請求項9】
請求項1に記載の止水カバー付グロメットと、
前記グロメットに挿通されたワイヤーハーネスとが備えられた
止水カバー付ハーネス。
発明の詳細な説明
【技術分野】
【0001】
この発明は、例えば、車両に配索されるワイヤーハーネスを保護する止水カバー付グロメット及び止水カバー付ハーネスに関する。
続きを表示(約 1,800 文字)
【背景技術】
【0002】
車両に搭載されている電装品を電気的に接続しているワイヤーハーネスは、二次元的又は三次元的に配索されている。このように配索されているワイヤーハーネスは、例えば、床パネルやドアパネルなどのパネルに設けた挿通孔に挿通させる際に、挿通孔の外縁とワイヤーハーネスとが干渉しないようにグロメットを用いて保護することがある。
【0003】
例えば、特許文献1には、ワイヤーハーネスを挿通させるグロメットの端部に備えられた、断面略三角形状の取付部をパネルに取り付け、止水カバーで覆う止水カバー付グロメットが開示されている。
【0004】
しかしながら、特許文献1に開示されている止水カバー付グロメットでは、断面略三角形状の取付部の一面と、止水カバーとパネルとの境界部分、すなわち、取付部におけるワイヤーハーネスの配索方向と直交する幅方向の端部には、隙間が形成されやすく、外部から侵入した水が内部に伝わるおそれがあった。
【先行技術文献】
【特許文献】
【0005】
特開2001-069645号公報
【発明の概要】
【発明が解決しようとする課題】
【0006】
この発明は、外部から侵入した水の内部への侵入を抑制できる止水カバー付グロメット及び止水カバー付ハーネスを提供することを目的とする。
【0007】
この発明は、パネルが有する挿通孔に挿通させるワイヤーハーネスを内部に配索させる筒状のグロメットと、前記グロメットの一端部分を内側に装着するとともに、前記パネルに取り付ける止水カバーとを備え、前記グロメットの一端には、前記止水カバーに装着されるとともに、前記パネルに対して取り付けられる取付部が設けられ、前記取付部に、前記パネルを板厚方向に貫通させた固定孔を介して前記パネルに固定されるとともに、前記パネルと対向する平板状の対向部が備えられ、前記ワイヤーハーネスの配索方向及び前記板厚方向に交差する方向を幅方向とし、前記対向部における前記幅方向の中央部分には、前記固定孔に固定される固定部と、前記固定部を前記固定孔に固定された状態において、前記パネルに向けて突出するとともに、前記パネルに当接して止水する止水部とが備えられ、前記対向部における前記幅方向の両端部分には、前記板厚方向に窪ませた溝部と、前記溝部の前記挿通孔の側と反対側で前記溝部に沿うとともに、前記パネルに取り付けた状態において、前記パネルに対して当接する当接部とが前記止水部に向けて設けられた止水カバー付グロメットであることを特徴とする。
またこの発明は、上述の止水カバー付グロメットと、前記グロメットに挿通されたワイヤーハーネスとが備えられた止水カバー付ハーネスであることを特徴とする。
【0008】
前記当接部は、前記溝部と一体である場合や、前記溝部に対して前記挿通孔の側と反対側に所定の間隔を隔てて設けられている場合を含む。すなわち、前記当接部は、前記溝部の一部を形成している場合や、前記溝部と別体として設けられている場合を含む。
【0009】
この発明によれば、外部から侵入した水の内部への侵入を抑制できる。
詳述すると、内部にワイヤーハーネスを配索させる筒状のグロメットの一端に設けられた取付部は、止水カバーに装着されるとともに、パネルと対向する平板状の対向部を備えている。また、対向部における幅方向の中央部分には、固定孔に固定される固定部と、パネルに向けて突出するとともに、パネルと当接して止水する止水部が備えられている。
【0010】
そして、対向部における幅方向の両端部分には、止水部まで板厚方向に向けて窪ませた溝部と、溝部の挿通孔の側と反対側において、溝部に沿うとともに、パネルに取り付けた状態において、パネルに対して当接する当接部とが止水部に向けて設けられている。このため、パネルと対向する対向部における幅方向の端部から侵入した水を溝部に案内できるとともに、挿通孔の側と反対側への水が伝わることを当接部で抑制できる。したがって、幅方向の両端部分を介して外部から侵入した水が内側に侵入することも抑制できる。
なお、溝部に沿って幅方向の中央側に向けて流れた水は止水部で止水されるため、幅方向の中央部分から水が内側に侵入することも抑制できる。
(【0011】以降は省略されています)
この特許をJ-PlatPat(特許庁公式サイト)で参照する
関連特許
古河電気工業株式会社
融着機
1か月前
古河電気工業株式会社
コネクタ付き電線
27日前
古河電気工業株式会社
ケーブル及びケーブルシステム
1か月前
古河電気工業株式会社
保護部材及びワイヤーハーネス
1か月前
古河電気工業株式会社
通信システム、プログラム及び通信方法
1か月前
古河電気工業株式会社
通信システム、プログラム及び通信方法
1か月前
古河電気工業株式会社
通信システム、プログラム及び通信方法
1か月前
古河電気工業株式会社
通信システム、プログラム及び通信方法
1か月前
古河電気工業株式会社
光ファイバ心線および光ファイバ心線の製造方法
14日前
古河電気工業株式会社
端子付き電線及びその製造方法、並びにコネクタ付き電線
27日前
古河電気工業株式会社
端子付き電線及びその製造方法、並びにコネクタ付き電線
27日前
古河電気工業株式会社
端子付き電線およびその製造方法、ならびにコネクタ付き電線
27日前
株式会社UACJ
磁気ディスク用アルミニウム合金板及び磁気ディスク
1か月前
古河AS株式会社
結束具及びこれを利用する電線束並びにワイヤハーネス
1日前
古河電気工業株式会社
端子付き電線およびその製造方法、電線用端子、ならびにコネクタ付き電線
27日前
古河電気工業株式会社
皮膜除去方法および皮膜除去装置
1か月前
古河電気工業株式会社
絶縁電線、コイル、電気・電子機器、及び電気・電子機器の製造方法
8日前
古河ネットワークソリューション株式会社
プロキシサーバ配下における通信可視化装置、通信可視化方法、及び通信可視化プログラム
22日前
古河電気工業株式会社
磁気ディスク用基板及び磁気ディスク用基板の熱拡散率測定方法、磁気ディスク用基板の検査方法、磁気ディスク用基板の製造方法、ならびに磁気ディスク
1か月前
個人
電気を重力で発電装置
28日前
個人
高圧電気機器の開閉器
15日前
キヤノン電子株式会社
モータ
27日前
キヤノン電子株式会社
モータ
1か月前
日星電気株式会社
ケーブル組立体
1か月前
コーセル株式会社
電源装置
1か月前
株式会社アイドゥス企画
減反モータ
15日前
トヨタ自動車株式会社
モータ
27日前
株式会社デンソー
端子台
8日前
個人
二次電池繰返パルス放電器用印刷基板
1か月前
本田技研工業株式会社
回転電機
1日前
株式会社デンソー
電力変換装置
1か月前
ローム株式会社
半導体集積回路
6日前
トヨタ自動車株式会社
固定子の加熱装置
1か月前
矢崎総業株式会社
給電装置
7日前
矢崎総業株式会社
電源回路
14日前
株式会社デンソー
非接触受電装置
1か月前
続きを見る
他の特許を見る