TOP
|
特許
|
意匠
|
商標
特許ウォッチ
Twitter
他の特許を見る
10個以上の画像は省略されています。
公開番号
2025159096
公報種別
公開特許公報(A)
公開日
2025-10-17
出願番号
2025133376,2021101526
出願日
2025-08-08,2021-06-18
発明の名称
近赤外用結像レンズ系、カメラモジュール、車載システム、移動体
出願人
マクセル株式会社
代理人
個人
主分類
G02B
13/14 20060101AFI20251009BHJP(光学)
要約
【課題】明るく、結像性能に優れ、小型化が可能な、近赤外用結像レンズ系、カメラモジュール、車載システム、移動体を提供すること。
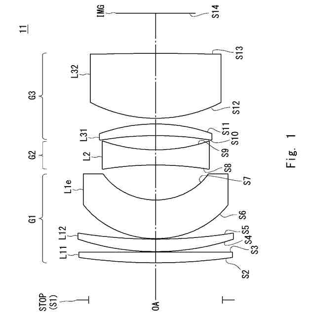
【解決手段】近赤外用結像レンズ系11は、物体側から像側に向かって順に、正のパワーを有する第1群G1と、負のパワーを有する第2群G2と、正のパワーを有する第3群G3と、からなり、第1群G1は、少なくとも3枚以上のレンズからなり、第1群G1を構成する全てのレンズの物体側面は物体側に凸面を向け、第1群G1の最終レンズL1e以外のレンズは正のパワーを有し、最終レンズL1eの像側面は像側に凹面を向けており、第2群G2は、両凹形状で負のパワーを有するレンズL2からなり、第3群G3は、少なくとも2枚以上のレンズからなり、物体側から像側に向かって順に、像側面が像側に凸面を向けた正のパワーを有する第1レンズL31、物体側面が物体側に凸面を向けた正のパワーを有する第2レンズL32を含む。
【選択図】図1
特許請求の範囲
【請求項1】
物体側から像側に向かって順に、正のパワーを有する第1群と、負のパワーを有する第2群と、正のパワーを有する第3群と、からなり、
前記第1群は、少なくとも3枚以上のレンズからなり、前記第1群を構成する全てのレンズの物体側面は物体側に凸面を向け、前記第1群の最も像側に配置される最終レンズ以外のレンズは正のパワーを有し、前記第1群の前記最終レンズの像側面は像側に凹面を向けており、
前記第2群は、両凹形状で負のパワーを有するレンズからなり、
前記第3群は、少なくとも2枚以上のレンズからなり、物体側から像側に向かって順に、像側面が像側に凸面を向けた正のパワーを有する第1レンズ、物体側面が物体側に凸面を向けた正のパワーを有する第2レンズを含み、
前記第3群の前記第1レンズの物体側面の曲率半径をR31f、光学系全体の焦点距離をFとし、前記第3群の前記第2レンズの中心光軸における厚さをt32とし、光学系全体の全長をTTLとしたとき、以下の式(11)及び式(12)を満足する、近赤外用結像レンズ系。
-3.2<R31f/F<2.0・・・(11)
0.24<t32/TTL<0.28・・・(12)
続きを表示(約 1,700 文字)
【請求項2】
物体側から像側に向かって順に、正のパワーを有する第1群と、負のパワーを有する第2群と、正のパワーを有する第3群と、からなり、
前記第1群は、少なくとも3枚以上のレンズからなり、前記第1群を構成する全てのレンズの物体側面は物体側に凸面を向け、前記第1群の最も像側に配置される最終レンズ以外のレンズは正のパワーを有し、前記第1群の前記最終レンズの像側面は像側に凹面を向けており、
前記第2群は、両凹形状で負のパワーを有するレンズからなり、
前記第3群は、少なくとも2枚以上のレンズからなり、物体側から像側に向かって順に、像側面が像側に凸面を向けた正のパワーを有する第1レンズ、物体側面が物体側に凸面を向けた正のパワーを有する第2レンズを含み、
前記第3群の前記第1レンズの焦点距離をf31とし、前記第3群の前記第2レンズの焦点距離をf32とし、光学系全体の焦点距離をFとしたとき、以下の式(13)及び式(14)を満足する、近赤外用結像レンズ系。
1.63<f31/F<1.91・・・(13)
0.71<f32/F<0.77・・・(14)
【請求項3】
前記第2群のレンズの物体側面の曲率半径をR2f、像側面の曲率半径をR2rとし、前記第1群の前記最終レンズの像側面の曲率半径をR1erとし、光学系全体の焦点距離をFとしたとき、以下の式(1)及び式(2)を満足する、請求項1又は2に記載の近赤外用結像レンズ系。
0.2<|R2f|/|R2r|<2.5・・・(1)
0.1<R1er/F<1・・・(2)
【請求項4】
前記第2群のレンズの焦点距離をf2とし、光学系全体の焦点距離をFとしたとき、以下の式(3)を満足する、請求項1又は2に記載の近赤外用結像レンズ系。
1<|f2|/F<3・・・(3)
【請求項5】
前記第1群の前記最終レンズの中心光軸における厚さをt1eとし、光学系全体の焦点距離をFとしたとき、以下の式(4)を満足する、請求項1又は2に記載の近赤外用結像レンズ系。
0.1<t1e/F<0.5・・・(4)
【請求項6】
前記第1群の前記最終レンズの物体側面の曲率半径をR1efとし、光学系全体の焦点距離をFとしたとき、以下の式(5)を満足する、請求項1又は2に記載の近赤外用結像レンズ系。
0.1<R1ef/F<1・・・(5)
【請求項7】
前記第1群の前記最終レンズの物体側面の曲率半径をR1efとし、前記第1群の前記最終レンズの像側面の曲率半径をR1erとしたとき、以下の式(6)を満足する、請求項1又は2に記載の近赤外用結像レンズ系。
1<R1ef/R1er<1.8・・・(6)
【請求項8】
前記第2群のレンズの屈折率の温度変化率をdn2/dtとし、前記第1群を構成するレンズの屈折率の温度変化率及び前記第3群を構成するレンズの屈折率の温度変化率の平均値をdN/dtとしたとき、以下の式(7)及び式(8)を満足する、請求項1又は2に記載の近赤外用結像レンズ系。
dn2/dt>4×10
-6
・・・(7)
dN/dt<4×10
-6
・・・(8)
【請求項9】
前記第3群の前記第1レンズの905nmにおける屈折率をn31とし、前記第3群の前記第2レンズの905nmにおける屈折率をn32としたとき、以下の式(9)及び式(10)を満足する、請求項1又は2に記載の近赤外用結像レンズ系。
n31≧1.67・・・(9)
n32≧1.70・・・(10)
【請求項10】
前記第3群を構成するレンズの中心光軸における厚さの合計をtG3とし、光学系全体のレンズの中心光軸における厚さの合計をtEとしたとき、以下の式(15)を満足する、請求項1又は2項に記載の近赤外用結像レンズ系。
tG3/tE≧0.34・・・(15)
(【請求項11】以降は省略されています)
発明の詳細な説明
【技術分野】
【0001】
本発明は近赤外用の結像レンズ系に関し、例えば、大口径で狭角な近赤外用結像レンズ系、カメラモジュール、車載システム、移動体に関する。
続きを表示(約 1,900 文字)
【背景技術】
【0002】
近年、車両に搭載されるカメラには、自動運転を実現する目的等により、センシング機能が求められる傾向にある。また、Lidar(light detection and ranging)と呼ばれる距離計測機能も求められる傾向にある。
Lidarでは、905nm程度の近赤外のレーザ光を対象物に照射してから、反射光を結像光学系において受光するまでの時間を計測することにより、距離を計測する。このような距離計測に用いられる近赤外用結像レンズ系には、遠距離に存在する物体から結像レンズ系に到達する光の強度は減衰しているため、明るいことが求められる。また、このような近赤外用結像レンズ系には、正確な距離計測のため、高解像度であることが求められる。また、このような近赤外用結像レンズ系には、車両に搭載する目的のため、小型であることが求められる。
特許文献1には、Fナンバが1.8程度であり比較的大口径の、いわゆるダブルガウス型の撮像レンズ系が記載されている。
【先行技術文献】
【特許文献】
【0003】
特許第5966728号公報
【発明の概要】
【発明が解決しようとする課題】
【0004】
しかしながら、特許文献1に記載された撮像レンズ系のFナンバはまだ大きく、明るさが十分ではない。また、特許文献1に記載された撮像レンズ系は、ダブルガウス型であるため、絞り前後の向かい合う曲率の大きい凹面によって、軸外画角におけるサジタルコマ収差が大きく生じるという特徴があり、解像度が十分ではない。具体的には、サジタルコマ収差の発生によって、スポット径が大きく広がり、1つの物点から生じた光がイメージセンサ上の複数の画素に染み出し、誤認識につながる可能性がある。さらに、特許文献1に記載された撮像レンズ系において、小型化のため、焦点距離に比して全長を短くしようとすると、上記レンズ面の曲率を大きくする必要が生じ、サジタルコマ収差がことさら強く発生してしまう。そのため、車載用途に適した小型化が難しいという問題がある。
【0005】
本発明は、このような問題点に鑑みてなされたものであり、明るく、結像性能に優れ、小型化が可能な、近赤外用結像レンズ系、カメラモジュール、車載システム、移動体を提供することを目的とする。
【課題を解決するための手段】
【0006】
一実施形態の近赤外用結像レンズ系は、物体側から像側に向かって順に、正のパワーを有する第1群と、負のパワーを有する第2群と、正のパワーを有する第3群と、からなり、
前記第1群は、少なくとも3枚以上のレンズからなり、前記第1群を構成する全てのレンズの物体側面は物体側に凸面を向け、前記第1群の最も像側に配置される最終レンズ以外のレンズは正のパワーを有し、前記第1群の前記最終レンズの像側面は像側に凹面を向けており、
前記第2群は、両凹形状で負のパワーを有するレンズからなり、
前記第3群は、少なくとも2枚以上のレンズからなり、物体側から像側に向かって順に、像側面が像側に凸面を向けた正のパワーを有する第1レンズ、物体側面が物体側に凸面を向けた正のパワーを有する第2レンズを含む。
【0007】
他の一実施形態のカメラモジュールは、上記の近赤外用結像レンズ系と、前記近赤外用結像レンズ系を通じて集光される光を電気信号に変換する撮像素子とを備える。
【0008】
他の一実施形態の車載システムは、車両に搭載される車載システムであって、
上記のカメラモジュールと、
前記カメラモジュールの前記撮像素子から出力される撮像画像を処理して、前記撮像画像の中の対象物の認識を行う情報処理装置と、
を備える。
【0009】
他の一実施形態の移動体は、上記の車載システムを搭載した移動体であって、
前記車載システムは、乗員への情報を出力する出力装置をさらに備え、
前記情報処理装置は前記対象物の認識情報を前記出力装置に出力するように構成されている。
【発明の効果】
【0010】
本発明によれば、明るく、結像性能に優れ、小型化が可能な、近赤外用結像レンズ系、カメラモジュール、車載システム、移動体を提供することができる。
【図面の簡単な説明】
(【0011】以降は省略されています)
この特許をJ-PlatPat(特許庁公式サイト)で参照する
関連特許
マクセル株式会社
電源装置
19日前
マクセル株式会社
粘着テープ
14日前
マクセル株式会社
扁平形電池
26日前
マクセル株式会社
映像表示装置
4日前
マクセル株式会社
放送信号の処理方法
1か月前
マクセル株式会社
空中浮遊映像表示装置
13日前
マクセル株式会社
空中浮遊映像表示システム
22日前
マクセル株式会社
応答出力装置およびシステム
20日前
マクセル株式会社
粉体成型体の製造方法及び製造装置
6日前
マクセル株式会社
応答出力装置および応答出力システム
14日前
マクセル株式会社
樹脂発泡糸の製造方法及びラム押出成形機
13日前
マクセル株式会社
操作方法
6日前
マクセル株式会社
放送システム、放送受信装置、放送局装置および放送方法
25日前
マクセル株式会社
情報処理端末
6日前
マクセル株式会社
表示制御方法
1か月前
マクセル株式会社
表示制御方法
1か月前
マクセル株式会社
情報処理装置
1か月前
マクセル株式会社
伝送波の処理方法
1か月前
マクセル株式会社
ヘッドライト装置
1か月前
マクセル株式会社
伝送波の処理方法
4日前
マクセル株式会社
印刷用メタルマスク
25日前
マクセル株式会社
コンテンツ保護処理方法
1か月前
マクセル株式会社
アプリケーション起動方法
27日前
マクセル株式会社
デジタル放送変調波の処理方法
1か月前
マクセル株式会社
情報表示装置およびその表示方法
1か月前
マクセル株式会社
全固体二次電池およびその製造方法
6日前
マクセル株式会社
近赤外用結像レンズ系、カメラモジュール、車載システム、移動体
1か月前
マクセル株式会社
連携通報システム、携帯型通信装置、及び携帯型通信装置における連携通報方法
27日前
マクセル株式会社
電磁ノイズ抑制シート及びその製造方法、並びに電磁ノイズ抑制シートを用いたケーブル
25日前
個人
立体像表示装置
1か月前
住友化学株式会社
偏光板
1か月前
カンタツ株式会社
光学系
27日前
株式会社シグマ
結像光学系
11日前
株式会社シグマ
結像光学系
21日前
住友化学株式会社
垂直偏光板
1か月前
東レ株式会社
赤外線遮蔽構成体
1か月前
続きを見る
他の特許を見る