TOP
|
特許
|
意匠
|
商標
特許ウォッチ
Twitter
他の特許を見る
10個以上の画像は省略されています。
公開番号
2025166371
公報種別
公開特許公報(A)
公開日
2025-11-06
出願番号
2024070349
出願日
2024-04-24
発明の名称
走査光学装置及び画像形成装置
出願人
キヤノン株式会社
代理人
個人
,
個人
主分類
G02B
26/10 20060101AFI20251029BHJP(光学)
要約
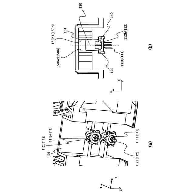
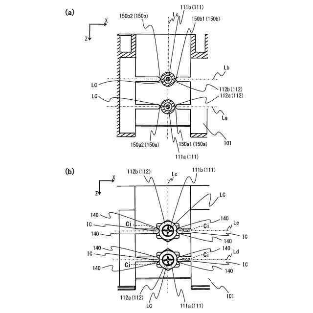
【課題】複数のレーザ支持体を位置調整した後に光学箱に接着固定する構成においても、走査光学装置の小型化を実現すること。
【解決手段】位置が調整された複数のレーザ支持体112a、112bが光学箱101に接着固定された走査光学装置2であって、少なくとも2つ以上のレーザ支持体112a、112bは、隣接するように配列方向(Lc)に配列され、光学箱101は、レーザ支持体112a、112bと接着した接着部150a、150bを有し、接着部150a、150bは、配列方向とは異なる方向(La、Lb)に配置されている。
【選択図】図10
特許請求の範囲
【請求項1】
複数の光源と、
複数の前記光源を各々内包する複数の支持部材と、
前記光源から出射された光束を偏向走査する回転多面鏡と、
複数の前記支持部材及び前記回転多面鏡を収容する光学箱と、
を備え、位置が調整された複数の前記支持部材が前記光学箱に接着固定された走査光学装置であって、
少なくとも2つ以上の前記支持部材は、隣接するように配列方向に配列され、
前記光学箱は、前記支持部材と接着した接着部を有し、
前記接着部は、前記配列方向とは異なる方向に配置されていることを特徴とする走査光学装置。
続きを表示(約 1,500 文字)
【請求項2】
前記接着部は、1つの前記支持部材に対し少なくとも2箇所以上、かつ、前記光源の光軸を中心とした仮想円の円周を等分した位置に設けられており、前記接着部と前記光軸とを結ぶ仮想線が、複数の前記支持部材に対して同一の方向となるように配置されていることを特徴とする請求項1に記載の走査光学装置。
【請求項3】
前記支持部材は、位置が調整されたとき把持された保持部を有し、
前記保持部と前記接着部は、前記光源の光軸に対し、略同一方向に配置されていることを特徴とする請求項1に記載の走査光学装置。
【請求項4】
前記保持部は、前記光軸の方向において、前記接着部とは異なる位置に設けられていることを特徴とする請求項3に記載の走査光学装置。
【請求項5】
第1光源と、
第2光源と、
前記第1光源を内包する第1支持部材と、
前記第2光源を内包する第2支持部材と、
前記第1光源及び前記第2光源から出射された光束を偏向走査する回転多面鏡と、
前記第1支持部材、前記第2支持部材及び前記回転多面鏡を収容する光学箱と、
を備え、位置が調整された前記第1支持部材及び前記第2支持部材が前記光学箱に接着固定された走査光学装置であって、
前記第1支持部材と前記第2支持部材は、隣接するように配列方向に配列され、
前記光学箱は、前記第1支持部材と接着した第1接着部と、前記第2支持部材と接着した第2接着部と、を有し、
前記第1接着部及び前記第2接着部は、前記配列方向とは異なる方向に配列されていることを特徴とする走査光学装置。
【請求項6】
前記第1接着部は、第3接着部と、前記第1光源の光軸を中心とした第1仮想円の円周上で前記第3接着部とは180度の位置に設けられた第4接着部と、を有し、
前記第2接着部は、第5接着部と、前記第2光源の光軸を中心とした第2仮想円の円周上で前記第5接着部とは180度の位置に設けられた第6接着部と、を有し、
前記第3接着部と前記第4接着部とを結ぶ仮想線を第1仮想線、前記第5接着部と前記第6接着部とを結ぶ仮想線を第2仮想線としたとき、
前記第1仮想線と前記第2仮想線は、同一の方向となるように配置されていることを特徴とする請求項5に記載の走査光学装置。
【請求項7】
前記第1支持部材は、位置が調整されたときに把持部材に把持された第1把持部を有し、
前記第2支持部材は、位置が調整されたときに前記把持部材に把持された第2把持部を有し、
前記第1把持部は、前記第1仮想線と同一の方向に設けられ、
前記第2把持部は、前記第2仮想線と同一の方向に設けられることを特徴とする請求項5に記載の走査光学装置。
【請求項8】
前記第1把持部は、前記第1光源の光軸の方向において、前記第1接着部とは異なる位置に設けられ、
前記第2把持部は、前記第2光源の光軸の方向において、前記第2接着部とは異なる位置に設けられていることを特徴とする請求項7に記載の走査光学装置。
【請求項9】
前記配列方向は、前記回転多面鏡の回転軸方向であることをとする請求項1又は請求項5に記載の走査光学装置。
【請求項10】
前記配列方向は、前記回転多面鏡の回転軸方向に直交する方向であることをとする請求項1又は請求項5に記載の走査光学装置。
(【請求項11】以降は省略されています)
発明の詳細な説明
【技術分野】
【0001】
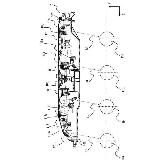
本発明は、走査光学装置及び画像形成装置に関し、複写機やレーザービームプリンタ等の画像形成装置に好適であり、特に、カラー画像形成装置において、複数の光源を並列配置し、調整及び接着固定するように構成した走査光学装置に関する。
続きを表示(約 1,500 文字)
【背景技術】
【0002】
従来、電子写真技術を用いた画像形成装置に用いられる走査光学装置として、例えば、特許文献1が開示されている。近年、コストダウンや走査光学装置の小型化が求められている。このため、光学部品を光学箱に組付けた状態で、光源を内包した2つのレーザ支持体を所望の光学特性が得られるように位置調整した後に、2つのレーザ支持体の間で光学箱と接着固定する構成を用いた走査光学装置が採用されている。
【先行技術文献】
【特許文献】
【0003】
特開2007-121341号公報
【発明の概要】
【発明が解決しようとする課題】
【0004】
しかしながら、従来例では、以下のような課題がある。2つのレーザ支持体の間にレーザ支持体と光学箱との接着部を備えることで、レーザ支持体同士の間隔が広がり、それに付随し、レーザ光を出射する光源同士の間隔も広がる。このため、光源と電気的に接続されたレーザ基板が大きくなる。また、回転多面鏡に入射するレーザ光同士の間隔も広がるため、2つのレーザ光が透過する入射系レンズも大きくなる。さらに、それらを収容する光学箱も大きくなり、走査光学装置が大型化する恐れがある。
【0005】
本発明は、このような状況のもとでなされたもので、複数のレーザ支持体を位置調整した後に光学箱に接着固定する構成においても、走査光学装置の小型化を実現することを目的とする。
【課題を解決するための手段】
【0006】
上述した課題を解決するために、本発明は、以下の構成を備える。
【0007】
(1)複数の光源と、複数の前記光源を各々内包する複数の支持部材と、前記光源から出射された光束を偏向走査する回転多面鏡と、複数の前記支持部材及び前記回転多面鏡を収容する光学箱と、を備え、位置が調整された複数の前記支持部材が前記光学箱に接着固定された走査光学装置であって、少なくとも2つ以上の前記支持部材は、隣接するように配列方向に配列され、前記光学箱は、前記支持部材と接着した接着部を有し、前記接着部は、前記配列方向とは異なる方向に配置されていることを特徴とする走査光学装置。
【0008】
(2)第1光源と、第2光源と、前記第1光源を内包する第1支持部材と、前記第2光源を内包する第2支持部材と、前記第1光源及び前記第2光源から出射された光束を偏向走査する回転多面鏡と、前記第1支持部材、前記第2支持部材及び前記回転多面鏡を収容する光学箱と、を備え、位置が調整された前記第1支持部材及び前記第2支持部材が前記光学箱に接着固定された走査光学装置であって、前記第1支持部材と前記第2支持部材は、隣接するように配列方向に配列され、前記光学箱は、前記第1支持部材と接着した第1接着部と、前記第2支持部材と接着した第2接着部と、を有し、前記第1接着部及び前記第2接着部は、前記配列方向とは異なる方向に配列されていることを特徴とする走査光学装置。
【0009】
(3)前記(1)又は前記(2)に記載の走査光学装置と、前記走査光学装置により前記光束を走査される複数の像担持体と、前記複数の像担持体に形成された静電潜像を現像する現像手段と、を備えることを特徴とする画像形成装置。
【発明の効果】
【0010】
本発明によれば、複数のレーザ支持体を位置調整した後に光学箱に接着固定する構成においても、走査光学装置の小型化を実現することができる。
【図面の簡単な説明】
(【0011】以降は省略されています)
この特許をJ-PlatPat(特許庁公式サイト)で参照する
関連特許
キヤノン株式会社
容器
1か月前
キヤノン株式会社
容器
1か月前
キヤノン株式会社
トナー
25日前
キヤノン株式会社
トナー
1か月前
キヤノン株式会社
電子機器
25日前
キヤノン株式会社
定着装置
12日前
キヤノン株式会社
撮像装置
1か月前
キヤノン株式会社
記録装置
18日前
キヤノン株式会社
撮像装置
1か月前
キヤノン株式会社
記録装置
25日前
キヤノン株式会社
撮像装置
1か月前
キヤノン株式会社
定着装置
18日前
キヤノン株式会社
定着装置
18日前
キヤノン株式会社
撮像装置
12日前
キヤノン株式会社
表示装置
4日前
キヤノン株式会社
表示装置
4日前
キヤノン株式会社
撮像装置
4日前
キヤノン株式会社
定着装置
12日前
キヤノン株式会社
雲台装置
25日前
キヤノン株式会社
撮像装置
4日前
キヤノン株式会社
発光装置
4日前
キヤノン株式会社
電子機器
20日前
キヤノン株式会社
撮像装置
26日前
キヤノン株式会社
定着装置
18日前
キヤノン株式会社
撮像装置
6日前
キヤノン株式会社
測距装置
27日前
キヤノン株式会社
記録装置
1か月前
キヤノン株式会社
撮像装置
12日前
キヤノン株式会社
記録装置
25日前
キヤノン株式会社
撮像装置
25日前
キヤノン株式会社
表示装置
1か月前
キヤノン株式会社
表示装置
4日前
キヤノン株式会社
撮像装置
1か月前
キヤノン株式会社
撮像装置
20日前
キヤノン株式会社
電子機器
25日前
キヤノン株式会社
液体収容体
27日前
続きを見る
他の特許を見る