TOP
|
特許
|
意匠
|
商標
特許ウォッチ
Twitter
他の特許を見る
10個以上の画像は省略されています。
公開番号
2025163210
公報種別
公開特許公報(A)
公開日
2025-10-28
出願番号
2025131520,2021570010
出願日
2025-08-06,2020-12-24
発明の名称
圧電共振デバイス
出願人
京セラ株式会社
代理人
個人
,
個人
主分類
H03H
9/02 20060101AFI20251021BHJP(基本電子回路)
要約
【課題】圧電素子の共振周波数は、種々の要因に依存して変化し得る。
【解決手段】圧電共振デバイスは、第1の面1110を有する基板110と、第1の面上に位置する第1の接続導体と、第1の面上に位置し、第2の面(上面1500)と、第2の面上に位置する第2の接続導体151と、第2の面に露出しており第2の接続導体と電気的に接続される共振部153と、を有するMEMS素子150と、第1の接続導体と第2の接続導体とを電気的に接続する配線導体(ボンディングワイヤ181)と、を備える。第1の接続導体、第2の接続導体及び配線導体は、第1の面を上方から見た平面視で共振部の範囲を所定方向に延長した範囲の外側に位置している。
【選択図】図2B
特許請求の範囲
【請求項1】
第1の面を有する基体と、
前記第1の面上に位置する第1の接続導体と、
前記第1の面上に位置し、第2の面と、前記第2の面上に位置する第2の接続導体と、前記第2の面に露出しており前記第2の接続導体と電気的に接続される共振部と、を有するMEMS素子と、
前記第1の接続導体と前記第2の接続導体とを電気的に接続する配線導体と、
を備え、
前記第1の接続導体、前記第2の接続導体及び前記配線導体は、前記第1の面を上方から見た平面視で前記共振部の範囲を所定方向に延長した範囲の外側に位置している、
圧電共振デバイス。
続きを表示(約 1,100 文字)
【請求項2】
前記第2の接続導体は、前記第1の接続導体と前記共振部との間に位置している、
請求項1記載の圧電共振デバイス。
【請求項3】
前記第2の接続導体は、第1の接続部と第2の接続部とを異なる位置に有し、
前記第1の接続導体は、第3の接続部と第4の接続部とを異なる位置に有し、
前記配線導体は、前記第1の接続部と前記第3の接続部とを接続する第1の配線導体と、前記第2の接続部と前記第4の接続部とを接続する第2の配線導体と、を有し、
前記第1の接続部の所定の第1位置、及び前記第2の接続部の所定の第2位置を通る第1基準線と、前記所定の方向とは、平行である、
請求項1又は2記載の圧電共振デバイス。
【請求項4】
前記第3の接続部の所定の第3位置、及び前記第4の接続部の所定の第4位置を通る第2基準線と、前記所定方向とは、平行である、請求項3記載の圧電共振デバイス。
【請求項5】
前記MEMS素子は、前記共振部の中心が前記第1位置及び前記第2位置の中点と、前記第3位置及び前記第4位置の中点とを通る線上に位置する、請求項4記載の圧電共振デバイス。
【請求項6】
前記第1基準線と前記第2基準線との距離は、前記第2基準線と当該第2基準線に直交する方向における前記第1の面の縁までの距離よりも小さい、請求項5記載の圧電共振デバイス。
【請求項7】
前記第1の配線導体の前記第1の接続部及び前記第3の接続部との各接続位置の間の距離と、前記第2の配線導体の前記第2の接続部及び前記第4の接続部との各接続位置の間の距離は等しい、請求項3~6のいずれか一項に記載の圧電共振デバイス。
【請求項8】
前記第1位置及び前記第3の接続部の所定の第3位置を結ぶ線、並びに前記第2位置及び前記第4の接続部の所定の第4位置を結ぶ線は、前記所定方向とそれぞれ直交している、請求項3~7のいずれか一項に記載の圧電共振デバイス。
【請求項9】
前記所定方向は、前記共振部の長手方向に沿った方向、又は前記長手方向に垂直な方向である、請求項1~8のいずれか一項に記載の圧電共振デバイス。
【請求項10】
前記第1の面は、突起部を有し、
前記第1の接続導体は、前記突起部上に位置し、
前記第1の接続導体の表面と前記第2の接続導体の表面は、前記第1の面から同一の距離に位置する、
請求項1~9のいずれか一項に記載の圧電共振デバイス。
(【請求項11】以降は省略されています)
発明の詳細な説明
【技術分野】
【0001】
本開示は、圧電共振デバイスに関する。
続きを表示(約 2,400 文字)
【背景技術】
【0002】
圧電素子を共振周波数で振動させて信号を出力する圧電共振デバイスでは、近年、水晶に代えてシリコンなど半導体素子を用いたMEMS(Micro Electro Mechanical Systems)構造の素子(MEMS素子)を利用する技術がある。
【0003】
圧電素子の共振周波数は、種々の要因に依存して変化し得る。例えば、特許文献1に示すように、外部ノイズの影響を低減するシールドが適切に位置する圧電振動デバイスがある。
【先行技術文献】
【特許文献】
【0004】
特開2019-97105号公報
【発明の概要】
【課題を解決するための手段】
【0005】
本開示の一の態様は、
第1の面を有する基体と、
前記第1の面上に位置する第1の接続導体と、
前記第1の面上に位置し、第2の面と、前記第2の面上に位置する第2の接続導体と、前記第2の面に露出しており前記第2の接続導体と電気的に接続される共振部と、を有するMEMS素子と、
前記第1の接続導体と前記第2の接続導体とを電気的に接続する配線導体と、
を備え、
前記第1の接続導体、前記第2の接続導体及び前記配線導体は、前記第1の面を上方から見た平面視で前記共振部の範囲を所定方向に延長した範囲の外側に位置している、
圧電共振デバイスである。
【図面の簡単な説明】
【0006】
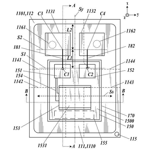
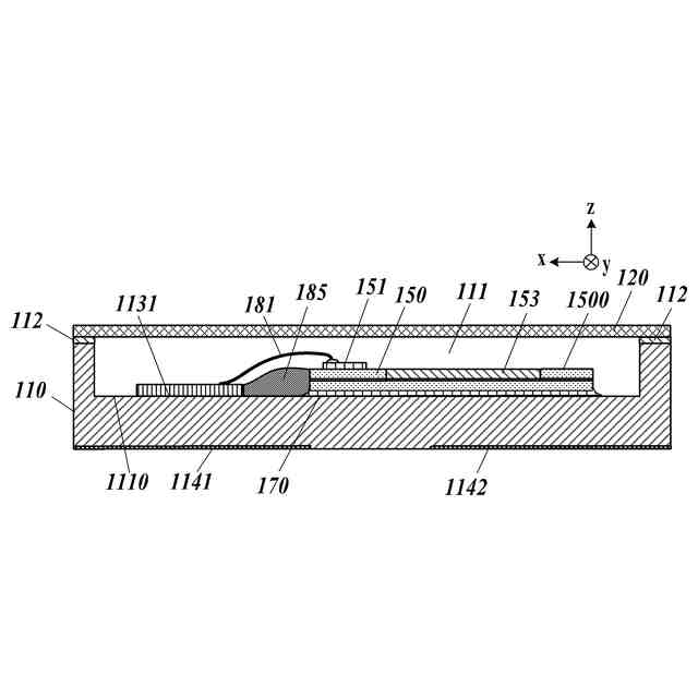
圧電共振デバイスを蓋体が外された状態で蓋体が接続される側を見た全体斜視図である。
圧電共振デバイスを蓋体が外された状態で蓋体が接続される側とは反対側を見た全体斜視図である。
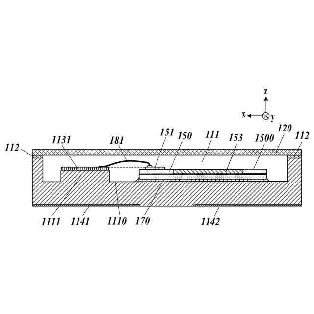
圧電共振デバイスの蓋体を外した状態での平面図である。
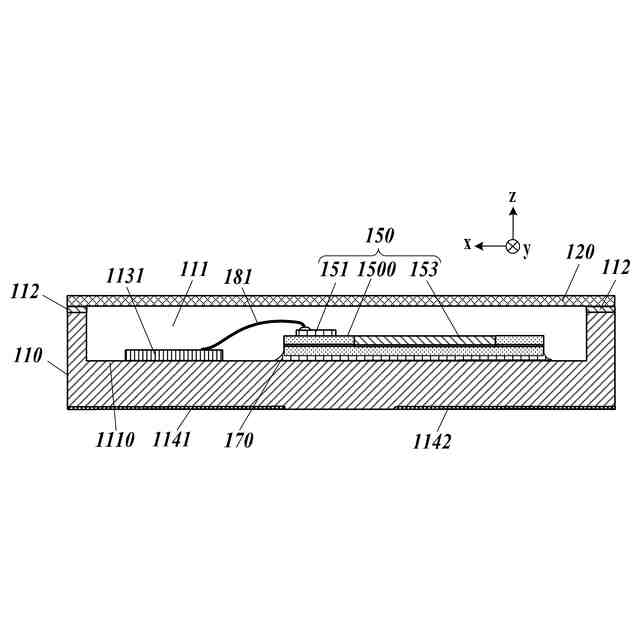
圧電共振デバイスの蓋体を外した状態での断面図である。
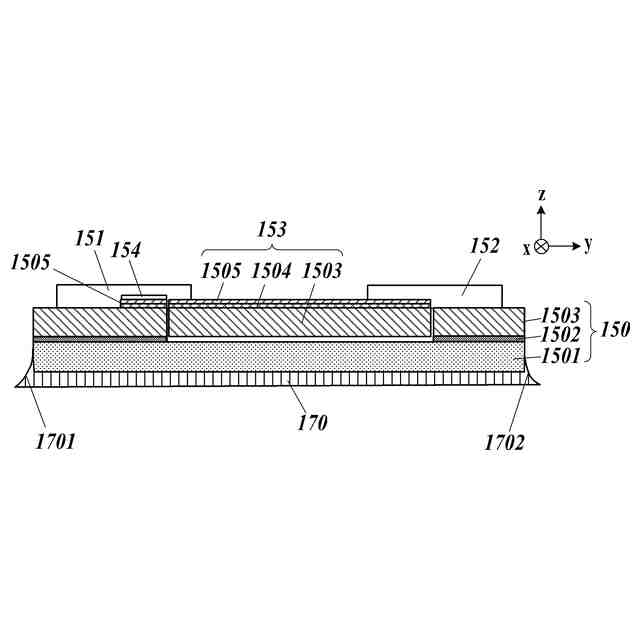
共振部を含むMEMS素子をより詳しく説明する断面図である。
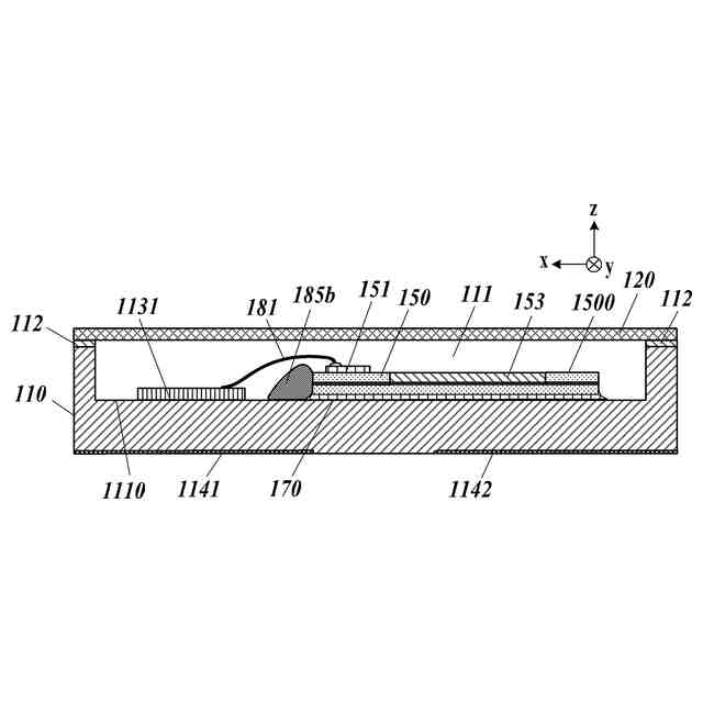
圧電共振デバイスの変形例1を示す断面図である。
圧電共振デバイスの変形例2を示す断面図である。
圧電共振デバイスの変形例3を示す断面図である。
圧電共振デバイスの変形例4を示す断面図である。
圧電共振デバイスの変形例5を示す断面図である。
圧電共振デバイスの変形例6において蓋体が外された状態を示す平面図である。
圧電共振デバイスの変形例7を蓋体が外された状態で見た全体斜視図である。
【発明を実施するための形態】
【0007】
以下、実施の形態を図面に基づいて説明する。
図1A及び図1Bは、本実施形態の圧電共振デバイス1を蓋体120が外された状態で見た全体斜視図である。図1Aは蓋体120が接合される側の面を見た図であり、図1Bは蓋体120が接合される側とは反対側の面を見た図である。
【0008】
圧電共振デバイス1は、基体100と、MEMS素子150などを有する。基体100は、基板110と、蓋体120などを有する。基板110は、枠部1101と、基部1102とに分けられ、収容部111と、スルーホール115などを有する。また、基板110に接合して、枠状メタライズ層112と、電極パッド113と、外部接続パッド114などが位置している。収容部111は、蓋体120が接合される側の一の面、すなわち、z方向について上方側の面に位置する凹状の領域である。MEMS素子150は、収容部111内に位置している。枠部1101は、収容部111のうち上方側の開放面、及び当該開放面とは反対側の面であるMEMS素子150の載置面1110(第1の面)以外の側面、すなわち、開放面と載置面1110との間をつなぐ各面であって、ここでは、それぞれz方向に平行となる面をなす。基部1102は、基板110において収容部111及び枠部1101以外のこれらより下方すなわち-z方向の部分であり、上記載置面1110を含む。枠部1101の蓋体120との接合面(開放面側の端面)には、枠状に、導体層である枠状メタライズ層112が位置する。枠状メタライズ層112は、銀ろうなどの封止材を介して蓋体120と接合している。特に限定するものではないが、ここでは、この基板110のサイズは、xy面内で一辺が0.6~10.0mm程度であり、z方向についての厚みが0.2~2.0mm程度である。ここでは、x方向を基体100の長手方向としている。
【0009】
電極パッド113(第1の接続導体)は、収容部111の載置面1110上に一対がy方向に並んで位置している。電極パッド113は、例えば、それぞれ平面視で同一サイズ同一向きの方形である。電極パッド113は、外部接続パッド114、例えば、外部接続パッド1141、1144とそれぞれ接続している。電極パッド113は、例えば、載置面1110上に金薄膜層などがめっきなどにより形成されたものである。あるいは、電極パッド113は、スクリーン印刷などにより載置面から凸状に形成されたものであってもよい。
【0010】
外部接続パッド114は、外部、例えば、モジュール用基板などに接合される外部電極である。ここでは、外部接続パッド114は、基部1102の載置面1110とは反対側である基板底面の4隅にそれぞれ位置している。外部接続パッド114は、その必要数が4より少ない場合には、適宜省略されてよい。MEMS素子150と接続している外部接続パッド114は、例えば、駆動回路に接続されていて、MEMS素子150に所定の周波数の電圧信号を印加することで、発振子とされてもよい。
(【0011】以降は省略されています)
この特許をJ-PlatPat(特許庁公式サイト)で参照する
関連特許
他の特許を見る