TOP
|
特許
|
意匠
|
商標
特許ウォッチ
Twitter
他の特許を見る
10個以上の画像は省略されています。
公開番号
2025166099
公報種別
公開特許公報(A)
公開日
2025-11-05
出願番号
2025132670,2023502183
出願日
2025-08-07,2022-01-25
発明の名称
判定システム、判定システムの制御方法、および制御プログラム
出願人
京セラ株式会社
代理人
弁理士法人 HARAKENZO WORLD PATENT & TRADEMARK
主分類
G16H
30/00 20180101AFI20251028BHJP(特定の用途分野に特に適合した情報通信技術)
要約
【課題】人体の対象部位の現在または将来の状態に関する判定結果を提示する判定システムおよび制御プログラムを提供する。
【解決手段】判定システムは、対象者の身体の対象部位が写る対象画像を取得する対象画像取得部と、対象画像から前記対象部位の疾患に関する第1判定情報を生成する第1生成部211と、対象画像から前記対象者の身体の状態に関連する特徴を示す特徴情報を生成する第2生成部311と、第1判定情報が生成される過程で着目された着目領域の位置を示す着目領域情報を生成する第3生成部212と、を備える。特徴情報は、対象画像から検出された各特徴に関する識別情報および対象画像における各特徴の位置を示す位置情報を含む。第2生成部は、対象部位の疾患を有する複数の患者の各々の該対象部位が写っている患者画像を教師データとして用いて学習された第2ニューラルネットワークを、特徴情報を生成する特徴生成モデルとして有する。
【選択図】図2
特許請求の範囲
【請求項1】
対象者の身体の対象部位が写る対象画像を取得する対象画像取得部と、
前記対象画像から前記対象部位の疾患に関する第1判定情報を生成する第1生成部と、
前記対象画像から前記対象者の身体の状態に関連する特徴を示す特徴情報を生成する第2生成部と、
前記第1判定情報が生成される過程で着目された着目領域の位置を示す着目領域情報を生成する第3生成部と、
を備え、
前記特徴情報は、前記対象画像から検出された各特徴に関する識別情報、および、前記対象画像における前記各特徴の位置を示す位置情報を含み、
前記第2生成部は、対象部位の疾患を有する複数の患者の各々の該対象部位が写っている患者画像を教師データとして用いて学習された第2ニューラルネットワークを、前記特徴情報を生成する特徴生成モデルとして有し、
前記患者画像は、該患者画像から検出された各特徴に関する識別情報と各特徴の前記患者画像における位置を示す位置情報とが関連付けられている、
判定システム。
続きを表示(約 1,000 文字)
【請求項2】
前記第3生成部は、特徴マップに基づいて前記着目領域情報を生成する、
請求項1に記載の判定システム。
【請求項3】
前記第3生成部は、前記対象画像のピクセル毎に前記第1判定情報への影響の程度を評価する、
請求項1または2に記載の判定システム。
【請求項4】
前記第1判定情報、前記特徴情報、および前記着目領域情報を取得して、前記第1判定情報、前記特徴情報、および前記着目領域情報を表示装置に表示させる表示制御部をさらに備える、
請求項1から3のいずれか1項に記載の判定システム。
【請求項5】
前記対象画像の一部領域である、前記第1判定情報に関連する着目領域を示す着目領域情報が示す着目領域を前記対象画像に重畳した着目画像を生成する着目画像生成部をさらに備え、
前記表示制御部は、前記着目画像を前記表示装置に表示させる、
請求項4に記載の判定システム。
【請求項6】
前記特徴情報を前記対象画像に重畳した第1特徴画像、および、前記特徴情報と前記着目領域情報とを前記対象画像に重畳した第2特徴画像のうち少なくともいずれかを生成する特徴画像生成部をさらに備え、
前記表示制御部は、前記第1特徴画像および前記第2特徴画像のうち少なくともいずれかを前記表示装置に表示させる、
請求項5に記載の判定システム。
【請求項7】
前記表示制御部は、前記着目画像と、前記第2特徴画像と、を前記表示装置に並べて表示させる、
請求項6に記載の判定システム。
【請求項8】
前記表示制御部は、(1)前記第1判定情報、(2)前記対象画像の一部領域である、前記第1判定情報に関連する着目領域を示す着目領域情報、および(3)前記特徴情報を前記表示装置に同時に表示させる、
請求項4から7のいずれか1項に記載の判定システム。
【請求項9】
前記第1判定情報は、前記対象者が疾患を有するか否かに関する診断結果を含む診断情報である、
請求項1から8のいずれか1項に記載の判定システム。
【請求項10】
前記第1生成部は、前記対象者の前記対象画像を用いて、該対象者の対象部位の状態を示す前記第1判定情報を生成可能な判定情報生成モデルを有している、
請求項1から9のいずれか1項に記載の判定システム。
(【請求項11】以降は省略されています)
発明の詳細な説明
【技術分野】
【0001】
本開示は、人体の対象部位の現在または将来の状態に関する判定結果を提示する判定システム、判定システムの制御方法、および制御プログラムに関する。
続きを表示(約 2,300 文字)
【背景技術】
【0002】
特許文献1に記載されているように、人工知能(AI)に現在や将来の事象を判定させる技術が考案されている。
【先行技術文献】
【特許文献】
【0003】
日本国特開2008-36068号公報
【非特許文献】
【0004】
Selvaraju et al.,「Grad-CAM: Visual Explanations from Deep Networks via Gradient-based Localization」,arXiv:1610.02391v4[cs.CV], 2019.
【発明の概要】
【0005】
本開示の一態様に係る判定システムは、対象者の身体の対象部位が写る対象画像を取得する対象画像取得部と、前記対象画像から前記対象部位の疾患に関する第1判定情報を生成する第1生成部と、前記対象画像から前記対象者の身体の状態に関連する特徴を示す特徴情報を生成する第2生成部と、前記第1判定情報が生成される過程で着目された着目領域の位置を示す着目領域情報を生成する第3生成部と、を備え、前記特徴情報は、前記対象画像から検出された各特徴に関する識別情報、および、前記対象画像における前記各特徴の位置を示す位置情報を含み、前記第2生成部は、対象部位の疾患を有する複数の患者の各々の該対象部位が写っている患者画像を教師データとして用いて学習された第2ニューラルネットワークを、前記特徴情報を生成する特徴生成モデルとして有し、前記患者画像は、該患者画像から検出された各特徴に関する識別情報と各特徴の前記患者画像における位置を示す位置情報とが関連付けられている。
【0006】
本開示の一態様に係る判定システムの制御方法は、対象者の身体の対象部位が写る対象画像を取得する対象画像取得ステップと、前記対象画像から前記対象部位の疾患に関する第1判定情報を生成する第1生成ステップと、前記対象画像から前記対象者の身体の状態に関連する特徴を示す特徴情報を生成する第2生成ステップと、前記第1判定情報が生成される過程で着目された着目領域の位置を示す着目領域情報を生成する第3生成ステップと、を含み、前記特徴情報は、前記対象画像から検出された各特徴に関する識別情報、および、前記対象画像における前記各特徴の位置を示す位置情報を含み、前記第2生成ステップにおいて、対象部位の疾患を有する複数の患者の各々の該対象部位が写っている患者画像を教師データとして用いて学習された第2ニューラルネットワークを、前記特徴情報を生成する特徴生成モデルとして用い、前記患者画像は、該患者画像から検出された各特徴に関する識別情報と各特徴の前記患者画像における位置を示す位置情報とが関連付けられている。
【0007】
本開示の各態様に係る判定システムは、コンピュータによって実現してもよく、この場合には、コンピュータを前記判定システムに含まれる装置が備える各部(ソフトウェア要素)として動作させることにより前記判定システムをコンピュータにて実現させる判定システムの制御プログラム、およびそれを記録したコンピュータ読み取り可能な記録媒体も、本開示の範疇に入る。
【図面の簡単な説明】
【0008】
本開示の一態様に係る判定システムの構成の一例を示すブロック図である。
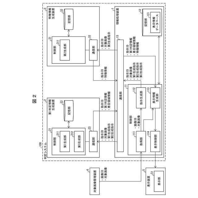
判定システムの構成の一例を示す機能ブロック図である。
表示情報データベースのデータ構造の一例を示す図である。
対象者の肺が写っている対象画像から生成される第1判定情報の例を示す図である。
対象者の膝関節が写っている対象画像から生成される第1判定情報の例を示す図である。
判定システムの情報処理装置が実行する処理の流れの一例を示すフローチャートである。
表示画面の一例を示す図である。
表示画面の一例を示す図である。
表示画面の一例を示す図である。
表示画面の一例を示す図である。
表示画面の一例を示す図である。
表示画面の一例を示す図である。
表示画面の一例を示す図である。
表示画面の一例を示す図である。
判定システムが実行する処理の流れの別の一例を示すフローチャートである。
判定システムの構成の一例を示す機能ブロック図である。
表示情報データベースのデータ構造の一例を示す図である。
判定システムの構成の一例を示す機能ブロック図である。
判定システムの構成の一例を示す機能ブロック図である。
表示情報データベースのデータ構造の一例を示す図である。
表示画面の一例を示す図である。
表示画面の一例を示す図である。
判定システムの構成の一例を示す機能ブロック図である。
本開示の一態様に係る判定システムの構成の一例を示すブロック図である。
【発明を実施するための形態】
【0009】
〔実施形態1〕
以下、本開示の一実施形態について、詳細に説明する。
【0010】
(判定システム100の概要)
本開示の一態様に係る判定システム100は、対象者の身体の対象部位が写っている対象画像を取得して、対象画像から対象部位の状態を示す第1判定情報を生成する。また、判定システム100は、第1判定情報の生成に用いた対象画像から対象者の身体の状態に関連する特徴を示す特徴情報を生成する。
(【0011】以降は省略されています)
この特許をJ-PlatPat(特許庁公式サイト)で参照する
関連特許
株式会社タカゾノ
薬剤秤量装置
7日前
株式会社イシダ
受付端末装置
8日前
個人
ゲノム配列の類似性評価の方式、ソフトウェア、システム、装置
13日前
PHB Design株式会社
一包化薬剤監査支援システム
9日前
株式会社イシダ
院内用書込装置及び受付端末装置
8日前
日本電気株式会社
健康管理装置、健康管理方法及びプログラム
9日前
日本電気株式会社
行動推奨装置、行動推奨方法及びプログラム
14日前
パナソニックIPマネジメント株式会社
健康レベル算出システム
8日前
株式会社日本総合研究所
情報処理方法、プログラム及び情報処理装置
7日前
パラマウントベッド株式会社
情報処理装置及びプログラム
1日前
株式会社ブルーブックス
医療データ提供システムおよび医療データ提供方法
8日前
株式会社DeaLive
患者支援装置および患者支援方法
10日前
ポーラ化成工業株式会社
健康状態判定装置及び健康状態判定方法
10日前
富士フイルム株式会社
医療業務支援装置、方法およびプログラム
13日前
株式会社ダイセル
推奨量出力システム、推奨量出力方法及びプログラム
7日前
株式会社ダイセル
推奨量出力システム、推奨量出力方法及びプログラム
7日前
富士通株式会社
情報出力プログラム、情報出力方法及び情報処理装置
14日前
住友ゴム工業株式会社
高分子材料モデルの作成方法及びシミュレーション方法
1日前
株式会社日立製作所
計算機システム及び予測モデルの学習方法
8日前
パラマウントベッド株式会社
情報処理システム及び制御方法
2日前
株式会社FEMSHIN
PMSレベル表示プログラム及び当該プログラムを用いた情報処理装置
9日前
住友ベークライト株式会社
推定方法、モデル生成方法、推定装置、モデル生成装置、およびプログラム
8日前
パラマウントベッド株式会社
情報処理システム及び情報処理方法
2日前
個人
オンコール伝達システム、オンコール伝達方法及びプログラム
7日前
ユニ・チャーム株式会社
情報処理プログラム、情報処理装置及び情報処理方法
2日前
株式会社日立製作所
情報処理システム、情報処理方法およびプログラム
14日前
株式会社新成堂ホールディングス
予約管理装置、予約管理システム、予約管理方法及び予約管理プログラム
7日前
JFEスチール株式会社
原子モデル生成方法、プログラム、材料設計支援方法及び材料設計方法
10日前
株式会社HITOWA
提供可否判定システム、提供可否判定方法、及び提供可否判定プログラム
8日前
コニカミノルタジャパン株式会社
線量管理装置、プログラム、線量管理システム及び線量管理方法
13日前
富士フイルム株式会社
情報処理装置、情報処理装置の作動方法、および情報処理装置の作動プログラム
9日前
株式会社Preferred Networks
情報処理装置、情報処理方法および情報処理プログラム
2日前
ケアフュージョン 303、インコーポレイテッド
流用検知システム
1日前
フラティロン ヘルス,インコーポレイテッド
汎用バイオマーカモデル
15日前
アクシスルートホールディングス株式会社
来局通知システム、来局通知システムの来局通知方法、来局通知プログラム、及び記録媒体
7日前
イルミナ インコーポレイテッド
ベースコールのための等化器ベースの強度補正
9日前
続きを見る
他の特許を見る