TOP
|
特許
|
意匠
|
商標
特許ウォッチ
Twitter
他の特許を見る
10個以上の画像は省略されています。
公開番号
2025172614
公報種別
公開特許公報(A)
公開日
2025-11-26
出願番号
2024078219
出願日
2024-05-13
発明の名称
電気化学反応装置の製造方法及び電気化学反応装置
出願人
株式会社デンソー
代理人
弁理士法人あいち国際特許事務所
主分類
C25B
9/00 20210101AFI20251118BHJP(電気分解または電気泳動方法;そのための装置)
要約
【課題】製造コストを低減することができる、電気化学反応装置の製造方法及び電気化学反応装置を提供すること。
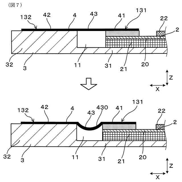
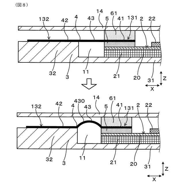
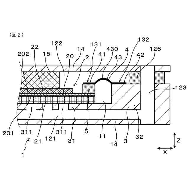
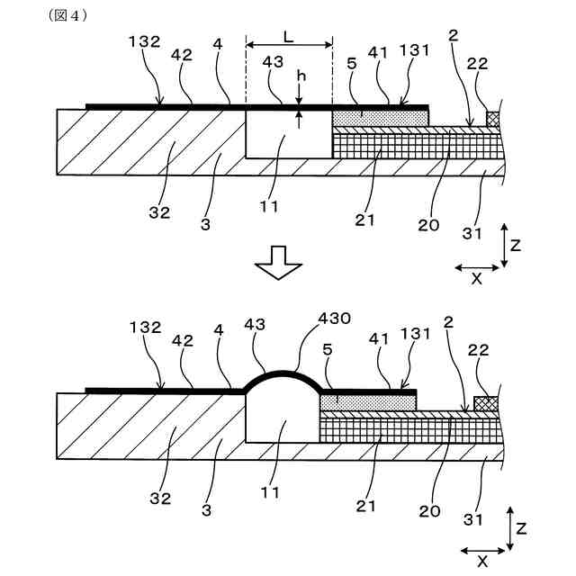
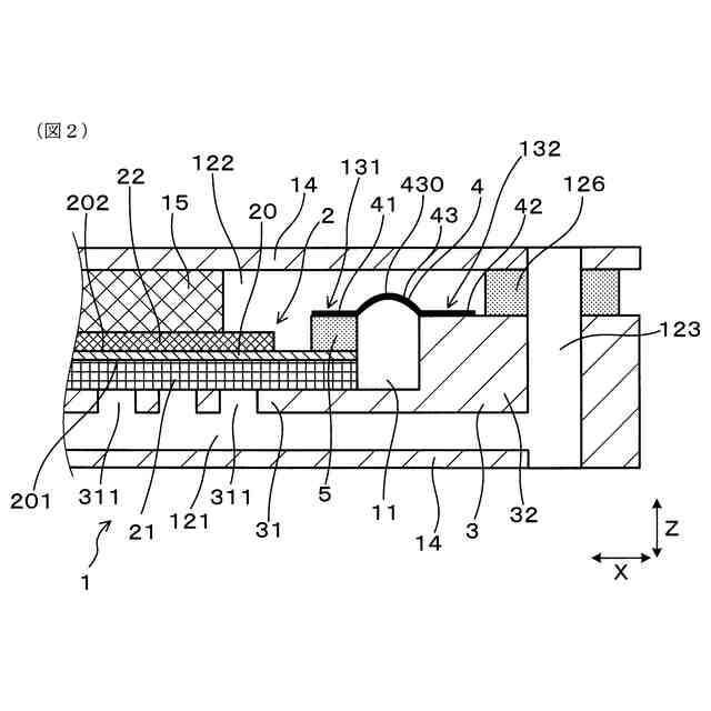
【解決手段】電解質層20と第1電極21と第2電極22とを有する電気化学セル2と、支持部31と枠本体部32とを有するフレーム3と、第2空間122と外周空隙11とを気密分離する封止板4と、を有する電気化学反応装置1を、製造する方法。封止板4は、外周板部42と内周板部41と連結部43とを有する。連結部43は、電解質層20の法線方向Zに凸の状態で撓んだ撓み部430を有する。撓み部430を形成するにあたっては、電気化学セル2とフレーム3とに、撓み部430が形成される前の封止板4を固定した後、電気化学セル2とフレーム3と封止板4との少なくとも一つの体積変化を生じさせることにより、連結部43を座屈させて撓み部430を形成する座屈工程を行う。
【選択図】図2
特許請求の範囲
【請求項1】
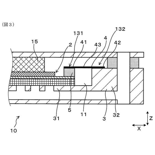
電解質層(20)と、前記電解質層における第1面(201)に設けた第1電極(21)と、前記電解質層における前記第1面と反対側の第2面(202)に設けた第2電極(22)と、を有する電気化学セル(2)と、
前記電気化学セルを前記第1面側から支持する支持部(31)と、前記電気化学セルの外周端縁との間に外周空隙(11)を設けつつ囲むように配置された枠本体部(32)と、を有する、フレーム(3)と、
前記第2電極に面する第2空間(122)と、前記外周空隙とを気密分離する封止板(4)と、を有する、電気化学反応装置(1)を、製造する方法であって、
前記封止板は、前記枠本体部と接合される外周板部(42)と、前記電気化学セルと接合される内周板部(41)と、前記外周板部と前記内周板部との間を連結する連結部(43)とを有し、
前記連結部は、前記電解質層の法線方向(Z)に凸の状態で撓んだ撓み部(430)を有し、
前記撓み部を形成するにあたっては、
前記電気化学セルと前記フレームとに、前記撓み部が形成される前の前記封止板を固定した後、
前記電気化学セルと前記フレームと前記封止板との少なくとも一つの体積変化を生じさせることにより、前記連結部を座屈させて前記撓み部を形成する座屈工程を行う、電気化学反応装置の製造方法。
続きを表示(約 1,500 文字)
【請求項2】
前記座屈工程は、前記電気化学セル及び前記フレームを、所定の温度プロファイルにて昇降温させることにより、前記内周板部と前記外周板部との間の距離を縮めることで、前記連結部を座屈させる、請求項1に記載の電気化学反応装置の製造方法。
【請求項3】
前記座屈工程は、前記電気化学セルを還元処理して前記電気化学セルを還元膨張させることにより、前記内周板部と前記外周板部との間の距離を縮めることで、前記連結部を座屈させる、請求項1又は2に記載の電気化学反応装置の製造方法。
【請求項4】
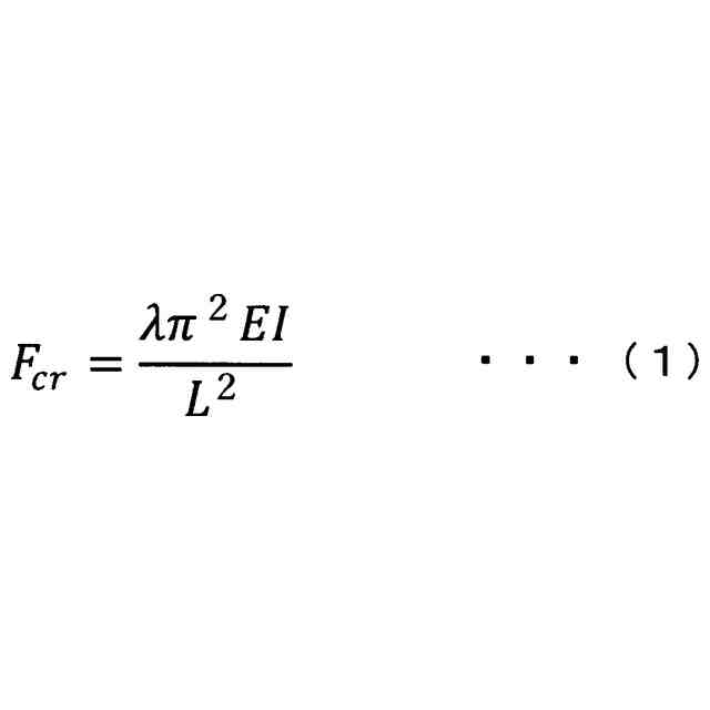
前記座屈工程において前記連結部に作用する、前記電気化学セルと前記フレームと前記封止板との少なくとも一つの体積変化に伴って前記連結部に作用する力(F)よりも、前記連結部の座屈応力(Fcr)が小さく、前記連結部の座屈応力は、前記連結部の長さ(L)及び曲げ剛性(EI)をパラメータとして含む、所定の座屈関係式に基づいて導かれる、請求項1又は2に記載の電気化学反応装置の製造方法。
【請求項5】
前記内周板部と前記電気化学セルとの間には、両者の間をシールする内周シール部(5)を介在させる、請求項1又は2に記載の電気化学反応装置の製造方法。
【請求項6】
前記内周板部を前記内周シール部側へ向かって押さえる内周押さえ部(61)を設ける、請求項5に記載の電気化学反応装置の製造方法。
【請求項7】
前記撓み部は前記外周空隙側に突出しており、前記撓み部を前記外周空隙側へ向かって押さえる撓み押さえ部(62)を設ける、請求項1又は2に記載の電気化学反応装置の製造方法。
【請求項8】
電解質層(20)と、前記電解質層における第1面(201)に設けた第1電極(21)と、前記電解質層における前記第1面と反対側の第2面(202)に設けた第2電極(22)と、を有する電気化学セル(2)と、
前記電気化学セルを前記第1面側から支持する支持部(31)と、前記電気化学セルの外周端縁との間に外周空隙(11)を設けつつ囲むように配置された枠本体部(32)と、を有する、フレーム(3)と、
前記第2電極に面する第2空間(122)と、前記外周空隙とを気密分離する封止板(4)と、を有する、電気化学反応装置(1)であって、
前記封止板は、前記枠本体部と接合される外周板部(42)と、前記電気化学セルと接合される内周板部(41)と、前記外周板部と前記内周板部との間を連結する連結部(43)とを有し、
前記連結部は、前記電解質層の法線方向に凸の状態で撓んだ撓み部(430)を有し、
前記電気化学セルの昇降温処理時及び還元処理時の少なくとも一方において生じる、前記電気化学セルと前記フレームと前記封止板との少なくとも一つの体積変化に伴って前記連結部に作用する力(F)よりも、前記連結部の座屈応力(Fcr)が小さく、
前記連結部の座屈応力は、前記連結部の長さ(L)及び曲げ剛性(EI)をパラメータとして含む、所定の座屈関係式に基づいて導かれる、電気化学反応装置。
【請求項9】
前記内周板部と前記電気化学セルとの間には、両者の間をシールする内周シール部(5)が介在している、請求項8に記載の電気化学反応装置。
【請求項10】
前記内周板部を前記内周シール部側へ向かって押さえる内周押さえ部(61)が設けてある、請求項9に記載の電気化学反応装置。
(【請求項11】以降は省略されています)
発明の詳細な説明
【技術分野】
【0001】
本発明は、電気化学反応装置の製造方法及び電気化学反応装置に関する。
続きを表示(約 2,400 文字)
【背景技術】
【0002】
燃料電池装置、水素生成装置等、電気化学セルを備えた電気化学反応装置が種々提案されている。特許文献1には、燃料電池スタックにおいて、単セル(以下において「電気化学セル」ともいう)にガラスシール部を介して接合されたセパレータ(以下において「封止板」ともいう)を有する構成が記載されている。封止板は、電気化学セルとその外周に配置されたフレームとの間に連結されている。そして、封止板と電気化学セルとの接合部(具体的には、ガラスシール部)に生じる応力を緩和すべく、封止板に撓み部を設けてある。
【先行技術文献】
【特許文献】
【0003】
特許第6442364号公報
【発明の概要】
【発明が解決しようとする課題】
【0004】
しかしながら、封止板に撓み部を設けるために、プレス加工、切削等を行うことは、工数の増加につながり、製造コストの増加を招くこととなる。
【0005】
本発明は、かかる課題に鑑みてなされたものであり、製造コストを低減することができる、電気化学反応装置の製造方法及び電気化学反応装置を提供しようとするものである。
【課題を解決するための手段】
【0006】
本発明の一態様は、
電解質層(20)と、前記電解質層における第1面(201)に設けた第1電極(21)と、前記電解質層における前記第1面と反対側の第2面(202)に設けた第2電極(22)と、を有する電気化学セル(2)と、
前記電気化学セルを前記第1面側から支持する支持部(31)と、前記電気化学セルの外周端縁との間に外周空隙(11)を設けつつ囲むように配置された枠本体部(32)と、を有する、フレーム(3)と、
前記第2電極に面する第2空間(122)と、前記外周空隙とを気密分離する封止板(4)と、を有する、電気化学反応装置(1)を、製造する方法であって、
前記封止板は、前記枠本体部と接合される外周板部(42)と、前記電気化学セルと接合される内周板部(41)と、前記外周板部と前記内周板部との間を連結する連結部(43)とを有し、
前記連結部は、前記電解質層の法線方向(Z)に凸の状態で撓んだ撓み部(430)を有し、
前記撓み部を形成するにあたっては、
前記電気化学セルと前記フレームとに、前記撓み部が形成される前の前記封止板を固定した後、
前記電気化学セルと前記フレームと前記封止板との少なくとも一つの体積変化を生じさせることにより、前記連結部を座屈させて前記撓み部を形成する座屈工程を行う、電気化学反応装置の製造方法にある。
【0007】
本発明の他の態様は、
電解質層(20)と、前記電解質層における第1面(201)に設けた第1電極(21)と、前記電解質層における前記第1面と反対側の第2面(202)に設けた第2電極(22)と、を有する電気化学セル(2)と、
前記電気化学セルを前記第1面側から支持する支持部(31)と、前記電気化学セルの外周端縁との間に外周空隙(11)を設けつつ囲むように配置された枠本体部(32)と、を有する、フレーム(3)と、
前記第2電極に面する第2空間(122)と、前記外周空隙とを気密分離する封止板(4)と、を有する、電気化学反応装置(1)であって、
前記封止板は、前記枠本体部と接合される外周板部(42)と、前記電気化学セルと接合される内周板部(41)と、前記外周板部と前記内周板部との間を連結する連結部(43)とを有し、
前記連結部は、前記電解質層の法線方向に凸の状態で撓んだ撓み部(430)を有し、
前記電気化学セルの昇降温処理時及び還元処理時の少なくとも一方において生じる、前記電気化学セルと前記フレームと前記封止板との少なくとも一つの体積変化に伴って前記連結部に作用する力(F)よりも、前記連結部の座屈応力(Fcr)が小さく、
前記連結部の座屈応力は、前記連結部の長さ(L)及び曲げ剛性(EI)をパラメータとして含む、所定の座屈関係式に基づいて導かれる、電気化学反応装置にある。
【発明の効果】
【0008】
上記電気化学反応装置の製造方法は、前記電気化学セルと前記フレームと前記封止板との少なくとも一つの体積変化を生じさせることにより、前記連結部を座屈させて前記撓み部を形成する。これにより、直接的に連結部を加工することなく、撓み部を形成することができる。そのため、製造コストを低減することができる。
【0009】
上記電気化学反応装置においては、電気化学セルの昇降温処理時及び還元処理時の少なくとも一方において生じる、電気化学セルとフレームと封止板との少なくとも一つの体積変化に伴って前記連結部に作用する力よりも、連結部の座屈応力が低い。そのため、電気化学セルの昇降温処理時及び還元処理時に、撓み部を形成することができる。それゆえ、直接的に連結部を加工することなく、撓み部を形成することができる。そのため、製造コストを低減することができる。
【0010】
以上のごとく、上記態様によれば、製造コストを低減することができる、電気化学反応装置の製造方法及び電気化学反応装置を提供することができる。
なお、特許請求の範囲及び課題を解決する手段に記載した括弧内の符号は、後述する実施形態に記載の具体的手段との対応関係を示すものであり、本発明の技術的範囲を限定するものではない。
【図面の簡単な説明】
(【0011】以降は省略されています)
この特許をJ-PlatPat(特許庁公式サイト)で参照する
関連特許
株式会社デンソー
端子台
5日前
株式会社デンソー
回転機
1か月前
株式会社デンソー
分離体
11日前
株式会社デンソー
電動機
3日前
株式会社デンソー
電動弁
25日前
株式会社デンソー
光学部材
11日前
株式会社デンソー
制御装置
27日前
株式会社デンソー
電気回路
19日前
株式会社デンソー
撮像装置
24日前
株式会社デンソー
光学部材
11日前
株式会社デンソー
電子装置
25日前
株式会社デンソー
電解装置
26日前
株式会社デンソー
撮像装置
24日前
株式会社デンソー
検出装置
1か月前
株式会社デンソー
トランス
3日前
株式会社デンソー
電子装置
1か月前
株式会社デンソー
摺動機構
24日前
株式会社デンソー
光学部材
3日前
株式会社デンソー
摺動機構
24日前
株式会社デンソー
熱交換器
24日前
株式会社デンソー
電子装置
3日前
株式会社デンソー
センサ装置
1か月前
株式会社デンソー
半導体装置
1か月前
株式会社デンソー
センサ装置
1か月前
株式会社デンソー
半導体装置
26日前
株式会社デンソー
半導体装置
11日前
株式会社デンソー
半導体装置
1か月前
株式会社デンソートリム
鞍乗り車両
1か月前
株式会社デンソー
ヒータ装置
1か月前
株式会社デンソー
熱交換装置
1か月前
株式会社デンソー
熱交換部材
26日前
株式会社デンソー
電磁継電器
3日前
株式会社デンソー
半導体装置
24日前
株式会社デンソー
電流センサ
1か月前
株式会社デンソーテン
車載表示装置
24日前
株式会社デンソー
電気化学セル
24日前
続きを見る
他の特許を見る