TOP
|
特許
|
意匠
|
商標
特許ウォッチ
Twitter
他の特許を見る
公開番号
2025174469
公報種別
公開特許公報(A)
公開日
2025-11-28
出願番号
2024080867
出願日
2024-05-17
発明の名称
基板処理方法及び基板処理装置
出願人
東京エレクトロン株式会社
代理人
個人
,
個人
主分類
H01L
21/3065 20060101AFI20251120BHJP(基本的電気素子)
要約
【課題】窒化膜に対する酸化膜のエッチング選択比を調整できる技術を提供する。
【解決手段】本開示の一態様による基板処理方法は、(a)窒化膜が形成された第1領域と酸化膜が形成された第2領域とを有する基板を準備する工程と、(b)水素ガスと酸素ガスを含む第1処理ガスから生成されるプラズマに前記基板を晒す工程と、(c)フッ素含有ガスと塩基性ガスを含む第2処理ガスを前記基板に供給する工程と、(d)前記工程(b)と前記工程(c)とをこの順番で第1回数行う工程と、(e)前記工程(d)の後に前記基板を熱処理する工程と、を有する。
【選択図】図1
特許請求の範囲
【請求項1】
(a)窒化膜が形成された第1領域と酸化膜が形成された第2領域とを有する基板を準備する工程と、
(b)水素ガスと酸素ガスを含む第1処理ガスから生成されるプラズマに前記基板を晒す工程と、
(c)フッ素含有ガスと塩基性ガスを含む第2処理ガスを前記基板に供給する工程と、
(d)前記工程(b)と前記工程(c)とをこの順番で第1回数行う工程と、
(e)前記工程(d)の後に前記基板を熱処理する工程と、
を有する、基板処理方法。
続きを表示(約 890 文字)
【請求項2】
前記工程(b)は、前記窒化膜の表層を酸化させて酸化層を形成することを含む、
請求項1に記載の基板処理方法。
【請求項3】
前記工程(c)は、前記酸化層を反応生成物に変質させることを含み、
前記工程(e)は、前記反応生成物を昇華させて除去することを含む、
請求項2に記載の基板処理方法。
【請求項4】
前記工程(b)は、前記酸化膜を改質して改質層を形成することを含む、
請求項1乃至3のいずれか一項に記載の基板処理方法。
【請求項5】
前記工程(b)は、前記窒化膜に対する前記酸化膜のエッチング選択比が所与の範囲内となるように、前記水素ガスと前記酸素ガスの流量比を調整することを含む、
請求項1乃至3のいずれか一項に記載の基板処理方法。
【請求項6】
前記工程(d)は、前記窒化膜に対する前記酸化膜のエッチング選択比が所与の範囲内となるように、前記第1回数を調整することを含む、
請求項1乃至3のいずれか一項に記載の基板処理方法。
【請求項7】
前記工程(b)は、前記基板の温度を第1温度に維持することを含み、
前記工程(c)は、前記基板の温度を第2温度に維持することを含み、
前記第2温度は、前記第1温度と同じ温度である、
請求項1乃至3のいずれか一項に記載の基板処理方法。
【請求項8】
前記工程(e)は、前記基板の温度を第3温度に維持することを含み、
前記第3温度は、前記第2温度よりも高い温度である、
請求項7に記載の基板処理方法。
【請求項9】
前記工程(c)は、前記工程(b)と同じ処理容器内で行われる、
請求項1乃至3のいずれか一項に記載の基板処理方法。
【請求項10】
前記窒化膜は、SiN膜、SiCN膜又はBN膜である、
請求項1乃至3のいずれか一項に記載の基板処理方法。
(【請求項11】以降は省略されています)
発明の詳細な説明
【技術分野】
【0001】
本開示は、基板処理方法及び基板処理装置に関する。
続きを表示(約 1,400 文字)
【背景技術】
【0002】
基板の表面に形成されたSiCN膜に水素ガス及び酸素ガスを供給してSiCN膜の表層を酸化させて酸化膜を形成した後に、酸化膜をエッチングして除去する技術が開示されている(例えば、特許文献1参照)。
【先行技術文献】
【特許文献】
【0003】
特開2023-179001号公報
【発明の概要】
【発明が解決しようとする課題】
【0004】
本開示は、窒化膜に対する酸化膜のエッチング選択比を調整できる技術を提供する。
【課題を解決するための手段】
【0005】
本開示の一態様による基板処理方法は、(a)窒化膜が形成された第1領域と酸化膜が形成された第2領域とを有する基板を準備する工程と、(b)水素ガスと酸素ガスを含む第1処理ガスから生成されるプラズマに前記基板を晒す工程と、(c)フッ素含有ガスと塩基性ガスを含む第2処理ガスを前記基板に供給する工程と、(d)前記工程(b)と前記工程(c)とをこの順番で第1回数行う工程と、(e)前記工程(d)の後に前記基板を熱処理する工程と、を有する。
【発明の効果】
【0006】
本開示によれば、窒化膜に対する酸化膜のエッチング選択比を調整できる。
【図面の簡単な説明】
【0007】
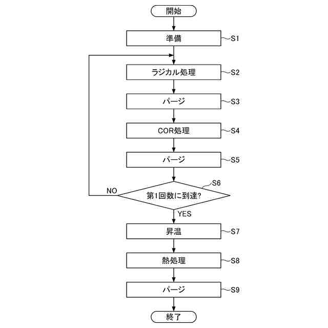
実施形態に係る基板処理方法を示すフローチャートである。
実施形態に係る基板処理装置を示す鉛直断面図である。
実施形態に係る基板処理装置を示す水平断面図である。
第1回数とSiO
2
膜のエッチング量との関係を示す図である。
第1回数とSiN膜のエッチング量との関係を示す図である。
SiN膜に対するSiO
2
膜のエッチング選択比を示す図である。
SiO
2
膜の表面反応の一例を示す図である。
SiO
2
膜の表面反応の別の一例を示す図である。
【発明を実施するための形態】
【0008】
以下、添付の図面を参照しながら、本開示の限定的でない例示の実施形態について説明する。添付の全図面中、同一又は対応する部材又は部品については、同一又は対応する参照符号を付し、重複する説明を省略する。
【0009】
〔基板処理方法〕
図1を参照し、実施形態に係る基板処理方法について説明する。図1は、実施形態に係る基板処理方法を示すフローチャートである。実施形態に係る基板処理方法は、図1に示されるステップS1からステップS9を有する。
【0010】
ステップS1において、基板を準備する。基板は、例えばシリコンウエハである。基板は、窒化膜が形成された第1領域と、酸化膜が形成された第2領域とを有する。窒化膜は、例えば珪素(Si)と窒素(N)とを含む膜である。珪素と窒素とを含む膜は、例えばSiN膜、SiCN膜である。窒化膜は、珪素及び窒素とは異なる元素をさらに含んでもよい。異なる元素は、例えば酸素(O)、ホウ素(B)又はこれらの組み合わせである。窒化膜は、ホウ素と窒素とを含む膜であってもよい。ホウ素と窒素とを含む膜は、例えばBN膜である。酸化膜は、例えば熱酸化膜である。熱酸化膜は、例えばSiO
2
膜である。
(【0011】以降は省略されています)
この特許をJ-PlatPat(特許庁公式サイト)で参照する
関連特許
東ソー株式会社
絶縁電線
1か月前
APB株式会社
蓄電セル
1か月前
個人
フレキシブル電気化学素子
1か月前
日新イオン機器株式会社
イオン源
1か月前
株式会社東芝
端子台
29日前
マクセル株式会社
電源装置
29日前
株式会社ユーシン
操作装置
1か月前
ローム株式会社
半導体装置
1か月前
株式会社GSユアサ
蓄電装置
1か月前
株式会社ホロン
冷陰極電子源
1か月前
株式会社GSユアサ
蓄電装置
8日前
富士電機株式会社
電磁接触器
8日前
株式会社GSユアサ
蓄電設備
1か月前
株式会社GSユアサ
蓄電装置
1か月前
株式会社GSユアサ
蓄電設備
1か月前
株式会社GSユアサ
蓄電装置
22日前
太陽誘電株式会社
コイル部品
1か月前
三菱電機株式会社
回路遮断器
16日前
オムロン株式会社
電磁継電器
1か月前
北道電設株式会社
配電具カバー
1か月前
トヨタ自動車株式会社
蓄電装置
1か月前
日本特殊陶業株式会社
保持装置
1か月前
サクサ株式会社
電池の固定構造
1か月前
日本特殊陶業株式会社
保持装置
21日前
ノリタケ株式会社
熱伝導シート
1か月前
日東電工株式会社
積層体
1か月前
日新イオン機器株式会社
基板処理装置
1か月前
大電株式会社
電線又はケーブル
今日
トヨタ自動車株式会社
バッテリ
1か月前
ホシデン株式会社
複合コネクタ
2日前
トヨタ自動車株式会社
冷却構造
1か月前
トヨタ自動車株式会社
蓄電装置
1か月前
トヨタ自動車株式会社
蓄電装置
今日
ローム株式会社
半導体装置
1か月前
トヨタ自動車株式会社
電池パック
1か月前
甲神電機株式会社
変流器及び零相変流器
23日前
続きを見る
他の特許を見る