TOP
|
特許
|
意匠
|
商標
特許ウォッチ
Twitter
他の特許を見る
10個以上の画像は省略されています。
公開番号
2025173960
公報種別
公開特許公報(A)
公開日
2025-11-28
出願番号
2024079866
出願日
2024-05-16
発明の名称
基板処理装置
出願人
株式会社SCREENホールディングス
代理人
個人
,
個人
主分類
H01L
21/304 20060101AFI20251120BHJP(基本的電気素子)
要約
【課題】処理チャンバへの超臨界処理流体の導入時の温度低下に起因して生じ得るパーティクル付着やパターン倒壊等の処理不良を低減させる。
【解決手段】基板処理装置は、処理チャンバに対し、臨界圧力よりも低圧の第1圧力に加圧された気体として処理流体を供給する第1供給部と、臨界圧力より高圧の第2圧力の処理流体を供給する第2供給部と、処理チャンバの内部空間へ処理流体を導入する導入流路と、第1バルブを介して第1供給部と導入流路とを接続する第1配管と、第2バルブを介して第2供給部と導入流路とを接続する第2配管と、第1バルブおよび第2バルブを制御して、第1圧力の処理流体と第2圧力の処理流体とを選択的に内部空間に流入させる制御部とを備える。第2供給部は、液状の処理流体を貯留する貯留部と、貯留部から第2バルブに至る第2配管に介挿され処理流体を第2圧力に加圧して送出する加圧部とを有する。
【選択図】図5
特許請求の範囲
【請求項1】
基板を超臨界状態の処理流体により処理する基板処理装置において、
前記基板を収容可能な内部空間を有する処理チャンバと、
臨界圧力よりも低圧の第1圧力に加圧された気体として前記処理流体を供給する第1供給部と、
前記臨界圧力より高圧の第2圧力の前記処理流体を供給する第2供給部と、
前記内部空間に連通し前記内部空間へ前記処理流体を導入する導入流路と、
第1バルブを介して前記第1供給部と前記導入流路とを接続する第1配管と、
第2バルブを介して前記第2供給部と前記導入流路とを接続する第2配管と、
前記第1バルブおよび前記第2バルブを制御して、前記第1圧力の前記処理流体と前記第2圧力の前記処理流体とを選択的に前記内部空間に流入させる制御部と
を備え、
前記第2供給部は、
液状の前記処理流体を貯留する貯留部と、
前記貯留部から前記第2バルブに至る前記第2配管に介挿され、前記処理流体を前記第2圧力に加圧して送出する加圧部と
を有する、基板処理装置。
続きを表示(約 950 文字)
【請求項2】
前記制御部は、前記第1バルブを開成して前記第1圧力の前記処理流体で前記内部空間を満たした後、前記第1バルブを閉成し前記第2バルブを開成して前記第2圧力の前記処理流体で前記内部空間を満たす、請求項1に記載の基板処理装置。
【請求項3】
前記貯留部は、
前記第1圧力に加圧された液状の前記処理流体を貯留し、前記処理流体の液面より上部の空間に連通するように前記第1配管が接続される一方、前記液面より下部の空間に連通するように前記第2配管が接続され、
前記液面より上部の気体状の前記処理流体を前記第1配管に送出することで、前記第1供給部として機能する、請求項1に記載の基板処理装置。
【請求項4】
前記加圧部は、前記貯留部から前記第2配管に送出される前記第1圧力の処理流体を前記第2圧力まで加圧して出力する、請求項3に記載の基板処理装置。
【請求項5】
前記第2供給部は、前記加圧部と前記第2バルブとの間の前記第2配管に接続され、第3バルブを介して前記貯留部に接続される還流配管を有する、請求項1ないし4のいずれかに記載の基板処理装置。
【請求項6】
前記制御部により前記第2バルブが閉成され前記第3バルブが開成された状態で、前記加圧部が、外部供給源から供給される前記処理流体を加圧して前記貯留部に流入させる、請求項5に記載の基板処理装置。
【請求項7】
前記第2配管から前記導入流路を経て流通する前記処理流体を加熱する第1ヒータを備える、請求項1ないし4のいずれかに記載の基板処理装置。
【請求項8】
前記貯留部に貯留される前記処理流体を加熱する第2ヒータを備える、請求項1ないし4のいずれかに記載の基板処理装置。
【請求項9】
前記第1圧力は、前記第1供給部が送出する前記処理流体の温度において前記処理流体が液化する圧力よりも低い、請求項1ないし4のいずれかに記載の基板処理装置。
【請求項10】
大気圧と前記第1圧力との圧力差が、前記第1圧力と前記第2圧力との圧力差よりも大きい、請求項1ないし4のいずれかに記載の基板処理装置。
発明の詳細な説明
【技術分野】
【0001】
この発明は、基板を処理チャンバに収容し超臨界状態の処理流体で処理する技術に関するものである。
続きを表示(約 2,100 文字)
【背景技術】
【0002】
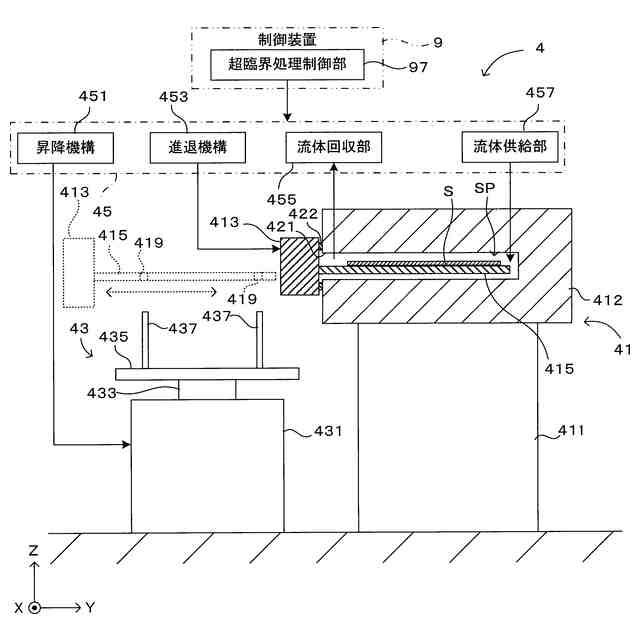
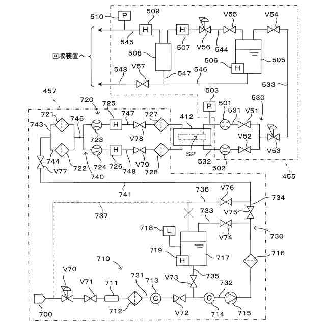
半導体基板、表示装置用ガラス基板等の各種基板の処理工程には、基板の表面を各種の処理流体によって処理するものが含まれる。処理流体として薬液やリンス液などの液体を用いる湿式処理が従来から広く行われている。近年では、当該湿式処理後の基板を乾燥させるために、超臨界状態の処理流体を用いた処理も実用化されている。特に、微細パターンが形成されたパターン形成面を有する基板の乾燥処理においては、有益である。というのも、超臨界状態の処理流体は、液体に比べて表面張力が低く、パターンの隙間の奥まで入り込むという特性を有しているからである。当該処理流体を用いることで、効率よく乾燥処理を行うことが可能である。また、乾燥時において表面張力に起因するパターン倒壊の発生リスクを低減させることも可能である。
【0003】
例えば特許文献1に記載の基板処理装置では、循環ラインが接続されたタンクに処理流体が貯留されており、該処理流体はコンデンサが介挿された循環ラインを循環することで液体状に保たれている。そして、循環ラインから分岐する接続ラインが処理チャンバに接続され、この流路に設けられたヒータからの加熱により、液体から超臨界状態となった処理流体が処理チャンバへ供給される。
【先行技術文献】
【特許文献】
【0004】
特開2022-132400号公報
【発明の概要】
【発明が解決しようとする課題】
【0005】
上記従来技術のような基板処理装置においては、パターン倒壊の発生リスクをさらに低減させるために、以下のような解決すべき課題が残されている。すなわち、本願発明者の知見によれば、上記のように基板が収容された処理チャンバに超臨界状態の処理流体を供給する処理態様においては、処理流体の供給開始直後にパターン倒壊の原因となり得る現象が生じることがある。すなわち、大気圧またはそれに近い低圧状態の処理チャンバ内に高圧の処理流体が急激に流入することで、断熱膨張による処理流体の温度低下が生じる。これにより、処理流体が部分的に超臨界状態から液体または固体に相変化することがある。このように液化または固化した処理流体が基板に付着すると、基板へのパーティクル残留やパターン倒壊を惹き起こすことになる。
【0006】
上記従来技術ではこの問題が考慮されていない。すなわち、パーティクル付着やパターン倒壊の問題を生じさせずに基板を良好に処理するという目的において、上記従来技術には改良の余地が残されていると言える。
【0007】
この発明は上記課題に鑑みなされたものであり、基板を超臨界処理流体により処理する技術において、処理チャンバへの超臨界処理流体の導入時の温度低下に起因して生じ得るパーティクル付着やパターン倒壊等の処理不良を低減させることを目的とする。
【課題を解決するための手段】
【0008】
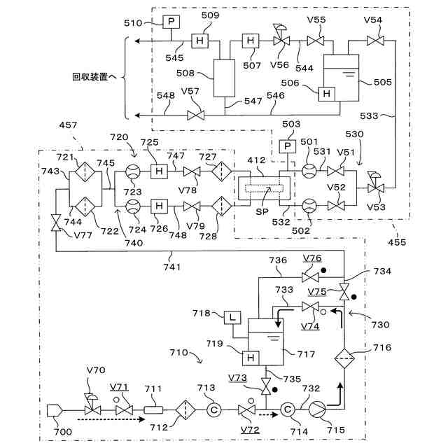
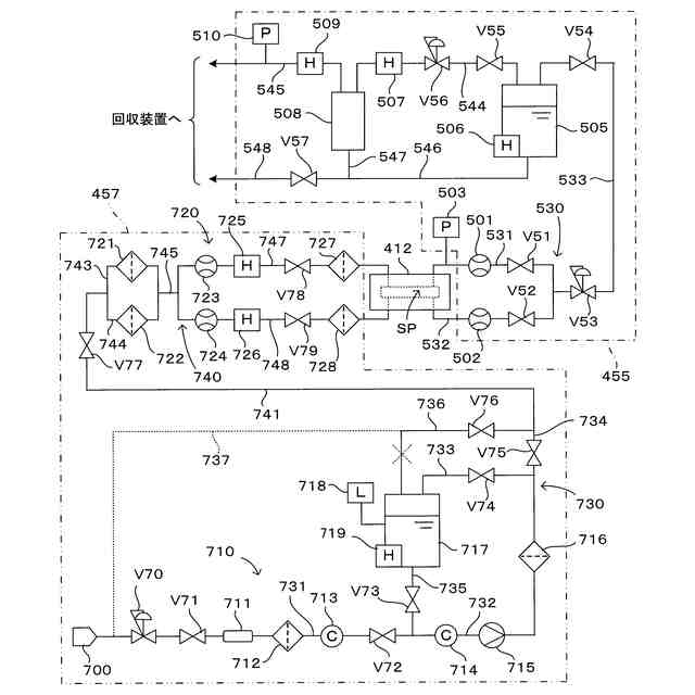
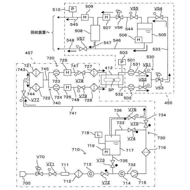
この発明の一の態様は、基板を超臨界状態の処理流体により処理する基板処理装置であって、前記基板を収容可能な内部空間を有する処理チャンバと、臨界圧力よりも低圧の第1圧力に加圧された気体として前記処理流体を供給する第1供給部と、前記臨界圧力より高圧の第2圧力の前記処理流体を供給する第2供給部と、前記内部空間に連通し前記内部空間へ前記処理流体を導入する導入流路と、第1バルブを介して前記第1供給部と前記導入流路とを接続する第1配管と、第2バルブを介して前記第2供給部と前記導入流路とを接続する第2配管と、前記第1バルブおよび前記第2バルブを制御して、前記第1圧力の前記処理流体と前記第2圧力の前記処理流体とを選択的に前記内部空間に流入させる制御部とを備えている。ここで、前記第2供給部は、液状の前記処理流体を貯留する貯留部と、前記貯留部から前記第2バルブに至る前記第2配管に介挿され、前記処理流体を前記第2圧力に加圧して送出する加圧部とを有する。
【0009】
このように構成された発明では、処理チャンバに対して、比較的低圧である第1圧力の処理流体と、これより高圧の第2圧力の処理流体とがそれぞれ供給可能である。第1圧力の処理流体は、臨界圧力よりも低圧の気体として処理チャンバに供給される。一方、第2圧力は臨界圧力を超えており、その温度設定により超臨界状態で処理チャンバに供給可能である。
【0010】
上記従来技術のように、内部の気圧がほぼ大気圧である処理チャンバに臨界圧力を超える高圧の処理流体を直接導入すると、処理流体の部分的な液化または固化に起因する処理不良が発生するおそれがある。これに対し、本発明では例えば、まず第1供給部からの処理流体で処理チャンバの内部空間を満たすことで、内部空間を中間的な第1圧力まで昇圧させておき、その状態から超臨界状態の処理流体を導入することが可能である。したがって、断熱膨張による温度低下はより限定的となり、従来技術における問題点を解消することが可能となる。
【発明の効果】
(【0011】以降は省略されています)
この特許をJ-PlatPat(特許庁公式サイト)で参照する
関連特許
APB株式会社
蓄電セル
1か月前
東ソー株式会社
絶縁電線
1か月前
株式会社東芝
端子台
29日前
日新イオン機器株式会社
イオン源
1か月前
ローム株式会社
半導体装置
1か月前
マクセル株式会社
電源装置
29日前
株式会社GSユアサ
蓄電装置
8日前
株式会社GSユアサ
蓄電装置
22日前
株式会社GSユアサ
蓄電装置
1か月前
富士電機株式会社
電磁接触器
8日前
株式会社GSユアサ
蓄電装置
1か月前
三菱電機株式会社
回路遮断器
16日前
株式会社ホロン
冷陰極電子源
1か月前
大電株式会社
電線又はケーブル
今日
トヨタ自動車株式会社
蓄電装置
1か月前
日本特殊陶業株式会社
保持装置
1か月前
トヨタ自動車株式会社
冷却構造
1か月前
日本特殊陶業株式会社
保持装置
21日前
ホシデン株式会社
複合コネクタ
2日前
日新イオン機器株式会社
基板処理装置
1か月前
トヨタ自動車株式会社
バッテリ
1か月前
トヨタ自動車株式会社
蓄電装置
今日
北道電設株式会社
配電具カバー
1か月前
日本無線株式会社
レーダアンテナ
23日前
甲神電機株式会社
変流器及び零相変流器
23日前
株式会社レゾナック
冷却器
16日前
トヨタ自動車株式会社
電池パック
1か月前
ローム株式会社
半導体モジュール
9日前
矢崎総業株式会社
コネクタ
8日前
株式会社デンソー
電子装置
1か月前
株式会社トクヤマ
シリコンエッチング液
1か月前
ヒロセ電機株式会社
電気コネクタ
8日前
日亜化学工業株式会社
半導体レーザ素子
1か月前
住友電装株式会社
コネクタ
8日前
トヨタ自動車株式会社
電池パック
1か月前
トヨタ自動車株式会社
密閉型電池
1か月前
続きを見る
他の特許を見る