TOP
|
特許
|
意匠
|
商標
特許ウォッチ
Twitter
他の特許を見る
公開番号
2025174085
公報種別
公開特許公報(A)
公開日
2025-11-28
出願番号
2024080138
出願日
2024-05-16
発明の名称
ケーブル
出願人
株式会社プロテリアル
代理人
弁理士法人平田国際特許事務所
主分類
H01B
7/295 20060101AFI20251120BHJP(基本的電気素子)
要約
【課題】低発塵で燃えにくく、かつ外径が小さいケーブルを提供する。
【解決手段】ケーブル1は、複数本の電線2からなる集合コア4と、集合コア4の周囲を覆い、最外層を構成する被覆層7と、を備え、被覆層7は、ISO14644-1に準拠する清浄度クラスでCLASS1に合格する発塵抑制層からなり、被覆層7と集合コア4との間に、被覆層7の酸素指数よりも5以上大きい酸素指数を有する燃焼抑制層6を備えた。
【選択図】図1
特許請求の範囲
【請求項1】
複数本の電線からなる集合コアと、
前記集合コアの周囲を覆い、最外層を構成する被覆層と、を備え、
前記被覆層は、ISO14644-1に準拠する清浄度クラスでCLASS1に合格する発塵抑制層からなり、
前記被覆層と前記集合コアとの間に、前記被覆層の酸素指数よりも5以上大きい酸素指数を有する燃焼抑制層を備えた、
ケーブル。
続きを表示(約 690 文字)
【請求項2】
前記被覆層の酸素指数と、前記燃焼抑制層の酸素指数との差が、7以上15以下である、
請求項1に記載のケーブル。
【請求項3】
前記燃焼抑制層の酸素指数が30以上であり、
前記被覆層の酸素指数が25以下である、
請求項1に記載のケーブル。
【請求項4】
ケーブル単位長さ当たりの前記被覆層の質量が、ケーブル単位長さ当たりの前記燃焼抑制層の質量より大きい、
請求項1に記載のケーブル。
【請求項5】
前記燃焼抑制層の厚さは、前記被覆層の厚さの20%以上65%以下である、
請求項1に記載のケーブル。
【請求項6】
前記燃焼抑制層と前記集合コアとの間に、シールド層を備えた、
請求項1に記載のケーブル。
【請求項7】
前記被覆層と前記燃焼抑制層との間に、シールド層を備えた、
請求項1に記載のケーブル。
【請求項8】
前記シールド層が、複数本の金属素線と複数本の繊維素線とを編組した交織編組シールドからなる、
請求項6または7に記載のケーブル。
【請求項9】
前記シールド層が、繊維糸の周囲に金属箔が巻き付けられた金属箔糸を編組した編組シールドからなる、
請求項6または7に記載のケーブル。
【請求項10】
前記シールド層が、導電性のテープ部材である導電テープを巻き付けて構成されている、
請求項6に記載のケーブル。
(【請求項11】以降は省略されています)
発明の詳細な説明
【技術分野】
【0001】
本発明は、ケーブルに関する。
続きを表示(約 1,200 文字)
【背景技術】
【0002】
従来、産業用ロボット等の装置に配線されるケーブルとして、例えば、複数本の電線(絶縁電線や絶縁電線を対撚りした対撚線等)を撚り合わせした集合コアと、集合コアの周囲を被覆するシースと、を備えたケーブルがある(例えば、特許文献1参照。)。
【先行技術文献】
【特許文献】
【0003】
特開2008-218061号公報
【発明の概要】
【発明が解決しようとする課題】
【0004】
産業用ロボットや工作機械に使用されるケーブル、または半導体製造装置のようなクリーン環境下で使用されるケーブルでは、優れた耐摩耗性と耐屈曲性に加えて、低発塵で、かつ燃えにくいケーブルが求められる。特に、ケーブルの最外部に設けられるシースについては、他の部材と接触して表面が擦れることによる粉塵の発生を抑制したもの(すなわち、低発塵なシース)が望まれる。
【0005】
他方で、産業用ロボット等の装置の機能を向上させるために、ケーブル内の電線の本数が増加する傾向にあるが、電線本数の増加によってケーブル内の燃焼物の割合も多くなってしまい、燃えやすいケーブルとなってしまうことがある。よって、シースを燃えにくくすることも望まれる。
【0006】
しかしながら、シースを燃えにくくするために、難燃剤の添加量を増加すると、シースが他部材と擦れた際等に発塵しやすくなってしまう。難燃剤の添加量を増加させずにシースを燃えにくくするために、例えばシースの厚さを厚くすることが考えられるが、この場合、ケーブル外径が大きくなってしまい、配線しにくくなってしまう。
【0007】
そこで、本発明は、低発塵で燃えにくく、かつ外径が小さいケーブルを提供することを目的とする。
【課題を解決するための手段】
【0008】
本発明は、上記課題を解決することを目的として、複数本の電線からなる集合コアと、前記集合コアの周囲を覆い、最外層を構成する被覆層と、を備え、前記被覆層は、ISO14644-1に準拠する清浄度クラスでCLASS1に合格する発塵抑制層からなり、前記被覆層と前記集合コアとの間に、前記被覆層の酸素指数よりも5以上大きい酸素指数を有する燃焼抑制層を備えた、ケーブルを提供する。
【発明の効果】
【0009】
本発明によれば、低発塵で燃えにくく、かつ外径が小さいケーブルを提供できる。
【図面の簡単な説明】
【0010】
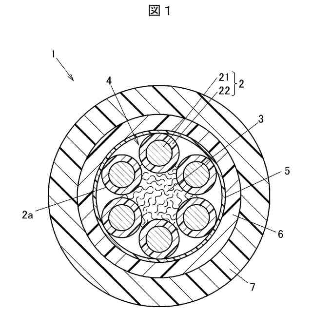
本発明の一実施の形態に係るケーブルの長手方向に垂直な断面を示す断面図である。
(a),(b)は、本発明の他の実施の形態に係るケーブルの長手方向に垂直な断面を示す断面図である。
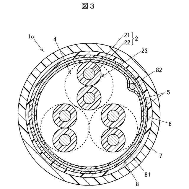
本発明の他の実施の形態に係るケーブルの長手方向に垂直な断面を示す断面図である。
【発明を実施するための形態】
(【0011】以降は省略されています)
この特許をJ-PlatPat(特許庁公式サイト)で参照する
関連特許
APB株式会社
蓄電セル
1か月前
東ソー株式会社
絶縁電線
1か月前
マクセル株式会社
電源装置
29日前
日新イオン機器株式会社
イオン源
1か月前
株式会社東芝
端子台
29日前
ローム株式会社
半導体装置
1か月前
株式会社ホロン
冷陰極電子源
1か月前
株式会社GSユアサ
蓄電装置
1か月前
株式会社GSユアサ
蓄電装置
1か月前
富士電機株式会社
電磁接触器
8日前
太陽誘電株式会社
コイル部品
1か月前
株式会社GSユアサ
蓄電装置
8日前
株式会社GSユアサ
蓄電設備
1か月前
株式会社GSユアサ
蓄電設備
1か月前
三菱電機株式会社
回路遮断器
16日前
株式会社GSユアサ
蓄電装置
22日前
日新イオン機器株式会社
基板処理装置
1か月前
大電株式会社
電線又はケーブル
今日
北道電設株式会社
配電具カバー
1か月前
トヨタ自動車株式会社
冷却構造
1か月前
トヨタ自動車株式会社
蓄電装置
1か月前
日本特殊陶業株式会社
保持装置
21日前
サクサ株式会社
電池の固定構造
1か月前
日本特殊陶業株式会社
保持装置
1か月前
ホシデン株式会社
複合コネクタ
2日前
トヨタ自動車株式会社
蓄電装置
今日
トヨタ自動車株式会社
バッテリ
1か月前
トヨタ自動車株式会社
密閉型電池
1か月前
日本無線株式会社
レーダアンテナ
23日前
ヒロセ電機株式会社
電気コネクタ
8日前
株式会社レゾナック
冷却器
16日前
ローム株式会社
半導体装置
1か月前
株式会社デンソー
電子装置
1か月前
日亜化学工業株式会社
半導体レーザ素子
1か月前
トヨタ自動車株式会社
電池パック
1か月前
株式会社トクヤマ
シリコンエッチング液
1か月前
続きを見る
他の特許を見る