TOP
|
特許
|
意匠
|
商標
特許ウォッチ
Twitter
他の特許を見る
公開番号
2025178702
公報種別
公開特許公報(A)
公開日
2025-12-09
出願番号
2024085470
出願日
2024-05-27
発明の名称
クーリングチューブ
出願人
中外炉工業株式会社
代理人
個人
主分類
F28D
7/06 20060101AFI20251202BHJP(熱交換一般)
要約
【課題】 一端側の導入口から冷却用気体をチューブ内に導入させ、チューブ内で熱交換されて加熱された加熱気体を他端側の排出口から排出させるクーリングチューブにおいて、冷却用気体による冷却効率を高める。
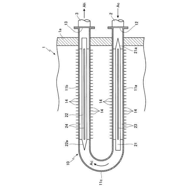
【解決手段】 一端側の導入口12から冷却用気体Acをチューブ10内に導入させ、チューブ内で熱交換されて加熱された加熱気体Ahを他端側の排出口13から排出させるクーリングチューブにおいて、直線状になった直線チューブ部分11a,11bの内部に直線状になった挿入部材21,22を設けた。
【選択図】 図1
特許請求の範囲
【請求項1】
一端側の導入口から冷却用気体をチューブ内に導入させ、チューブ内で熱交換されて加熱された加熱気体を他端側の排出口から排出させるクーリングチューブにおいて、直線状になった直線チューブ部分の内部に直線状になった挿入部材を設けたことを特徴とするクーリングチューブ。
続きを表示(約 550 文字)
【請求項2】
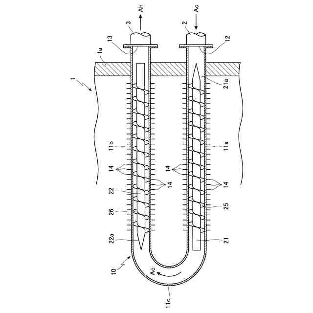
請求項1に記載のクーリングチューブにおいて、前記の直線チューブ部分を、冷却用気体を導入させる導入口側と、熱交換されて加熱された加熱気体を排出させる排出口側とに設け、前記の直線状になった挿入部材を、前記の導入口側の直線チューブ部分と、排出口側の直線チューブ部分との少なくとも一方の内部に設けたことを特徴とするクーリングチューブ。
【請求項3】
請求項1又は請求項2に記載のクーリングチューブにおいて、前記の挿入部材の外周に、挿入部材を前記の直線チューブ部分の内部で保持させる保持部材を設けたことを特徴とするクーリングチューブ。
【請求項4】
請求項3に記載のクーリングチューブにおいて、前記の保持部材として、挿入部材の外周に螺旋状になった保持部材を設けたことを特徴とするクーリングチューブ。
【請求項5】
請求項1又は請求項2に記載のクーリングチューブにおいて、前記の挿入部材における気体の導入側の部分が、先端からテーパー状に広がっていることを特徴とするクーリングチューブ。
【請求項6】
請求項1又は請求項2に記載のクーリングチューブにおいて、前記の挿入部材が中空になっていることを特徴とするクーリングチューブ。
発明の詳細な説明
【技術分野】
【0001】
本発明は、一端側の導入口から冷却用気体をチューブ内に導入させ、チューブ内で熱交換されて加熱された加熱気体を他端側の排出口から排出させるクーリングチューブに関するものである。特に、前記のようなクーリングチューブにおいて、チューブ内を流れる冷却用気体の流速を速くして、チューブにおける冷却効率を高めるようにした点に特徴を有するものである。
続きを表示(約 1,400 文字)
【背景技術】
【0002】
従来から、炉内雰囲気の温度を下げるため、一端側の導入口から冷却用気体をチューブ内に導入させ、チューブ内で熱交換されて加熱された加熱気体を他端側の排出口から排出させるようにしたクーリングチューブが使用されている。
【0003】
そして、このようなクーリングチューブとしては、直線状になったチューブを使用するようにしたものや、特許文献1に示されるように、ガラス用熱処理炉において、炉内の冷却を行うために、炉内にU字型になったクーリングチューブの一端側の導入口から冷却用気体をチューブ内に導入させて炉内に導き、チューブ内に導入された冷却用気体に炉内における熱を吸熱させて熱交換させ、熱交換されて加熱された加熱気体を他端側の排出口から排出させるようにしたもの等が知られている。
【0004】
ここで、前記のようなクーリングチューブを用いて炉内の温度を速やかに低下させて冷却させる行うためには、クーリングチューブの一端側の導入口からチューブ内に導入させる冷却用気体の流量を増加させることが考えられる。
【0005】
しかし、このようにクーリングチューブの一端側の導入口からチューブ内に導入させる冷却用気体の流量を増加させるためには、大型の送風機が必要になり、設備コストやランニングコストが高くつくという問題があった。
【先行技術文献】
【特許文献】
【0006】
特開2022-80771号公報
【発明の開示】
【発明が解決しようとする課題】
【0007】
本発明は、一端側の導入口から冷却用気体をチューブ内に導入させ、チューブ内で熱交換されて加熱された加熱気体を他端側の排出口から排出させるクーリングチューブにおいて、クーリングチューブを用いて炉内の温度を速やかに低下させて冷却させる場合における前記のような問題を解決することを課題とするものである。
【0008】
すなわち、本発明においては、前記のようなクーリングチューブにおいて、炉内の温度を速やかに低下させて冷却させるにあたり、従来のように、大型の送風機を用いてチューブ内に導入させる冷却用気体の流量を増加させなくても、チューブにおける冷却効率を高め、炉内の温度を効率よく速やかに低下させて冷却できるようにすることを課題とするものである。
【課題を解決するための手段】
【0009】
本発明に係るクーリングチューブにおいては、前記のような課題を解決するため、一端側の導入口から冷却用気体をチューブ内に導入させ、チューブ内で熱交換されて加熱された加熱気体を他端側の排出口から排出させるクーリングチューブにおいて、直線状になった直線チューブ部分の内部に直線状になった挿入部材を設けた。
【0010】
本発明のクーリングチューブのように、直線状になった直線チューブ部分の内部に直線状になった挿入部材を設けると、このように挿入部材を設けた直線チューブ部分における気体の流路が狭くなって、この部分を流れる冷却用気体の流速が速くなると共に、冷却用気体が熱交換を行うチューブの周面の近くを流れて直線チューブ部分が冷却され、さらに直線チューブ部分おける熱が前記の挿入部材にも伝わって冷却用気体により冷却されて、チューブ全体における冷却効率が高められる。
(【0011】以降は省略されています)
この特許をJ-PlatPat(特許庁公式サイト)で参照する
関連特許
個人
排熱回収装置
4か月前
個人
冷却装置の蒸発器
1か月前
個人
放射冷却装置
1か月前
個人
熱交換装置
2か月前
新光電気工業株式会社
蓄熱装置
3か月前
株式会社ティラド
複合型熱交換器
13日前
株式会社アイシン
熱交換器
21日前
中外炉工業株式会社
クーリングチューブ
2日前
株式会社デンソー
熱交換装置
1か月前
株式会社クレオ
熱交換器
22日前
愛知製鋼株式会社
粉体シール部材
2か月前
日本碍子株式会社
熱交換器
2か月前
日本碍子株式会社
熱交換器
2か月前
フタバ産業株式会社
熱交換器
7日前
フタバ産業株式会社
熱交換器
7日前
株式会社大林組
散水装置及び異物除去方法
2か月前
株式会社デンソー
熱交換器
1か月前
ダイキン工業株式会社
熱交換器
4か月前
MAアルミニウム株式会社
熱交換器
3か月前
新晃工業株式会社
熱交換器の通水抵抗の計算方法。
13日前
株式会社富士通ゼネラル
熱交換器
2か月前
株式会社富士通ゼネラル
熱交換器
2か月前
株式会社富士通ゼネラル
熱交換器
2か月前
国立大学法人東京農工大学
温度調節装置
4か月前
株式会社富士通ゼネラル
熱交換器
2か月前
株式会社富士通ゼネラル
熱交換器
3か月前
株式会社富士通ゼネラル
熱交換器
2か月前
株式会社ニフコ
熱交換モジュール
2か月前
三菱重工業株式会社
洗浄水噴射ノズル
2か月前
大阪瓦斯株式会社
複合冷却装置、及びその製造方法
3か月前
株式会社アイシン
熱交換器
21日前
株式会社デンソー
熱交換器および減圧器
1か月前
ベルテクス株式会社
地中熱交換装置及び地中熱交換装置の構築工法
1か月前
フタバ産業株式会社
熱交換器及び熱交換システム
4か月前
JFEスチール株式会社
熱交換器の性能評価方法
3か月前
ダイキン工業株式会社
熱交換器及び空気調和装置
4か月前
続きを見る
他の特許を見る