TOP
|
特許
|
意匠
|
商標
特許ウォッチ
Twitter
他の特許を見る
公開番号
2025147554
公報種別
公開特許公報(A)
公開日
2025-10-07
出願番号
2024047853
出願日
2024-03-25
発明の名称
熱交換モジュール
出願人
株式会社ニフコ
,
ZACROS株式会社
代理人
個人
,
個人
主分類
F28D
9/02 20060101AFI20250930BHJP(熱交換一般)
要約
【課題】熱交換モジュールが占める空間を小さくし、かつ、熱媒体の温度におけるばらつきを抑えることを可能とした熱交換モジュールを提供する。
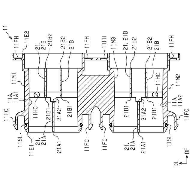
【解決手段】熱交換モジュールは、扁平な筒状を有したベース部材11と、ベース部材11から分岐する熱交換器とを備える。ベース部材11は、ベース部材11の第1端部11E1と第1端部11E1とは反対側の第2端部11E2とを連結する流路11Aと、流路11A内に位置する複数の支柱部21とを備える。流路11Aが延びる方向が流れ方向DFであり、流れ方向DFに直交する方向が長手方向DLである。複数の支柱部21は、第1支柱部21Aと第2支柱部21Bとを含む。第1支柱部21Aと第2支柱部21Bとは、長手方向DLにおいて互いに離れて位置する。第1支柱部21Aは、第2端部11E2から離れて位置し、第2支柱部21Bは、第1端部11E1から離れて位置する。
【選択図】図3
特許請求の範囲
【請求項1】
扁平な筒状を有したベース部材と、
前記ベース部材から分岐する熱交換器と、を備え、
前記ベース部材は、
前記ベース部材の第1端部と前記第1端部とは反対側の第2端部とを連結する流路と、
前記流路内に位置する複数の支柱部と、を備え、
前記流路が延びる方向が流れ方向であり、前記流れ方向に直交する方向が長手方向であり、
前記複数の支柱部は、第1支柱部と第2支柱部とを含み、
前記第1支柱部と前記第2支柱部とは、前記長手方向において互いに離れて位置し、
前記第1支柱部は、前記第2端部から離れて位置し、
前記第2支柱部は、前記第1端部から離れて位置する
熱交換モジュール。
続きを表示(約 960 文字)
【請求項2】
前記第1支柱部は、前記流れ方向において前記第2支柱部よりも前記第1端部側に位置する部分を含み、
前記第2支柱部は、前記流れ方向において前記第1支柱部よりも前記第2端部側に位置する部分を含む
請求項1に記載の熱交換モジュール。
【請求項3】
前記ベース部材は、
前記流れ方向と前記長手方向とによって定められる平面に沿う第1側面と、
前記第1側面に対向する第2側面と、を備え、
各支柱部は、前記第1側面と前記第2側面とを互いに連結している
請求項1または2に記載の熱交換モジュール。
【請求項4】
前記ベース部材は、
前記流れ方向と前記長手方向とによって定められる平面に沿う側面を備え、
前記側面は、前記熱交換器が接続される接続部を備える
請求項1または2に記載の熱交換モジュール。
【請求項5】
前記流れ方向は、熱媒体が流れる方向であり、
各支柱部は、前記流れ方向に沿って延びるリブ状を有する
請求項1または2に記載の熱交換モジュール。
【請求項6】
前記第1支柱部は、前記流れ方向における第3端部と前記第3端部とは反対側の第4端部とを含み、
前記第2支柱部は、前記流れ方向における第5端部と前記第5端部とは反対側の第6端部とを含み、
前記第1支柱部のうち、前記流れ方向において前記ベース部材の前記第1端部からの距離が短い端部が前記第1支柱部の前記第3端部であり、
前記第2支柱部のうち、前記流れ方向において前記ベース部材の前記第2端部からの距離が短い端部が前記第2支柱部の前記第6端部であり、
前記流れ方向において、前記第1支柱部の前記第4端部の位置と、前記第2支柱部の前記第5端部の位置とが同じである
請求項2に記載の熱交換モジュール。
【請求項7】
前記複数の支柱部は、
前記第1支柱部および前記第2支柱部の一方を複数含み、
前記第1支柱部および前記第2支柱部の他方が、前記長手方向において前記一方の間に位置する
請求項2または6に記載の熱交換モジュール。
発明の詳細な説明
【技術分野】
【0001】
本開示は、熱交換モジュールに関する。
続きを表示(約 1,400 文字)
【背景技術】
【0002】
温調システムの一例は、延伸方向に沿って延びる一対の管ユニットと、管ユニットの間に位置する複数の熱交換器とを備えている。各熱交換器は、延伸方向と延伸方向に直交する幅方向によって定められる平面に沿う板状を有している。複数の熱交換器は、各管ユニットの延伸方向に沿って間隔を空けて並んでいる。各熱交換器は、熱交換器内に位置し、熱媒体が通る通路を備えている。
【0003】
各管ユニットは、円筒状を有している。一対の管ユニットのうち、一方の管ユニットには、熱交換前の熱媒体が供給され、かつ、他方の管ユニットには、各熱交換器の通路を通じて熱交換後の熱媒体が排出される(例えば、特許文献1参照)。
【先行技術文献】
【特許文献】
【0004】
特開2012-180876号公報
【発明の概要】
【発明が解決しようとする課題】
【0005】
管ユニットは円筒状を有するから、管ユニットの周囲には温調システムを構成する部材や、温調システムの温調対象を配置し難い空間が生じる。これにより、温調システムが占める空間が、温調システムそのものが有する大きさに対して大きくなりやすい。
【課題を解決するための手段】
【0006】
上記課題を解決するための熱交換モジュールは、扁平な筒状を有したベース部材と、前記ベース部材から分岐する熱交換器と、を備える。前記ベース部材は、前記ベース部材の第1端部と前記第1端部とは反対側の第2端部とを連結する流路と、前記流路内に位置する複数の支柱部と、を備える。前記流路が延びる方向が流れ方向であり、前記流れ方向に直交する方向が長手方向である。前記複数の支柱部は、第1支柱部と第2支柱部とを含む。前記第1支柱部と前記第2支柱部とは、前記長手方向において互いに離れて位置し、前記第1支柱部は、前記第2端部から離れて位置し、前記第2支柱部は、前記第1端部から離れて位置する。
【0007】
上記熱交換モジュールによれば、ベース部材が扁平であるから、熱交換モジュールが占める空間を小さくすることができ、結果として狭い空間にも熱交換モジュールを設置することが可能である。また、流路内を流れる熱媒体が各支柱部にぶつかり、かつ、流れ方向におけるベース部材の端部と支柱部との隙間を通じて、長手方向に沿って熱媒体が流れることが可能である。これにより、熱媒体の温度におけるばらつきを抑えることができる。
【0008】
上記熱交換モジュールにおいて、前記第1支柱部は、前記流れ方向において前記第2支柱部よりも前記第1端部側に位置する部分を含み、前記第2支柱部は、前記流れ方向において前記第1支柱部よりも前記第2端部側に位置する部分を含んでもよい。
【0009】
上記熱交換モジュールによれば、流れ方向の少なくとも一部において、第1支柱部が第2支柱部に重ならないから、流路内を流れる熱媒体が、長手方向に沿って流れやすくなる。これにより、流路内において熱媒体が混ざりやすくなる。
【0010】
上記熱交換モジュールにおいて、前記ベース部材は、前記流れ方向と前記長手方向とによって定められる平面に沿う第1側面と、前記第1側面に対向する第2側面と、を備え、各支柱部は、前記第1側面と前記第2側面とを互いに連結していてもよい。
(【0011】以降は省略されています)
この特許をJ-PlatPat(特許庁公式サイト)で参照する
関連特許
株式会社ニフコ
クリップ
3日前
株式会社ニフコ
締結構造
24日前
株式会社ニフコ
クリップ
1か月前
株式会社ニフコ
風防装置
1か月前
株式会社ニフコ
収納装置
2か月前
株式会社ニフコ
熱交換モジュール
1か月前
株式会社ニフコ
リテーナ固定構造
1か月前
株式会社ニフコ
車載機器用保持装置
1か月前
株式会社ニフコ
帯状体用アクセサリー
1か月前
トヨタ紡織株式会社
カップホルダー
1か月前
ZACROS株式会社
熱交換装置及びバッテリーパック
1か月前
個人
排熱回収装置
3か月前
個人
冷却装置の蒸発器
1か月前
個人
放射冷却装置
1か月前
個人
熱交換装置
6か月前
個人
熱交換装置
1か月前
ホーコス株式会社
熱交換ユニット
10か月前
三恵技研工業株式会社
熱交換器
7か月前
三恵技研工業株式会社
熱交換器
7か月前
株式会社パイオラックス
熱交換器
9か月前
アンリツ株式会社
検査装置
6か月前
アンリツ株式会社
検査装置
6か月前
日産自動車株式会社
熱交換器
9か月前
株式会社ティラド
ラジエータ
10か月前
株式会社アイシン
水噴射冷却システム
10か月前
新光電気工業株式会社
蓄熱装置
2か月前
サンデン株式会社
熱交換器
9か月前
サンデン株式会社
熱交換器
9か月前
栗田工業株式会社
冷却塔システム
9か月前
株式会社デンソー
熱交換器
5か月前
株式会社アイシン
熱交換器
5か月前
株式会社デンソー
熱交換器
5か月前
栗田工業株式会社
冷却塔システム
4か月前
日新電機株式会社
化学蓄熱反応器
11か月前
サンデン株式会社
熱交換器
9か月前
株式会社アイシン
熱交換器
3日前
続きを見る
他の特許を見る