TOP
|
特許
|
意匠
|
商標
特許ウォッチ
Twitter
他の特許を見る
10個以上の画像は省略されています。
公開番号
2025156797
公報種別
公開特許公報(A)
公開日
2025-10-15
出願番号
2024059473
出願日
2024-04-02
発明の名称
帯状体用アクセサリー
出願人
株式会社ニフコ
代理人
個人
主分類
A44B
99/00 20100101AFI20251007BHJP(小間物;貴金属宝石類)
要約
【課題】それぞれ帯状体に留め付け可能で、かつ、相手方に対し係脱可能に組み合わせ可能な2つの部材からなる帯状体用アクセサリーの提供。
【解決手段】はめ込み部4を備えた第1部材2と、はめ込み部4を係脱可能に受け入れる受け入れ部5を備えると共にこの受け入れ部5にはめ込み部4を受け入れた係合状態においてはめ込み部4を中心とした回動若しくは相対的な回動可能に第1部材2に組み合わされる第2部材3とからなる。第1部材2及び第2部材3にそれぞれ、帯状体Tを通過させる通過部6を備えさせると共に、この通過部6において帯状体Tの長さ方向における任意の位置に一定の摩擦力を持って留めつくようにしてなる。
【選択図】図4
特許請求の範囲
【請求項1】
はめ込み部を備えた第1部材と、
前記はめ込み部を係脱可能に受け入れる受け入れ部を備えると共に、この受け入れ部に前記はめ込み部を受け入れた係合状態において、
前記はめ込み部を中心とした回動若しくは相対的な回動可能に、
又は、前記受け入れ部への前記はめ込み部の受け入れ方向に直交する向きへの一定範囲の移動若しくは相対的な移動可能に、
又は、前記はめ込み部を中心とした回動若しくは相対的な回動可能で、かつ、前記受け入れ部への前記はめ込み部の受け入れ方向に直交する向きへの一定範囲の移動若しくは相対的な移動可能に、
前記第1部材に組み合わされる第2部材とからなり、
しかも、前記第1部材及び前記第2部材にそれぞれ、帯状体を通過させる通過部を備えさせると共に、この通過部において前記帯状体の長さ方向における任意の位置に一定の摩擦力を持って留めつくようにしてなる、帯状体用アクセサリー。
続きを表示(約 1,000 文字)
【請求項2】
前記はめ込み部は頭部を備えており、
前記受け入れ部を、前記はめ込み部の前記受け入れを、前記回動方向に連続するように形成された弾性変形可能部の弾性変形、又は、前記移動方向に連続するように形成された弾性変形可能部の弾性変形により許容すると共に、前記受け入れの完了位置における前記弾性変形可能部の弾性復帰により前記頭部に係合するように構成させてなる、請求項1に記載の帯状体用アクセサリー。
【請求項3】
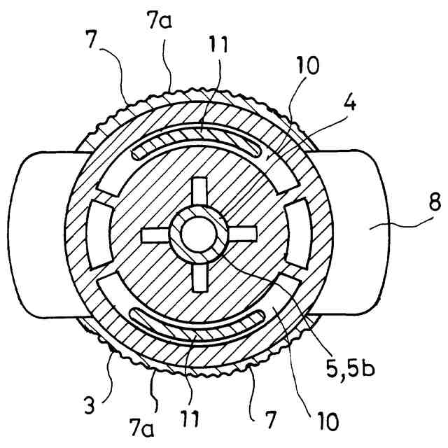
前記係合状態において、前記第1部材及び前記第2部材のいずれか一方に、これらの他方に対し前記回動又は相対的な回動の中心を巡るように形成された溝に入り込む凸部を形成させてなる、請求項1に記載の帯状体用アクセサリー。
【請求項4】
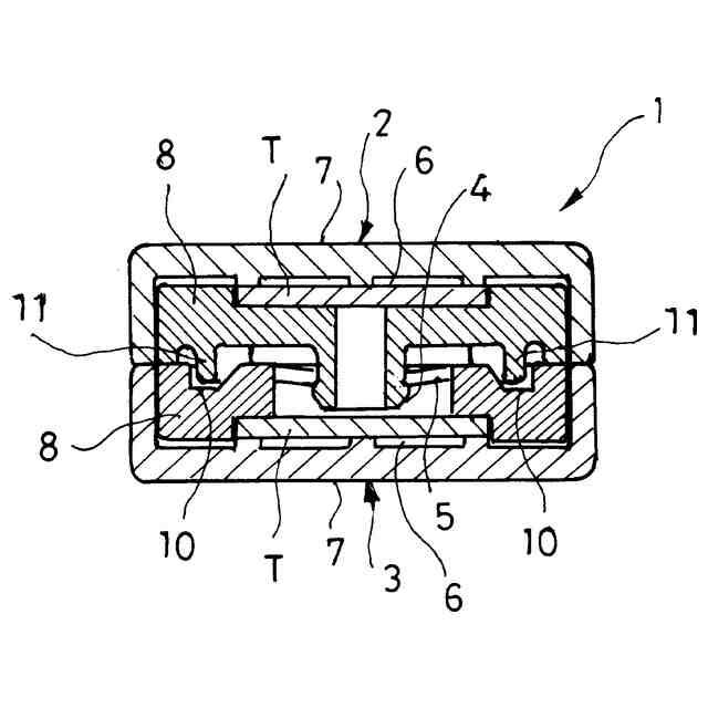
前記第1部材及び前記第2部材はそれぞれ、ベースと、このベースとの間で前記帯状体を挟持するように前記ベースに組み合わされて前記ベースとの間に前記通過部を形成させるカバーとを備えてなり、
前記はめ込み部を前記第1部材の前記ベースに形成し、かつ、前記受け入れ部を前記第2部材の前記ベースに形成させてなる、請求項1に記載の帯状体用アクセサリー。
【請求項5】
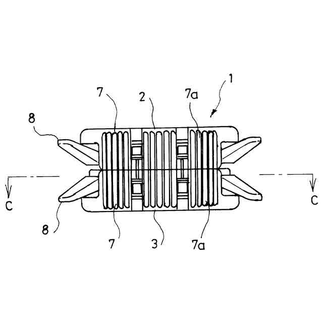
前記第1部材及び前記第2部材はそれぞれ、前記通過部に連通した2箇所の前記帯状体の引き出し開口を備えると共に、
前記第1部材の前記ベース及び前記第2部材の前記ベースはそれぞれ、前記引き出し開口の開口縁から外方に延び出すと共に延び出し端に近づくに連れて前記通過部に臨んだ内面に対向する前記ベースの外面との距離を漸増させるように前記外面と反対側に向けて傾斜状に延びるひれ部を備えてなる、請求項4に記載の帯状体用アクセサリー。
【請求項6】
前記第1部材及び前記第2部材はそれぞれ、前記通過部に連通した2箇所の前記帯状体の引き出し開口を備えると共に、
前記第1部材の前記ベース及び前記第2部材の前記ベースはそれぞれ、前記通過部に臨んだ内面のうちの前記引き出し開口の開口縁の手前に位置して前記開口縁に続く一部を、前記引き出し開口に近づくに連れて前記ベースの外面との距離を漸増させる向きに傾斜させてなる、請求項4に記載の帯状体用アクセサリー。
【請求項7】
前記通過部に臨んだ前記ベースの内面及び前記カバーの内面のいずれか一方に、これらの他方に形成された凹部に対し前記帯状体を介して向き合うように形成された凸部を備えさせてなる、請求項4に記載の帯状体用アクセサリー。
発明の詳細な説明
【技術分野】
【0001】
この発明は、様々な用途に利用されるテープ、バンドやベルトなどを構成する帯状体、各種の物品に備えられる帯状体に付設されて用いられるアクセサリーの改良に関する。
続きを表示(約 1,900 文字)
【背景技術】
【0002】
筒状をなす紐止具であって、内部に通された紐に留めつくように構成されたもの2つからなり、それぞれの側面に相手方に対する嵌合手段を備えさせたものとして、特許文献1に示されるものがある。
また、背負いバンドに雄タイプのバックルと雌タイプのバックルを所定距離を開けてそれぞれ背負いバンドの任意の位置に仮固定可能に備えさせたものとして、特許文献2に示されるものがある。
【先行技術文献】
【特許文献】
【0003】
実開昭62-123110号公報
特開平9-56418号公報
【発明の概要】
【発明が解決しようとする課題】
【0004】
この発明が解決しようとする主たる問題点は、それぞれ帯状体に留め付け可能で、かつ、相手方に対し係脱可能に組み合わせ可能な2つの部材からなる帯状体用アクセサリーにおいて、その利便性を高める新しい構造を提供する点にある。
【課題を解決するための手段】
【0005】
前記課題を達成するために、この発明にあっては、帯状体用アクセサリーを、
はめ込み部を備えた第1部材と、
前記はめ込み部を係脱可能に受け入れる受け入れ部を備えると共に、この受け入れ部に前記はめ込み部を受け入れた係合状態において、
前記はめ込み部を中心とした回動若しくは相対的な回動可能に、
又は、前記受け入れ部への前記はめ込み部の受け入れ方向に直交する向きへの一定範囲の移動若しくは相対的な移動可能に、
又は、前記はめ込み部を中心とした回動若しくは相対的な回動可能で、かつ、前記受け入れ部への前記はめ込み部の受け入れ方向に直交する向きへの一定範囲の移動若しくは相対的な移動可能に、
前記第1部材に組み合わされる第2部材とからなり、
しかも、前記第1部材及び前記第2部材にそれぞれ、帯状体を通過させる通過部を備えさせると共に、この通過部において前記帯状体の長さ方向における任意の位置に一定の摩擦力を持って留めつくようにしてなる、ものとした。
【0006】
前記はめ込み部は頭部を備えており、
前記受け入れ部を、前記はめ込み部の前記受け入れを、前記回動方向に連続するように形成された弾性変形可能部の弾性変形、又は、前記移動方向に連続するように形成された弾性変形可能部の弾性変形により許容すると共に、前記受け入れの完了位置における前記弾性変形可能部の弾性復帰により前記頭部に係合するように構成させることが、この発明の態様の一つとされる。
【0007】
また、前記係合状態において、前記第1部材及び前記第2部材のいずれか一方に、これらの他方に対し前記回動又は相対的な回動の中心を巡るように形成された溝に入り込む凸部を形成させるようにすることが、この発明の態様の一つとされる。
【0008】
また、前記第1部材及び前記第2部材はそれぞれ、ベースと、このベースとの間で前記帯状体を挟持するように前記ベースに組み合わされて前記ベースとの間に前記通過部を形成させるカバーとを備えてなり、
前記はめ込み部を前記第1部材の前記ベースに形成し、かつ、前記受け入れ部を前記第2部材の前記ベースに形成させるようにすることが、この発明の態様の一つとされる。
【0009】
また、前記第1部材及び前記第2部材はそれぞれ、前記通過部に連通した2箇所の前記帯状体の引き出し開口を備えると共に、
前記第1部材の前記ベース及び前記第2部材の前記ベースはそれぞれ、前記引き出し開口の開口縁から外方に延び出すと共に延び出し端に近づくに連れて前記通過部に臨んだ内面に対向する前記ベースの外面との距離を漸増させるように前記外面と反対側に向けて傾斜状に延びるひれ部を備えたものとすることが、この発明の態様の一つとされる。
【0010】
また、前記第1部材及び前記第2部材はそれぞれ、前記通過部に連通した2箇所の前記帯状体の引き出し開口を備えると共に、
前記第1部材の前記ベース及び前記第2部材の前記ベースはそれぞれ、前記通過部に臨んだ内面のうちの前記引き出し開口の開口縁の手前に位置して前記開口縁に続く一部を、前記引き出し開口に近づくに連れて前記ベースの外面との距離を漸増させる向きに傾斜させたものとすることが、この発明の態様の一つとされる。
(【0011】以降は省略されています)
この特許をJ-PlatPat(特許庁公式サイト)で参照する
関連特許
株式会社ニフコ
クリップ
10日前
株式会社ニフコ
締結構造
1か月前
株式会社ニフコ
クリップ
1か月前
株式会社ニフコ
風防装置
1か月前
株式会社ニフコ
熱交換モジュール
1か月前
株式会社ニフコ
リテーナ固定構造
2か月前
株式会社ニフコ
車載機器用保持装置
1か月前
株式会社ニフコ
帯状体用アクセサリー
1か月前
トヨタ紡織株式会社
カップホルダー
1か月前
ZACROS株式会社
熱交換装置及びバッテリーパック
1か月前
個人
装飾体
12か月前
個人
装飾体
26日前
個人
名札留め
9か月前
個人
指輪
5か月前
個人
装身具
5か月前
個人
ベルト等の留め具
2か月前
個人
ネイルアクセサリー
10か月前
個人
スナップファスナー
7か月前
個人
装身具
4か月前
合同会社川畑
ベルト
10か月前
個人
爪装着具および爪装身具
7か月前
個人
荷物運搬軽減補助バックル
7か月前
モリト株式会社
バックル
7か月前
株式会社セベル・ピコ
イヤリング
10か月前
個人
装飾用部材、及び装飾品
1か月前
個人
缶製品及び缶製品作成方法
2か月前
YKK株式会社
ファスナー用引手
4か月前
株式会社トップジュエリー
装身具
5か月前
個人
縫わずにプッチンと取付けるボタン
8か月前
個人
腕時計のベルトの長さの採寸治具
2か月前
株式会社ニフコ
帯状体用アクセサリー
1か月前
株式会社Lin
裸石入れ替え式ペンダント石枠
2か月前
株式会社クロノコーポレーション
連結具
3日前
YKK株式会社
スライダー及びファスナー
4か月前
株式会社B.L.S.
固定構造および宝飾品
8か月前
株式会社クロスフォー
指輪、及びその製造方法
6か月前
続きを見る
他の特許を見る