TOP
|
特許
|
意匠
|
商標
特許ウォッチ
Twitter
他の特許を見る
10個以上の画像は省略されています。
公開番号
2025147632
公報種別
公開特許公報(A)
公開日
2025-10-07
出願番号
2024047974
出願日
2024-03-25
発明の名称
熱交換装置及びバッテリーパック
出願人
ZACROS株式会社
,
株式会社ニフコ
代理人
個人
,
個人
主分類
H01M
10/6556 20140101AFI20250930BHJP(基本的電気素子)
要約
【課題】熱交換媒体が流通する熱交換流路の閉塞を抑制し、冷却性能を向上させることができる熱交換装置を提供する。
【解決手段】本発明の一態様に係る熱交換装置は、内部に、熱交換媒体が流通する熱交換流路を有する袋体と、内部に、前記熱交換流路の一端に連通し、前記熱交換流路に前記熱交換媒体を供給する供給流路と、前記熱交換流路の他端に連通し、前記熱交換媒体を回収する回収流路とを有する基体とを備え、前記袋体は、表面シートと、前記表面シートと対向する裏面シートと、前記熱交換媒体が流入する流入口と、前記熱交換媒体が流出する流出口と、前記表面シートの表面に設けられた閉塞防止部材とを有する。
【選択図】図1
特許請求の範囲
【請求項1】
内部に、熱交換媒体が流通する熱交換流路を有する袋体と、
内部に、前記熱交換流路の一端に連通し、前記熱交換流路に前記熱交換媒体を供給する供給流路と、前記熱交換流路の他端に連通し、前記熱交換媒体を回収する回収流路とを有する基体とを備え、
前記袋体は、表面シートと、前記表面シートと対向する裏面シートと、前記熱交換媒体が流入する流入口と、前記熱交換媒体が流出する流出口と、前記表面シートの表面に設けられた閉塞防止部材とを有する熱交換装置。
続きを表示(約 770 文字)
【請求項2】
前記表面シートは、最も内側に第1シーラント層を有する積層フィルムから構成され、
前記裏面シートは、最も内側に第2シーラント層を有する積層フィルムから構成され、
前記袋体は、周縁部において、前記第1シーラント層と前記第2シーラント層とが接合された周縁シール部と、前記周縁シール部より内側において、前記第1シーラント層と前記第2シーラント層とが接合された内側シール部とを有し、
前記熱交換流路は、前記周縁シール部と、前記内側シール部と、前記袋体の内面とから構成されている請求項1に記載の熱交換装置。
【請求項3】
前記閉塞防止部材は、前記周縁シール部及び前記内側シール部における前記表面シートの表面の少なくとも一部に設けられている請求項2に記載の熱交換装置。
【請求項4】
前記内側シール部における前記表面シートは、貫通孔を有し、
前記第2シーラント層は、前記貫通孔から露出した露出部を有し、
前記閉塞防止部材は、前記露出部と熱融着している請求項3に記載の熱交換装置。
【請求項5】
前記閉塞防止部材及び前記第2シーラント層は、同種の樹脂を含む請求項4に記載の熱交換装置。
【請求項6】
前記表面シート及び前記裏面シートのそれぞれは、金属層を含む請求項5に記載の熱交換装置。
【請求項7】
前記基体に、複数の前記袋体が互いに離隔して並列に取り付けられている請求項1から6のいずれか一項に記載の熱交換装置。
【請求項8】
請求項7に記載の熱交換装置と、
複数のバッテリーセルとを備え、
前記複数のバッテリーセルのそれぞれは、前記複数の袋体の各間に配置されているバッテリーパック。
発明の詳細な説明
【技術分野】
【0001】
本発明は、熱交換装置及びバッテリーパックに関する。
続きを表示(約 1,500 文字)
【背景技術】
【0002】
従来、電気自動車等に搭載されるバッテリーの使用時に発生する熱を冷却する熱交換装置が知られている。
【0003】
例えば、特許文献1には、バッテリーモジュールの下面とバッテリーケースの底板部の上面との間に配された冷却器と、冷却器の内部に形成され、冷却器の上壁部と下壁部とを連結する隔壁部と、冷却器の内部において、隔壁部で区画されることにより水平方向に並列するように形成され、冷却液を流動させる複数の整流路とを備えるバッテリー用冷却装置が開示されている。
【先行技術文献】
【特許文献】
【0004】
特開2018-163741号公報
【発明の概要】
【発明が解決しようとする課題】
【0005】
しかしながら、このような従来の熱交換装置では、冷却部位がバッテリーの下面であるため、バッテリーの側面からの発熱を抑制することができず、十分な冷却性能が得られないという問題があった。
【0006】
上記の点に鑑みて、本発明の一態様は、熱交換媒体が流通する熱交換流路の閉塞を抑制し、冷却性能を向上させることができる熱交換装置を提供することを目的とする。
【課題を解決するための手段】
【0007】
本発明の一態様に係る熱交換装置は、内部に、熱交換媒体が流通する熱交換流路を有する袋体と、内部に、前記熱交換流路の一端に連通し、前記熱交換流路に前記熱交換媒体を供給する供給流路と、前記熱交換流路の他端に連通し、前記熱交換媒体を回収する回収流路とを有する基体とを備え、前記袋体は、表面シートと、前記表面シートと対向する裏面シートと、前記熱交換媒体が流入する流入口と、前記熱交換媒体が流出する流出口と、前記表面シートの表面に設けられた閉塞防止部材とを有する。
【発明の効果】
【0008】
本発明の一態様に係る熱交換装置によれば、熱交換媒体が流通する熱交換流路の閉塞を抑制し、冷却性能を向上させることができる。
【図面の簡単な説明】
【0009】
一実施形態による熱交換装置を一方向から見た斜視図である。
一実施形態による熱交換装置を一方向から見た分解斜視図である。
一実施形態による熱交換装置を他方向から見た斜視図である。
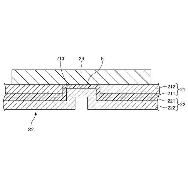
一実施形態による袋体の斜視図である。
図4のI-I断面を示す図である。
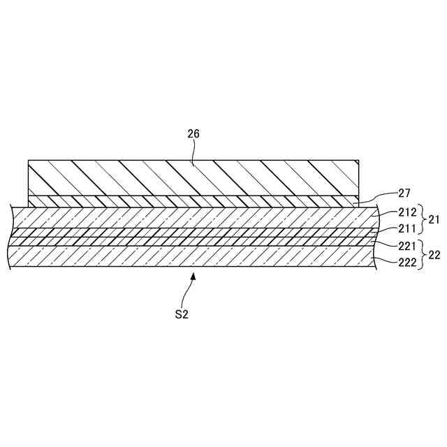
一実施形態による袋体の表面シートの断面の模式図である。
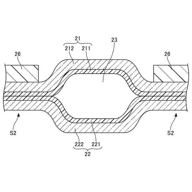
図4のII-II断面を示す図である。
袋体の他の例における図4のII-II断面を示す図である。
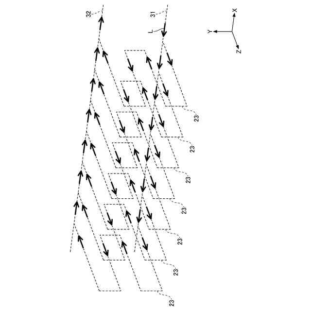
一実施形態による熱交換装置における熱交換媒体の流れを説明する図である。
一実施形態による熱交換装置の製造方法を説明する概略断面図である。
一実施形態によるバッテリーパックを一方向から見た斜視図である。
【発明を実施するための形態】
【0010】
以下、本発明を実施するための形態について図面を参照しながら説明する。なお、説明の理解を容易にするため、各図面において同一の構成要素に対しては同一の符号を付して、重複する説明は省略する場合がある。本明細書では、3軸方向(X方向、Y方向、Z方向)の3次元直交座標系を用い、基体3の表面F1に平行な面において、互いに直交する2つの方向のうち一方をX方向、他方をY方向とし、基体3の表面F1に垂直な方向をZ方向とする。なお、熱交換装置1の使用時の姿勢は、図1及び図2に示す例に限定されない。
(【0011】以降は省略されています)
この特許をJ-PlatPat(特許庁公式サイト)で参照する
関連特許
ZACROS株式会社
熱成形用シート及び包装容器
17日前
ZACROS株式会社
熱交換装置及びバッテリーパック
24日前
株式会社ニフコ
熱交換モジュール
24日前
ZACROS株式会社
表面保護フィルム、光学部品および電子装置
22日前
ZACROS株式会社
ガスバリアフィルム、積層フィルム及び包装袋
1か月前
ZACROS株式会社
フィルム、積層フィルム、包装袋、ペレットおよびリサイクルフィルム
22日前
東ソー株式会社
絶縁電線
9日前
APB株式会社
蓄電セル
7日前
個人
フレキシブル電気化学素子
21日前
株式会社東芝
端子台
1日前
ローム株式会社
半導体装置
23日前
ローム株式会社
半導体装置
28日前
株式会社ユーシン
操作装置
21日前
ローム株式会社
半導体装置
8日前
日新イオン機器株式会社
イオン源
17日前
マクセル株式会社
電源装置
1日前
太陽誘電株式会社
全固体電池
28日前
株式会社ホロン
冷陰極電子源
28日前
株式会社GSユアサ
蓄電設備
21日前
太陽誘電株式会社
コイル部品
21日前
株式会社GSユアサ
蓄電装置
28日前
株式会社ホロン
冷陰極電子源
15日前
株式会社GSユアサ
蓄電設備
21日前
株式会社GSユアサ
蓄電装置
2日前
株式会社GSユアサ
蓄電装置
2日前
オムロン株式会社
電磁継電器
22日前
トヨタ自動車株式会社
蓄電装置
2日前
トヨタ自動車株式会社
蓄電装置
21日前
トヨタ自動車株式会社
冷却構造
9日前
トヨタ自動車株式会社
バッテリ
22日前
ノリタケ株式会社
熱伝導シート
21日前
北道電設株式会社
配電具カバー
7日前
日新イオン機器株式会社
基板処理装置
4日前
日本特殊陶業株式会社
保持装置
28日前
日本特殊陶業株式会社
保持装置
28日前
日本特殊陶業株式会社
保持装置
10日前
続きを見る
他の特許を見る