TOP
|
特許
|
意匠
|
商標
特許ウォッチ
Twitter
他の特許を見る
公開番号
2025173628
公報種別
公開特許公報(A)
公開日
2025-11-28
出願番号
2024079248
出願日
2024-05-15
発明の名称
複合型熱交換器
出願人
株式会社ティラド
代理人
個人
,
個人
主分類
F28F
1/00 20060101AFI20251120BHJP(熱交換一般)
要約
【課題】
複数の熱交換系統であっても、熱交換器の数の増加を抑制する、複合型熱交換器を提供する。
【解決手段】
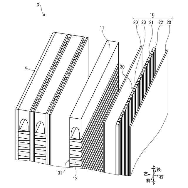
本発明において、複合型熱交換器1は、第1方向に並列に配置される複数のチューブ10と、隣り合うチューブ10の間で第1方向に直交する第2方向の両端部に設けられ、隣り合うチューブ10を連結させるヘッダーバー11と、を備える。チューブ10は、第1方向に並列に配置される一対のチューブプレート20と、第1方向及び第2方向に直交する第3方向の両端部に設けられ、一対のチューブプレート20を連結させるチューブバー22と、を備える。更に、チューブ10は、一対のチューブプレート20の間に設けられ、チューブ10の内部を第3方向に仕切る仕切り部23を備えている。そして、複合型熱交換器1は、仕切り部23によって仕切られたチューブ10内の異なる複数の内部流体流路30に、熱交換系統の異なる内部流体を流通させる。
【選択図】図2
特許請求の範囲
【請求項1】
第1方向に並列に配置される複数のチューブ(10)と、
隣り合う前記チューブ(10)の間で前記第1方向に直交する第2方向の両端部に設けられ、隣り合う前記チューブ(10)を連結させるヘッダーバー(11)と、を備え、
前記チューブ(10)は、前記第1方向に並列に配置される一対のチューブプレート(20)と、前記第1方向及び前記第2方向に直交する第3方向の両端部に設けられ、前記一対のチューブプレート(20)を連結させるチューブバー(22)と、
前記一対のチューブプレート(20)の間に設けられ、前記チューブ(10)の内部を前記第3方向に仕切る仕切り部(23)と、を備え、
前記仕切り部(23)によって仕切られた前記チューブ(10)内の異なる複数の内部流体流路(30)に、熱交換系統の異なる流体を流通させることを特徴とする複合型熱交換器(1)。
続きを表示(約 220 文字)
【請求項2】
前記仕切り部(23)は、中空部(23a)を有することを特徴とする請求項1に記載の複合型熱交換器(1)。
【請求項3】
隣り合う前記チューブ(10)の間で前記第3方向に熱媒体を流通させる外部流体流路(31)を有し、
前記複数の内部流体流路(30)のうち、前記第3方向においてより上流側に位置する内部流体流路(30)に、より低温の流体を流通させることを特徴とする請求項1に記載の複合型熱交換器(1)。
発明の詳細な説明
【技術分野】
【0001】
本発明は、複合型熱交換器に関する。
続きを表示(約 1,400 文字)
【背景技術】
【0002】
建設機械等の作業機械は、複数の油圧系統を備えていて、それぞれにオイルクーラ等の熱交換器を備える必要があるため、搭載する熱交換器の数が多くなってしまう。従来の作業機械では、複数の油圧系統のそれぞれに対応して複数の流体の熱交換を行う複数の熱交換器を組み合わせた熱交換器アッセンブリを搭載したものがある。
【0003】
また、建設機械に搭載される熱交換器として、いわゆる、バー・アンド・プレート方式熱交換器が知られている。例えば、特許文献1に開示された積層型熱交換器は、平面が方形の多数のプレートと、その両側に介装される多数のバー材とからなる、バー・アンド・プレート方式熱交換器である。バー・アンド・プレート方式熱交換器では、一対のプレートと一対のバー材とで囲まれた領域が、流体を流通させるための流路となる。
【先行技術文献】
【特許文献】
【0004】
実公平6-39250号公報
【発明の概要】
【発明が解決しようとする課題】
【0005】
建設機械等の作業機械では、上記したように複数の流体のために必要な熱交換器の数が多いので、それぞれの熱交換器の独立したコアを組み合わせた熱交換器アッセンブリは大型化してしまう。また、作業機械では、大型の熱交換器アッセンブリを搭載するためのレイアウトやスペースを確保することが困難であり、大型の熱交換器アッセンブリを搭載するための部品の数が増加して工数やコストが増加してしまう。
【0006】
本発明は、上記した課題を解決すべくなされたものであり、大型化することなく、複数の流体の熱交換を行うことができる複合型熱交換器を提供することを目的とする。
【課題を解決するための手段】
【0007】
上記した目的を達成するため、本発明において、複合型熱交換器1は、第1方向に並列に配置される複数のチューブ10と、隣り合う前記チューブ10の間で前記第1方向に直交する第2方向の両端部に設けられ、隣り合う前記チューブ10を連結させるヘッダーバー11と、を備え、前記チューブ10は、前記第1方向に並列に配置される一対のチューブプレート20と、前記第1方向及び前記第2方向に直交する第3方向の両端部に設けられ、前記一対のチューブプレート20を連結させるチューブバー22と、前記一対のチューブプレート20の間に設けられ、前記チューブ10の内部を前記第3方向に仕切る仕切り部23と、を備え、前記仕切り部23によって仕切られた前記チューブ10内の異なる複数の内部流体流路30に、熱交換系統の異なる流体を流通させることを特徴とする。
【0008】
本発明において、前記仕切り部23は、中空部23aを有するとよい。
【0009】
本発明において、複合型熱交換器1は、隣り合う前記チューブ10の間で前記第3方向に熱媒体を流通させる外部流体流路31を有し、前記複数の内部流体流路30のうち、前記第3方向においてより上流側に位置する内部流体流路30に、より低温の流体を流通させるとよい。
【発明の効果】
【0010】
本発明によれば、複合型熱交換器は、大型化することなく、複数の流体の熱交換を行うことができる。
【図面の簡単な説明】
(【0011】以降は省略されています)
この特許をJ-PlatPat(特許庁公式サイト)で参照する
関連特許
株式会社ティラド
複合型熱交換器
1日前
個人
排熱回収装置
3か月前
個人
冷却装置の蒸発器
1か月前
個人
放射冷却装置
1か月前
個人
熱交換装置
6か月前
個人
熱交換装置
1か月前
ホーコス株式会社
熱交換ユニット
10か月前
三恵技研工業株式会社
熱交換器
7か月前
三恵技研工業株式会社
熱交換器
7か月前
アンリツ株式会社
検査装置
7か月前
アンリツ株式会社
検査装置
7か月前
株式会社パイオラックス
熱交換器
9か月前
株式会社ティラド
ラジエータ
10か月前
日産自動車株式会社
熱交換器
9か月前
新光電気工業株式会社
蓄熱装置
2か月前
株式会社アイシン
水噴射冷却システム
10か月前
サンデン株式会社
熱交換器
8か月前
サンデン株式会社
熱交換器
10か月前
株式会社デンソー
熱交換器
5か月前
株式会社デンソー
熱交換器
6か月前
株式会社アイシン
熱交換器
6か月前
サンデン株式会社
熱交換器
8か月前
ZACROS株式会社
熱交換装置
7か月前
サンデン株式会社
熱交換器
10か月前
株式会社デンソー
熱交換器
6か月前
サンデン株式会社
熱交換器
10か月前
栗田工業株式会社
冷却塔システム
5か月前
株式会社アイシン
熱交換器
9日前
株式会社デンソー
熱交換器
6か月前
栗田工業株式会社
冷却塔システム
10か月前
日新電機株式会社
化学蓄熱反応器
11か月前
株式会社ティラド
複合型熱交換器
1日前
中部抵抗器株式会社
密閉構造体用冷却装置
11か月前
古河電気工業株式会社
ヒートパイプ
10か月前
TPR株式会社
熱電発電機能付き熱交換器
8か月前
株式会社デンソー
熱交換装置
1か月前
続きを見る
他の特許を見る