TOP
|
特許
|
意匠
|
商標
特許ウォッチ
Twitter
他の特許を見る
公開番号
2025138190
公報種別
公開特許公報(A)
公開日
2025-09-25
出願番号
2024037124
出願日
2024-03-11
発明の名称
熱交換器
出願人
株式会社富士通ゼネラル
代理人
弁理士法人南青山国際特許事務所
主分類
F28F
3/00 20060101AFI20250917BHJP(熱交換一般)
要約
【課題】異なる物性を持つ流体を用いる積層型熱交換器において、それぞれの流体の特性を生かし、伝熱性能の向上と、信頼性の確保とを両立させた熱交換器を提供する。
【解決手段】熱交換器は、複数の伝熱板を積層して形成された熱交換器である。上記複数の伝熱板は、複数の第1伝熱板と複数の第2伝熱板とを有し、上記第1伝熱板と上記第2伝熱板とが交互に積層される。上記複数の第1伝熱板のそれぞれには、第1流体が流れる第1流路が形成され、上記複数の第2伝熱板のそれぞれには、第2流体が流れる第2流路が形成される。上記第1流路は、第1流路壁によって形成され、上記第2流路は、第2流路壁によって形成される。上記第1流路壁の長さが上記第2流路壁の長さよりも短い。
【選択図】図3
特許請求の範囲
【請求項1】
複数の伝熱板を積層して形成された熱交換器であって、
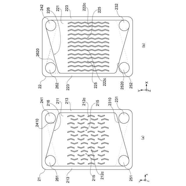
前記複数の伝熱板は、複数の第1伝熱板と複数の第2伝熱板とを有し、前記第1伝熱板と前記第2伝熱板とが交互に積層され、
前記複数の第1伝熱板のそれぞれには、第1流体が流れる第1流路が形成され、前記複数の第2伝熱板のそれぞれには、第2流体が流れる第2流路が形成され、
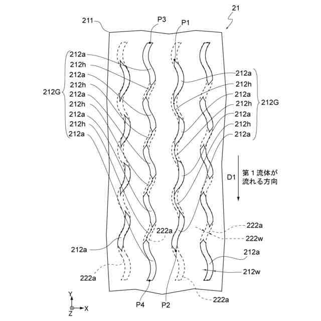
前記第1流路は、第1流路壁によって形成され、前記第2流路は、第2流路壁によって形成され、
前記第1流路壁の長さが前記第2流路壁の長さよりも短い
熱交換器。
続きを表示(約 440 文字)
【請求項2】
請求項1に記載された熱交換器であって、
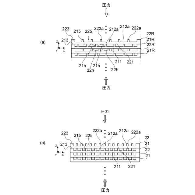
前記複数の伝熱板が積層された積層方向において、前記第1流路壁と、前記第2流路壁とが重なる
熱交換器。
【請求項3】
請求項1または2に記載された熱交換器であって、
前記第1流路壁は、前記第1流体が流れる方向において断続的に並ぶ
熱交換器。
【請求項4】
請求項3に記載された熱交換器であって、
前記第1流路壁が断続的に並んだ前記第1流路壁の群の長さが前記第2流路壁の長さ未満である
熱交換器。
【請求項5】
請求項1または2に記載された熱交換器であって、
前記第2流路壁は、前記第2流体が流れる方向において断続的に並ぶ
熱交換器。
【請求項6】
請求項1または2に記載された熱交換器であって、
前記第1流路壁の幅は、前記第2流路壁の幅以下に形成されている
熱交換器。
発明の詳細な説明
【技術分野】
【0001】
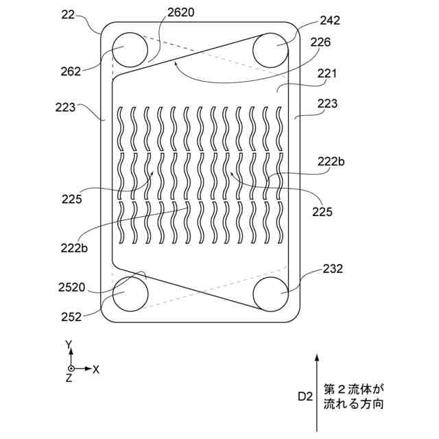
本発明は、積層型の熱交換器に関する。
続きを表示(約 1,500 文字)
【背景技術】
【0002】
流路が形成された複数の伝熱板を積層し、拡散接合によって複数の伝熱板を一体化した積層型熱交換器がある。複数の伝熱板においては、第1流体としての水を流す第1伝熱板と、第2流体としての冷媒を流す第2伝熱板とが交互に積層される。このような熱交換器では、異なる流体間で熱交換が行われる。
【0003】
従来の積層型熱交換器では、確実に拡散接合を行い、且つ、十分な耐圧を得るために第1伝熱板または第2伝熱板として、同じ板厚の伝熱板に同じ形状の流路を形成したものを用いていた。このため、異なる流体のそれぞれの熱伝達率や圧力損失などの物性が異なる場合、熱交換器として十分な熱交換量が得られなかったり、熱交換器を含む冷媒回路に流体を流す動力が大きくなったりして、熱交換器を用いる冷凍装置の冷凍能力や運転効率が低下することがあった。
【0004】
これに対し、積層型熱交換器と似た構造を持つプレート式熱交換器において、熱伝達率と圧力損失とが第2流体よりも大きい第1流体について、その流路断面積を相対的に大きく形成したものがある(例えば、特許文献1参照)。このような構造によれば、第1流体の圧力損失を低減させ、且つ、熱伝達率の低い第2流体側の伝熱性能を確保することができ、この結果、熱交換器を用いる冷凍装置の冷凍能力や運転効率が向上する。そして、この技術を積層型熱交換器に適用した例がある(例えば、特許文献2参照)
【先行技術文献】
【特許文献】
【0005】
特開平10-288480号公報
特開2003-172588号公報
【発明の概要】
【発明が解決しようとする課題】
【0006】
但し、積層型熱交換器では、拡散接合時に交互に積層された伝熱板(以下、積層体)が積層方向に加圧される。このとき、積層体中で加圧による圧力を受ける部分に中空部が存在すると、この中空部の影響で加圧力が充分に伝わらず確実な拡散接合ができなくなったり、拡散接合時に流路が変形したりして、熱交換器として充分な信頼性を確保できなくなる場合がある。
【0007】
以上のような事情に鑑み、本発明の目的は、異なる物性を持つ流体を用いる積層型熱交換器において、それぞれの流体の特性を生かし、伝熱性能の向上と、信頼性の確保とを両立させた熱交換器を提供することにある。
【課題を解決するための手段】
【0008】
上記目的を達成するため、本発明の一形態に係る熱交換器は、複数の伝熱板を積層して形成された熱交換器である。
上記複数の伝熱板は、複数の第1伝熱板と複数の第2伝熱板とを有し、上記第1伝熱板と上記第2伝熱板とが交互に積層される。
上記複数の第1伝熱板のそれぞれには、第1流体が流れる第1流路が形成され、上記複数の第2伝熱板のそれぞれには、第2流体が流れる第2流路が形成される。
上記第1流路は、第1流路壁によって形成され、上記第2流路は、第2流路壁によって形成される。
上記第1流路壁の長さが上記第2流路壁の長さよりも短い。
【0009】
このような熱交換器であれば、異なる物性を持つ流体を用いる積層型熱交換器において、それぞれの流体の特性が生かされ、伝熱性能が向上と信頼性の確保とが両立する。
【0010】
上記熱交換器においては、上記複数の伝熱板が積層された積層方向において、上記第1流路壁と、上記第2流路壁とが重なってもよい。
熱交換器。
(【0011】以降は省略されています)
この特許をJ-PlatPat(特許庁公式サイト)で参照する
関連特許
個人
排熱回収装置
2か月前
個人
熱交換装置
4か月前
ホーコス株式会社
熱交換ユニット
8か月前
三恵技研工業株式会社
熱交換器
6か月前
三恵技研工業株式会社
熱交換器
6か月前
住友精密工業株式会社
熱交換器
11か月前
株式会社パイオラックス
熱交換器
8か月前
アンリツ株式会社
検査装置
5か月前
アンリツ株式会社
検査装置
5か月前
日産自動車株式会社
熱交換器
7か月前
株式会社ティラド
ラジエータ
8か月前
新光電気工業株式会社
蓄熱装置
24日前
個人
熱交換器
10か月前
スズキ株式会社
熱交換器
11か月前
株式会社アイシン
水噴射冷却システム
8か月前
株式会社デンソー
熱交換器
10か月前
栗田工業株式会社
冷却塔システム
8か月前
日新電機株式会社
化学蓄熱反応器
9か月前
株式会社デンソー
熱交換器
3か月前
栗田工業株式会社
冷却塔システム
3か月前
サンデン株式会社
熱交換器
8か月前
サンデン株式会社
熱交換器
8か月前
サンデン株式会社
熱交換器
6か月前
ZACROS株式会社
熱交換装置
5か月前
株式会社デンソー
熱交換器
4か月前
株式会社デンソー
熱交換器
4か月前
サンデン株式会社
熱交換器
6か月前
株式会社アイシン
熱交換器
4か月前
株式会社デンソー
熱交換器
4か月前
サンデン株式会社
熱交換器
8か月前
株式会社神戸製鋼所
積層型熱交換器
4か月前
TPR株式会社
熱電発電機能付き熱交換器
6か月前
古河電気工業株式会社
ヒートパイプ
8か月前
中部抵抗器株式会社
密閉構造体用冷却装置
9か月前
個人
液冷放熱装置
11か月前
愛知製鋼株式会社
化学蓄熱装置
11か月前
続きを見る
他の特許を見る