TOP
|
特許
|
意匠
|
商標
特許ウォッチ
Twitter
他の特許を見る
10個以上の画像は省略されています。
公開番号
2025148899
公報種別
公開特許公報(A)
公開日
2025-10-08
出願番号
2024049241
出願日
2024-03-26
発明の名称
粉体シール部材
出願人
愛知製鋼株式会社
代理人
個人
,
個人
,
個人
主分類
F28D
20/00 20060101AFI20251001BHJP(熱交換一般)
要約
【課題】孔と挿通部材との隙間における粉体の通過を抑制可能な粉体シール部材を提供することを課題とする。
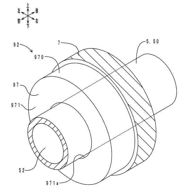
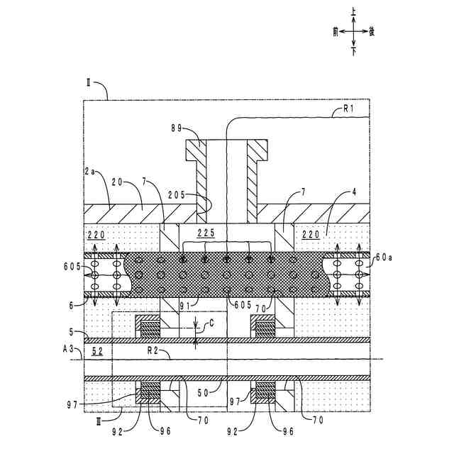
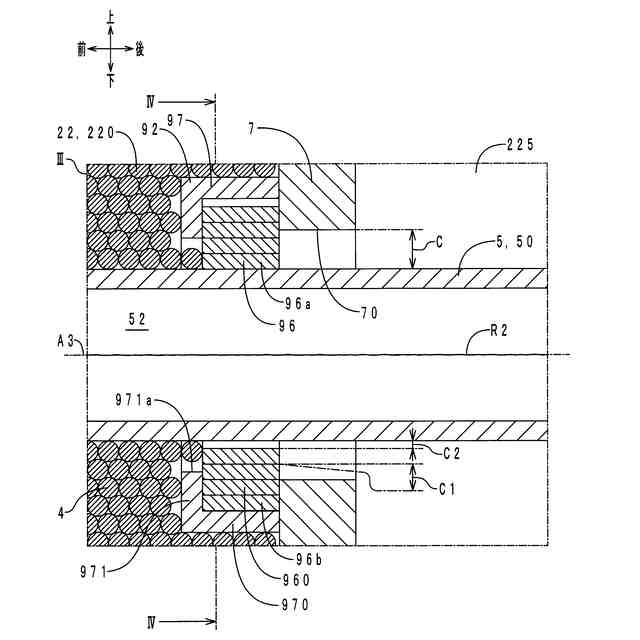
【解決手段】孔70の孔軸A3が延在する方向を軸方向、孔軸A3を中心とする半径方向を径方向として、粉体シール部材92は、軸方向から見て渦巻き状であって、径方向に作用する弾性力により、挿通部材5の外周面および孔70の内周面のうち少なくとも一方に弾接するシールコイル96を備える。シールコイル96は、径方向に隣り合う複数の巻回層960を有し、少なくとも一つの巻回層960が軸方向に移動することにより、有孔部材7に対する挿通部材5の軸方向の位置ずれに応じて、変形可能である。
【選択図】図3
特許請求の範囲
【請求項1】
孔を有する有孔部材の前記孔と、前記孔に挿通される挿通部材と、の隙間における粉体の通過を抑制する粉体シール部材であって、
前記孔の孔軸が延在する方向を軸方向、前記孔軸を中心とする半径方向を径方向として、
前記軸方向から見て渦巻き状であって、前記径方向に作用する弾性力により、前記挿通部材の外周面および前記孔の内周面のうち少なくとも一方に弾接するシールコイルを備え、
前記シールコイルは、前記径方向に隣り合う複数の巻回層を有し、少なくとも一つの前記巻回層が前記軸方向に移動することにより、前記有孔部材に対する前記挿通部材の前記軸方向の位置ずれに応じて、変形可能であることを特徴とする粉体シール部材。
続きを表示(約 960 文字)
【請求項2】
複数の前記巻回層は、前記径方向に互いに接触している請求項1に記載の粉体シール部材。
【請求項3】
前記シールコイルの内端部は、前記径方向内側に作用する弾性力により、前記挿通部材の外周面に弾接する請求項1に記載の粉体シール部材。
【請求項4】
さらに、前記有孔部材に対する前記シールコイルの外端部の前記軸方向位置を固定する軸方向位置決め部材を備える請求項3に記載の粉体シール部材。
【請求項5】
収容部を内部に区画する反応器と、前記収容部に配置される蓄熱体と、を備える化学蓄熱装置に用いられ、
前記挿通部材は、前記収容部に挿通され、
前記有孔部材は、前記反応器の内部において前記収容部を区画し、前記粉体シール部材を介して、前記挿通部材を支持する支持部材であり、
前記孔は、前記支持部材に開設される支持孔であり、
前記粉体は、前記蓄熱体である請求項1に記載の粉体シール部材。
【請求項6】
収容部を内部に区画する反応器と、前記収容部に配置される蓄熱体と、を備える化学蓄熱装置に用いられ、
前記挿通部材は、前記収容部に挿通され、
前記有孔部材は、前記反応器であり、
前記孔は、前記反応器の壁部に開設される支持孔であり、
前記粉体は、前記蓄熱体である請求項1に記載の粉体シール部材。
【請求項7】
前記挿通部材は、前記蓄熱体と熱の授受を行う熱媒体が通過する熱媒体流路を内部に区画する伝熱部材である請求項5または請求項6に記載の粉体シール部材。
【請求項8】
さらに、有底筒状であって、前記収容部に配置され、前記支持部材に伏設され、内部に前記シールコイルを収容し、前記挿通部材に対する前記シールコイルの外端部の前記軸方向位置を固定するカラーを備える請求項5に記載の粉体シール部材。
【請求項9】
さらに、有底筒状であって、前記収容部に配置され、前記反応器の前記壁部に伏設され、内部に前記シールコイルを収容し、前記挿通部材に対する前記シールコイルの外端部の前記軸方向位置を固定するカラーを備える請求項6に記載の粉体シール部材。
発明の詳細な説明
【技術分野】
【0001】
本開示は、隙間における粉体の通過を抑制可能な粉体シール部材に関する。
続きを表示(約 1,800 文字)
【背景技術】
【0002】
特許文献1の放熱管は、芯管と、外管と、固定密閉リングと、蓄熱室と、を備えている。芯管の内部には、媒液が流通している。芯管は、外菅を軸方向に貫通している。固定密閉リングは、外菅の軸方向端に配置されている。固定密閉リングは、外菅と芯管とを径方向に連結している。蓄熱室は、外菅と芯管との間に区画されている。蓄熱室には、蓄熱剤が充填されている。蓄熱室を密閉するため、固定密閉リングの径方向内端は芯管に、径方向外端は外菅に、各々ロウ付けされている。
【先行技術文献】
【特許文献】
【0003】
特開平8-226780号公報
【発明の概要】
【発明が解決しようとする課題】
【0004】
しかしながら、ロウ付けにより、芯管は固定密閉リングに固定されてしまう。このため、固定密閉リングに対する芯管の熱変形が阻害されてしまう。よって、芯管や固定密閉リングに熱応力が発生しやすい。
【0005】
熱応力の発生を抑制するためには、芯管を固定密閉リングに固定しなければよい。ところが、この場合、芯管と固定密閉リングとの隙間を介して、蓄熱室から外部に、蓄熱剤が漏出しやすくなる。そこで、本開示は、孔と挿通部材との隙間における粉体の通過を抑制可能な粉体シール部材を提供することを目的とする。
【課題を解決するための手段】
【0006】
(1)上記課題を解決するため、本開示の粉体シール部材は、孔を有する有孔部材の前記孔と、前記孔に挿通される挿通部材と、の隙間における粉体の通過を抑制する粉体シール部材であって、前記孔の孔軸が延在する方向を軸方向、前記孔軸を中心とする半径方向を径方向として、前記軸方向から見て渦巻き状であって、前記径方向に作用する弾性力により、前記挿通部材の外周面および前記孔の内周面のうち少なくとも一方に弾接するシールコイルを備え、前記シールコイルは、前記径方向に隣り合う複数の巻回層を有し、少なくとも一つの前記巻回層が前記軸方向に移動することにより、前記有孔部材に対する前記挿通部材の前記軸方向の位置ずれに応じて、変形可能であることを特徴とする。
【0007】
シールコイルは、挿通部材の外周面および孔の内周面のうち、少なくとも一方に弾接している。このため、有孔部材に対する挿通部材の軸方向の位置ずれ(以下、適宜、「位置ずれ」と略称する)が発生する場合であっても、当該位置ずれに起因する不具合(例えば、当該位置ずれが熱に起因する場合は熱応力など)が、有孔部材や挿通部材に発生するのを、抑制することができる。なお、位置ずれの原因としては、一例として、「有孔部材に対する挿通部材の軸方向の変形および移動(変位)のうち、少なくとも一方」が挙げられる。
【0008】
シールコイルの複数の巻回層のうち、少なくとも一つの巻回層は、他の巻回層に対して、軸方向にずれることができる。このため、位置ずれが発生しても、シールコイルは、当該位置ずれに追従して、変形することができる。したがって、位置ずれが発生しても、有孔部材の孔と挿通部材との隙間における、粉体の通過を抑制することができる。
【0009】
(1-1)上記(1)の構成において、前記位置ずれの際、複数の前記巻回層のうち、少なくとも一つの前記巻回層は、前記隙間に進入する構成とする方がよい。本構成によると、位置ずれの際、有孔部材の孔と挿通部材との隙間に、少なくとも一つの巻回層(詳しくは、当該巻回層の少なくとも一部)が進入する。このため、隙間に巻回層が進入しない場合と比較して、隙間の径方向の断面積(通路断面積)を小さくすることができる。したがって、隙間における粉体の通過を抑制することができる。
【0010】
(1-2)上記いずれかの構成において、前記シールコイルは、前記隙間における、前記粉体の通過を抑制し、気体の通過を許容する構成とする方がよい。本構成によると、有孔部材の孔と挿通部材との隙間において、気体の通過を許容することができる。このため、隙間において、粉体のみならず気体の通過をも抑制する場合(この場合も、本開示の粉体シール部材の概念に含まれる)と比較して、厳密なシール性は不要である。したがって、粉体シール部材の製造コストを削減することができる。
(【0011】以降は省略されています)
この特許をJ-PlatPat(特許庁公式サイト)で参照する
関連特許
愛知製鋼株式会社
電動モータ
1か月前
愛知製鋼株式会社
粉体シール部材
1か月前
愛知製鋼株式会社
磁気センサ装置
2か月前
愛知製鋼株式会社
リラクタンスモータ
1か月前
愛知製鋼株式会社
希土類磁石粉末の製造方法
1か月前
愛知製鋼株式会社
中空シャフト部材の製造方法
23日前
愛知製鋼株式会社
リラクタンスモータ用ロータ
1か月前
愛知製鋼株式会社
磁気マーカの施工方法および施工用の補助工具
24日前
愛知製鋼株式会社
歯車部材の製造方法、歯車部材、および歯車部材の製造方法に用いられる鍛造金型
2か月前
株式会社豊田中央研究所
加工順序の決定装置、加工順序の決定方法、およびコンピュータプログラム
2か月前
個人
排熱回収装置
3か月前
個人
冷却装置の蒸発器
1か月前
個人
放射冷却装置
1か月前
個人
熱交換装置
6か月前
個人
熱交換装置
1か月前
ホーコス株式会社
熱交換ユニット
10か月前
三恵技研工業株式会社
熱交換器
8か月前
三恵技研工業株式会社
熱交換器
8か月前
アンリツ株式会社
検査装置
7か月前
アンリツ株式会社
検査装置
7か月前
株式会社パイオラックス
熱交換器
9か月前
株式会社ティラド
ラジエータ
10か月前
日産自動車株式会社
熱交換器
9か月前
新光電気工業株式会社
蓄熱装置
2か月前
株式会社アイシン
水噴射冷却システム
10か月前
サンデン株式会社
熱交換器
8か月前
サンデン株式会社
熱交換器
10か月前
株式会社デンソー
熱交換器
5か月前
株式会社デンソー
熱交換器
6か月前
株式会社アイシン
熱交換器
6か月前
サンデン株式会社
熱交換器
8か月前
ZACROS株式会社
熱交換装置
7か月前
サンデン株式会社
熱交換器
10か月前
株式会社デンソー
熱交換器
6か月前
サンデン株式会社
熱交換器
10か月前
栗田工業株式会社
冷却塔システム
5か月前
続きを見る
他の特許を見る