TOP
|
特許
|
意匠
|
商標
特許ウォッチ
Twitter
他の特許を見る
公開番号
2025130459
公報種別
公開特許公報(A)
公開日
2025-09-08
出願番号
2024027634
出願日
2024-02-27
発明の名称
磁気センサ装置
出願人
愛知製鋼株式会社
代理人
弁理士法人あいち国際特許事務所
主分類
G01R
33/02 20060101AFI20250901BHJP(測定;試験)
要約
【課題】意図せずにスイッチング素子がオン状態とオフ状態との間で切り替わることを抑制できる磁気センサ装置を提供すること。
【解決手段】磁気センサ装置1,2,3,4は、磁気検出素子10の感磁体11に対して周期的に励磁する通電回路30を備え、通電回路30は、電源20と感磁体11の一端11aとの間に配置され、オン状態とオフ状態とを切り替え可能に構成され、pチャネル型により構成される第1スイッチング素子31と、第1スイッチング素子31と感磁体11の一端11aとの間に配置され、オン状態を維持するように第2制御信号が入力される第2スイッチング素子32と、第2スイッチング素子32の制御信号線に並列接続され、寄生容量Ccよりも大きな容量Caを有するように構成されたキャパシタ35を備える。
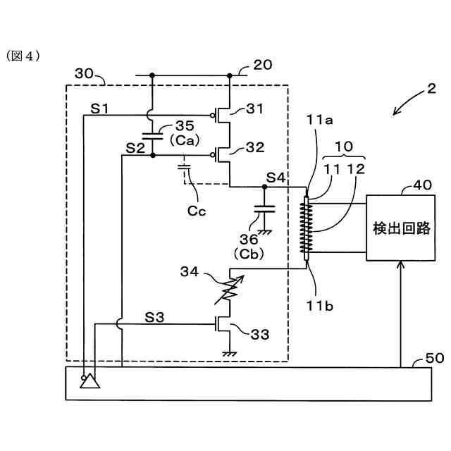
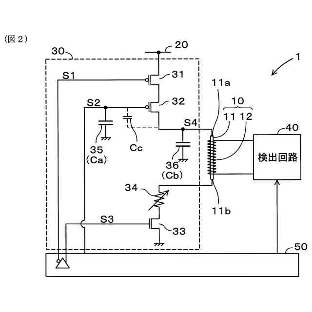
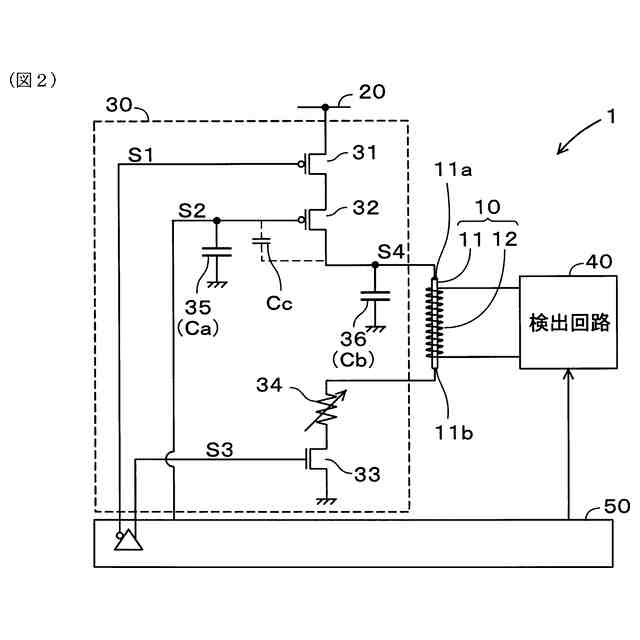
【選択図】図2
特許請求の範囲
【請求項1】
感磁体、および、前記感磁体に巻回された検出コイルを備える磁気検出素子と、
前記磁気検出素子の前記感磁体に対して周期的に励磁する通電回路と、
前記検出コイルに接続され、前記検出コイルに生じる電圧信号を検出する検出回路と、を備え、
前記通電回路は、
電源と前記感磁体の一端との間に配置され、オン/オフ信号である第1制御信号の入力に基づいて、前記感磁体に励磁電流を供給するオン状態と前記感磁体に励磁電流の供給を停止するオフ状態とを切り替え可能に構成され、pチャネル型により構成される第1スイッチング素子と、
前記第1スイッチング素子と前記感磁体の一端との間に配置され、オン状態を維持するように第2制御信号が入力される第2スイッチング素子と、
前記第2スイッチング素子の制御信号線に並列接続され、前記第2スイッチング素子における制御信号端子と前記第2スイッチング素子における前記感磁体の一端に接続される感磁体側端子との間の寄生容量よりも大きな容量を有し、前記第2スイッチング素子のオン状態を維持するように構成されたキャパシタと、を備える、磁気センサ装置。
続きを表示(約 920 文字)
【請求項2】
前記キャパシタは、一端が前記制御信号線に接続され、他端がグランド電位に接続される、請求項1に記載の磁気センサ装置。
【請求項3】
前記キャパシタは、一端が前記制御信号線に接続され、他端が前記電源に接続される、請求項1に記載の磁気センサ装置。
【請求項4】
前記通電回路は、さらに、
一端が前記第2スイッチング素子と前記感磁体の一端との間に位置する電流供給線に接続され、他端がグランド電位に接続される第2キャパシタを備える、請求項1~3のいずれか1項に記載の磁気センサ装置。
【請求項5】
前記第2スイッチング素子は、pチャネル型により構成される、請求項1~3のいずれか1項に記載の磁気センサ装置。
【請求項6】
前記第2スイッチング素子は、nチャネル型により構成される、請求項1~3のいずれか1項に記載の磁気センサ装置。
【請求項7】
前記第2スイッチング素子は、
前記第2制御信号として第2p側制御信号が入力され、pチャネル型により構成される第2p型スイッチング素子と
前記第2p型スイッチング素子に並列接続され、前記第2制御信号として前記第2p側制御信号を反転した第2n側制御信号が入力され、nチャネル型により構成される第2n型スイッチング素子と、を備える、請求項1~3のいずれか1項に記載の磁気センサ装置。
【請求項8】
前記通電回路は、さらに、
前記感磁体の他端とグランド電位との間に配置され、オン/オフ信号であって前記第1制御信号を反転した信号である第3制御信号の入力に基づいて、前記感磁体に励磁電流を供給するオン状態と前記感磁体に励磁電流の供給を停止するオフ状態とを切り替え可能に構成され、nチャネル型により構成される第3スイッチング素子を備える、請求項1~3のいずれか1項に記載の磁気センサ装置。
【請求項9】
前記通電回路は、さらに、
前記感磁体の他端と前記第3スイッチング素子との間に配置された可変抵抗を備える、請求項8に記載の磁気センサ装置。
発明の詳細な説明
【技術分野】
【0001】
本発明は、磁気センサ装置に関する。
続きを表示(約 2,100 文字)
【背景技術】
【0002】
特許文献1には、感磁体、および、感磁体に巻回された検出コイルを備える磁気検出素子を用いる磁気センサ装置が開示されている。磁気検出素子を構成する感磁体に対して周期的に励磁することによって検出コイルに誘導起電圧が発生する。この誘導起電圧が、磁気に応じた大きさとなることから、検出コイルの誘導起電圧を検出することによって、磁気の大きさを検出することができる。
【先行技術文献】
【特許文献】
【0003】
特開2006-184121号公報
【発明の概要】
【発明が解決しようとする課題】
【0004】
感磁体に対して周期的に励磁するための通電回路は、例えば、感磁体と電源との間に、pチャネル型により構成されるスイッチング素子を備える。このスイッチング素子のオン状態とオフ状態とを切り替えることによって、感磁体に対して励磁することができる。そして、感磁体に励磁電流が供給されることにより、検出コイルに誘導起電圧が発生する。
【0005】
しかしながら、検出コイルに生じた誘導起電圧の揺らぎが感磁体に逆伝搬され、感磁体の電圧に揺らぎを生じさせるおそれがある。感磁体の電圧の揺らぎは、感磁体に接続されている通電回路におけるスイッチング素子に伝達される。そうすると、スイッチング素子の動作電流が不安定となるおそれがある。スイッチング素子の動作電流が不安定になることにより、スイッチング素子から感磁体へ供給される励磁電流も不安定となり、検出コイルの誘導起電圧を安定して検出できなくなるおそれがある。つまり、磁気の大きさを高精度に検出できなくなるおそれがある。そこで、磁気の大きさを高精度に検出するためには、検出コイルの誘導起電圧の揺らぎがスイッチング素子へ伝達されることを抑制することが求められる。
【0006】
本発明は、かかる背景に鑑みてなされたものであり、磁気の大きさを高精度に検出できる磁気センサ装置を提供しようとするものである。
【課題を解決するための手段】
【0007】
本発明の一態様は、感磁体、および、前記感磁体に巻回された検出コイルを備える磁気検出素子と、
前記磁気検出素子の前記感磁体に対して周期的に励磁する通電回路と、
前記検出コイルに接続され、前記検出コイルに生じる電圧信号を検出する検出回路と、を備え、
前記通電回路は、
電源と前記感磁体の一端との間に配置され、オン/オフ信号である第1制御信号の入力に基づいて、前記感磁体に励磁電流を供給するオン状態と前記感磁体に励磁電流の供給を停止するオフ状態とを切り替え可能に構成され、pチャネル型により構成される第1スイッチング素子と、
前記第1スイッチング素子と前記感磁体の一端との間に配置され、オン状態を維持するように第2制御信号が入力される第2スイッチング素子と、
前記第2スイッチング素子の制御信号線に並列接続され、前記第2スイッチング素子における制御信号端子と前記第2スイッチング素子における前記感磁体の一端に接続される感磁体側端子との間の寄生容量よりも大きな容量を有し、前記第2スイッチング素子のオン状態を維持するように構成されたキャパシタと、を備える、磁気センサ装置にある。
【発明の効果】
【0008】
本発明の一態様によれば、感磁体に対して周期的に励磁する通電回路が、電源と感磁体との間に、pチャネル型により構成される第1スイッチング素子を備える。第1スイッチング素子は、pチャネル型により構成され、オン/オフ信号である第1制御信号の入力に基づいて、オン状態とオフ状態とを切り替え可能に構成されている。つまり、第1スイッチング素子が、オン状態とオフ状態との切り替え動作によって、感磁体に対する励磁電流の供給と停止とを切り替える。なお、オン/オフ信号とは、オン信号とオフ信号のうち選択された信号であることを意味する。
【0009】
ここで、電源と感磁体との間に第1スイッチング素子のみが配置される場合には、上述したように、検出コイルに生じた誘導起電圧の揺らぎが感磁体に逆伝搬され、第1スイッチング素子の動作電流を不安定にするおそれがある。第1スイッチング素子の動作電流が不安定になることで、感磁体へ供給される励磁電流が不安定となり、結果として、検出コイルの誘導起電圧を安定して検出できなくなるおそれがある。
【0010】
そこで、通電回路は、第2スイッチング素子と、キャパシタとを備えている。第2スイッチング素子は、第1スイッチング素子と感磁体との間に配置され、オン状態を維持するように第2制御信号が入力されている。キャパシタが、第2スイッチング素子の制御信号線、すなわち第2制御信号が伝達される配線に対して並列接続されている。さらに、キャパシタの容量は、第2スイッチング素子における制御信号端子と第2スイッチング素子における感磁体に接続される感磁体側端子との間の寄生容量よりも大きく設定されている。
(【0011】以降は省略されています)
この特許をJ-PlatPat(特許庁公式サイト)で参照する
関連特許
愛知製鋼株式会社
電動モータ
1か月前
愛知製鋼株式会社
粉体シール部材
29日前
愛知製鋼株式会社
磁気センサ装置
1か月前
愛知製鋼株式会社
リラクタンスモータ
1か月前
愛知製鋼株式会社
継ぎ目なし管の製造方法
2か月前
愛知製鋼株式会社
希土類磁石粉末の製造方法
1か月前
愛知製鋼株式会社
リラクタンスモータ用ロータ
1か月前
株式会社豊田中央研究所
外観検査装置
2か月前
愛知製鋼株式会社
磁気マーカの施工方法および施工用の補助工具
今日
トヨタ自動車株式会社
負極活物質及びその製造方法
2か月前
愛知製鋼株式会社
歯車部材の製造方法、歯車部材、および歯車部材の製造方法に用いられる鍛造金型
1か月前
株式会社豊田中央研究所
加工順序の決定装置、加工順序の決定方法、およびコンピュータプログラム
1か月前
個人
メジャー文具
1か月前
個人
採尿及び採便具
7日前
日本精機株式会社
検出装置
1日前
個人
高精度同時多点測定装置
22日前
個人
アクセサリー型テスター
23日前
株式会社ミツトヨ
測定器
13日前
甲神電機株式会社
電流検出装置
1日前
ユニパルス株式会社
ロードセル
29日前
アズビル株式会社
圧力センサ
1か月前
アズビル株式会社
電磁流量計
16日前
ダイキン工業株式会社
監視装置
27日前
トヨタ自動車株式会社
監視装置
28日前
株式会社ヨコオ
ソケット
28日前
株式会社ヨコオ
ソケット
29日前
株式会社チノー
放射光測温装置
29日前
エイブリック株式会社
磁気センサ回路
1か月前
ローム株式会社
半導体装置
21日前
双庸電子株式会社
誤配線検査装置
2日前
大和製衡株式会社
組合せ計量装置
10日前
TDK株式会社
ガスセンサ
1か月前
TDK株式会社
ガスセンサ
1か月前
大和製衡株式会社
組合せ計量装置
10日前
愛知電機株式会社
軸部材の外観検査装置
10日前
ローム株式会社
半導体装置
21日前
続きを見る
他の特許を見る