TOP
|
特許
|
意匠
|
商標
特許ウォッチ
Twitter
他の特許を見る
10個以上の画像は省略されています。
公開番号
2025146248
公報種別
公開特許公報(A)
公開日
2025-10-03
出願番号
2024046921
出願日
2024-03-22
発明の名称
リラクタンスモータ
出願人
愛知製鋼株式会社
代理人
名古屋国際弁理士法人
主分類
H02K
9/19 20060101AFI20250926BHJP(電力の発電,変換,配電)
要約
【課題】 巻線及びステータの温度上昇を抑制可能なリラクタンスモータの一例を開示する。
【解決手段】 スロットに冷却用のオイルが流通するステータを備え、スロットには、当該スロットと磁気ギャップとを連通させる連通路3Eが設けられており、さらに、連通路3Eには、当該連通路3Eの周方向一端側と他端側とを連結する連結部3Fが設けられている。これにより、当該リラクタンスモータに係る巻線3B及びステータは、冷却用のオイルにより冷却される。さらに、連通路3Eの周方向一端側と他端側とを連結する連結部3Fが設けられているので、当該連通路3Eが設けられた部位で振動が発生することを抑制でき得る。
【選択図】 図11
特許請求の範囲
【請求項1】
回転磁界に同期してロータが回転するリラクタンスモータにおいて、
前記回転磁界を誘起する巻線が収納される複数のスロットが設けられたステータであって、当該スロットに冷却用のオイルが流通するステータと、
前記ロータに設けられ、前記ステータにより誘起される回転磁界に対して磁気抵抗として機能するリラクタンス部とを備え、
前記ステータの内周面と前記ロータの外周面との隙間を磁気ギャップとし、当該ロータの回転方向を周方向としたとき、
前記複数のスロットのうち少なくとも1つのスロットには、当該スロットと前記磁気ギャップとを連通させる連通路が設けられており、
さらに、前記連通路には、当該連通路の周方向一端側と他端側とを連結する連結部が設けられているリラクタンスモータ。
続きを表示(約 620 文字)
【請求項2】
前記ステータは、多数枚の電磁鋼板が前記ロータの回転中心軸線と平行な方向に積層されて構成されており、
前記連通路のうち前記スロットと前記磁気ギャップとを連通させる部位は、前記電磁鋼板の一部が厚み方向に窪んだ凹部により構成されており、
前記連結部は、前記凹部の底部に設けられているとともに、当該連結部の厚み寸法は、前記電磁鋼板の厚み寸法より小さい請求項1に記載のリラクタンスモータ。
【請求項3】
前記連結部の少なくとも一部は、他の部位に比べて透磁率が小さい改質部である請求項2に記載のリラクタンスモータ。
【請求項4】
前記改質部の周方向一端と他端との寸法は、前記ステータと前記ロータとの隙間寸法より大きい請求項3に記載のリラクタンスモータ。
【請求項5】
前記連通路が設けられた前記スロットを連通スロットとし、当該連通スロットの幅方向中央を通り、かつ、前記ステータの内周面と直交する方向をスロット方向としたとき、
前記スロット方向と直交する仮想平面に投影された前記連通スロット内に、当該仮想平面に投影された前記改質部が位置している請求項4に記載のリラクタンスモータ。
【請求項6】
前記ロータの回転中心軸線と直交する仮想平面に投影された前記ステータの内周面は、平滑な円周形状である請求項1ないし5のいずれか1項に記載のリラクタンスモータ。
発明の詳細な説明
【技術分野】
【0001】
本開示は、リラクタンスモータに関する。
続きを表示(約 1,600 文字)
【背景技術】
【0002】
リラクタンスモータのステータには、例えば、特許文献1に示されるように、回転磁界を誘起する巻線が配置されている。
【先行技術文献】
【特許文献】
【0003】
特許第7176254号公報
【発明の概要】
【発明が解決しようとする課題】
【0004】
巻線には電流が通電されるため、当該巻線の温度が上昇してしまう。本開示は、当該点に鑑み、巻線及びステータの温度上昇を抑制可能なリラクタンスモータの一例を開示する。
【課題を解決するための手段】
【0005】
回転磁界に同期してロータ(5)が回転するリラクタンスモータは、例えば、以下の構成要件のうち少なくとも1つを備えることが望ましい。
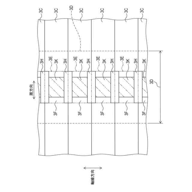
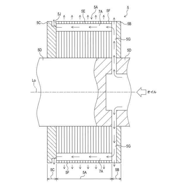
すなわち、当該構成要件は、回転磁界を誘起する巻線(3B)が収納される複数のスロット(3D)が設けられたステータ(3)であって、当該スロット(3D)に冷却用のオイルが流通するステータ(3)と、ロータ(5)に設けられ、ステータ(3)により誘起される回転磁界に対して磁気抵抗として機能するリラクタンス部(7)とを備え、ステータ(3)の内周面(3G)とロータ(5)の外周面(5F)との隙間を磁気ギャップ(Ag)とし、当該ロータ(5)の回転方向を周方向としたとき、複数のスロット(3D)のうち少なくとも1つのスロット(3D)には、当該スロット(3D)と磁気ギャップ(Ag)とを連通させる連通路(3E)が設けられており、さらに、連通路(3E)には、当該連通路(3E)の周方向一端側と他端側とを連結する連結部(3F)が設けられていることである。
【0006】
これにより、当該リラクタンスモータに係る巻線(3B)及びステータ(3)は、冷却用のオイルにより冷却されるので、巻線(3B)及びステータ(3)の温度上昇が抑制され得る。さらに、スロット(3D)から連通路(3E)を通して磁気ギャップ(Ag)に流れ込んだオイルは、ロータ(5)の外周面も冷却する。したがって、ロータ(5)も効果的に冷却することが可能となる。
【0007】
また、スロット(3D)と磁気ギャップ(Ag)とが連通路(3E)を介して連通していると、ステータ(3)のうち当該連通路(3E)が設けられた部位が振動する可能性が高い。
【0008】
これに対して、当該リラクタンスモータでは、連通路(3E)の周方向一端側と他端側とを連結する連結部(3F)が設けられているので、当該連通路(3E)が設けられた部位で振動が発生することを抑制でき得る。
【0009】
因みに、上記各括弧内の符号は、後述する実施形態に記載の具体的構成等との対応関係を示す一例であり、本開示は上記括弧内の符号に示された具体的構成等に限定されない。
【図面の簡単な説明】
【0010】
第1実施形態に係るリラクタンスモータを示す図である。
第1実施形態に係るロータを示す図である。
第1実施形態に係るリラクタンス部を示す図である。
第1実施形態に係るリラクタンス部を示す図である。
第1実施形態に係るロータコアの電磁鋼板の断面図である。
第1実施形態に係るエンドプレートを示す図である。
第1実施形態に係るエンドプレートを示す図である。
第1実施形態に係るステータを示す図である。
第1実施形態に係るモータのオイル供給経路を示す図である。
第1実施形態に係る磁気ギャップを示す図である。
第1実施形態に係るステータを示す図である。
第1実施形態に係るステータコアの電磁鋼板の断面図である。
【発明を実施するための形態】
(【0011】以降は省略されています)
この特許をJ-PlatPat(特許庁公式サイト)で参照する
関連特許
愛知製鋼株式会社
電動モータ
1か月前
愛知製鋼株式会社
粉体シール部材
1か月前
愛知製鋼株式会社
リラクタンスモータ
1か月前
愛知製鋼株式会社
希土類磁石粉末の製造方法
1か月前
愛知製鋼株式会社
中空シャフト部材の製造方法
23日前
愛知製鋼株式会社
リラクタンスモータ用ロータ
1か月前
愛知製鋼株式会社
磁気マーカの施工方法および施工用の補助工具
24日前
愛知製鋼株式会社
歯車部材の製造方法、歯車部材、および歯車部材の製造方法に用いられる鍛造金型
2か月前
株式会社豊田中央研究所
加工順序の決定装置、加工順序の決定方法、およびコンピュータプログラム
2か月前
個人
高圧電気機器の開閉器
11日前
個人
電気を重力で発電装置
24日前
キヤノン電子株式会社
モータ
23日前
キヤノン電子株式会社
モータ
1か月前
コーセル株式会社
電源装置
1か月前
日星電気株式会社
ケーブル組立体
1か月前
株式会社アイドゥス企画
減反モータ
11日前
トヨタ自動車株式会社
モータ
23日前
株式会社デンソー
端子台
4日前
株式会社デンソー
回転機
1か月前
個人
二次電池繰返パルス放電器用印刷基板
1か月前
株式会社デンソー
電力変換装置
1か月前
株式会社ミツバ
回転電機
1か月前
株式会社デンソー
電力変換装置
1か月前
ローム株式会社
半導体集積回路
2日前
株式会社TMEIC
制御装置
3日前
矢崎総業株式会社
給電装置
3日前
トヨタ自動車株式会社
固定子の加熱装置
1か月前
株式会社ダイヘン
インバータ装置
1か月前
株式会社デンソー
非接触受電装置
1か月前
株式会社日立製作所
回転電機
2日前
矢崎総業株式会社
電源回路
10日前
大和ハウス工業株式会社
敷設用機器
3日前
日産自動車株式会社
ロータシャフト
18日前
日産自動車株式会社
ロータシャフト
18日前
ローム株式会社
モータドライバ回路
18日前
個人
非対称鏡像力を有する4層PWB電荷搬送体
18日前
続きを見る
他の特許を見る