TOP
|
特許
|
意匠
|
商標
特許ウォッチ
Twitter
他の特許を見る
10個以上の画像は省略されています。
公開番号
2025161166
公報種別
公開特許公報(A)
公開日
2025-10-24
出願番号
2024064122
出願日
2024-04-11
発明の名称
熱交換器および減圧器
出願人
株式会社デンソー
代理人
弁理士法人ゆうあい特許事務所
主分類
F28F
9/26 20060101AFI20251017BHJP(熱交換一般)
要約
【課題】複合型熱交換器の体格を小型化することの可能な熱交換器を提供する。
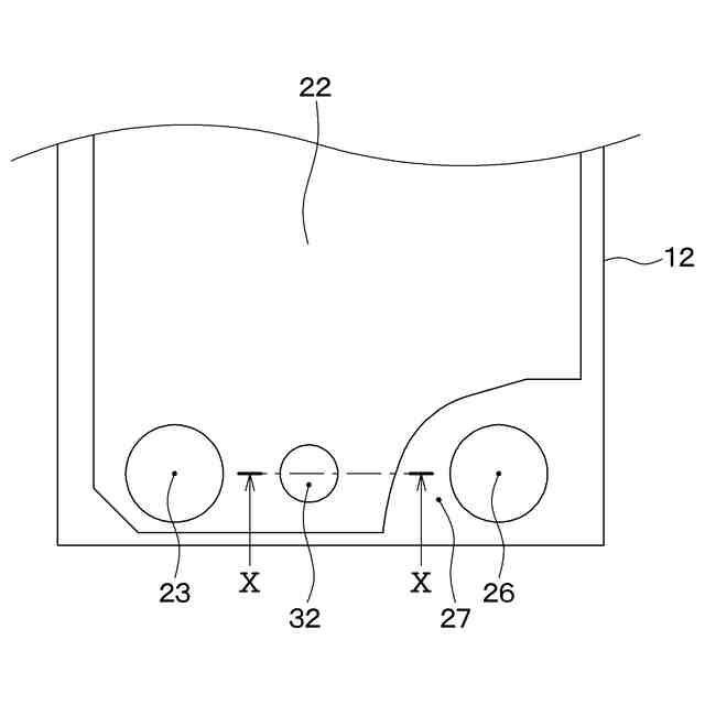
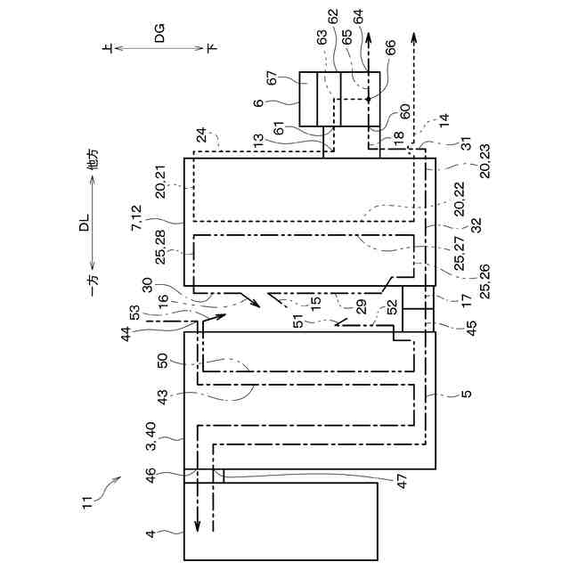
【解決手段】熱交換器は、蒸発器本体12、高圧冷媒入口部17、高圧冷媒出口部18、および高圧冷媒内部流路32を備える。蒸発器本体12は、低圧冷媒が流れる低圧冷媒流路20、および、その低圧冷媒と熱交換する熱媒体が流れる熱媒体流路25を有する。高圧冷媒入口部17は、蒸発器本体12のうち所定の外壁面に設けられ、凝縮器3で凝縮した高圧冷媒が流入する部位である。高圧冷媒出口部18は、蒸発器本体12のうち所定の外壁面に対して反対側の外壁面に設けられ、高圧冷媒が流出する部位である。高圧冷媒内部流路32は、高圧冷媒入口部17から高圧冷媒出口部18へ、高圧冷媒が蒸発器本体12の内部を流れる流路である。
【選択図】図2
特許請求の範囲
【請求項1】
冷凍サイクル装置(1)に用いられ、圧縮機(2)で加圧した高圧冷媒を凝縮器(3)で凝縮した後に減圧器(6)で減圧した低圧冷媒と熱媒体とを熱交換し、低圧冷媒を蒸発させ熱媒体を冷却する機能を有する熱交換器において、
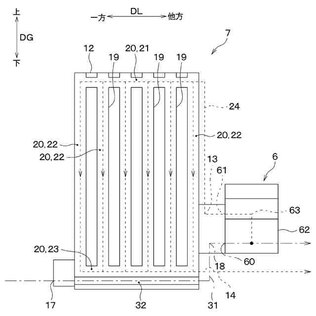
低圧冷媒が流れる低圧冷媒流路(20)、および、前記低圧冷媒流路を流れる低圧冷媒と熱交換する熱媒体が流れる熱媒体流路(25)を有する蒸発器本体(12)と、
前記蒸発器本体のうち所定の外壁面に設けられ、前記凝縮器で凝縮した高圧冷媒が流入する高圧冷媒入口部(17)と、
前記蒸発器本体のうち前記所定の外壁面に対して反対側の外壁面に設けられ、高圧冷媒が流出する高圧冷媒出口部(18)と、
前記高圧冷媒入口部から前記高圧冷媒出口部へ、高圧冷媒が前記蒸発器本体の内部を流れる高圧冷媒内部流路(32)と、を備える熱交換器。
続きを表示(約 2,500 文字)
【請求項2】
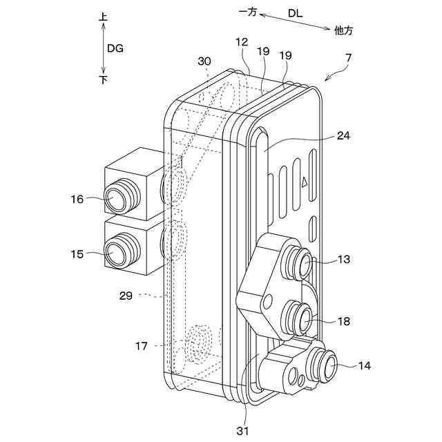
前記蒸発器本体のうち前記高圧冷媒出口部が設けられる側の外壁面に設けられ、前記低圧冷媒流路に低圧冷媒が流入する低圧冷媒入口部(13)をさらに備え、
前記低圧冷媒入口部と前記高圧冷媒出口部とはいずれも前記減圧器に接続されており、
前記高圧冷媒出口部から流出した高圧冷媒が前記減圧器で減圧されて低圧冷媒となり、前記低圧冷媒入口部から前記低圧冷媒流路に流入する構成となっている、請求項1に記載の熱交換器。
【請求項3】
前記凝縮器は、
高圧冷媒が流れる凝縮器側高圧冷媒流路(43)、および、前記凝縮器側高圧冷媒流路を流れる高圧冷媒と熱交換する高温側熱媒体が流れる高温側熱媒体流路(50)を有する凝縮器本体(40)と、
前記凝縮器本体の外壁面に設けられて前記凝縮器本体から高圧冷媒が流出する凝縮器側高圧冷媒出口部(45)と、を備えており、
前記凝縮器本体に設けられた前記凝縮器側高圧冷媒出口部と前記蒸発器本体に設けられた前記高圧冷媒入口部とは、1箇所のみで直接接続されている、請求項1または2に記載の熱交換器。
【請求項4】
前記蒸発器本体のうち前記高圧冷媒出口部が設けられる側の外壁面に、前記高圧冷媒内部流路と前記高圧冷媒出口部とを連通する高圧冷媒出口側壁面流路(31)、および、前記低圧冷媒入口部と前記低圧冷媒流路とを連通する低圧冷媒入口側壁面流路(24)の少なくとも一方を備える、請求項2に記載の熱交換器。
【請求項5】
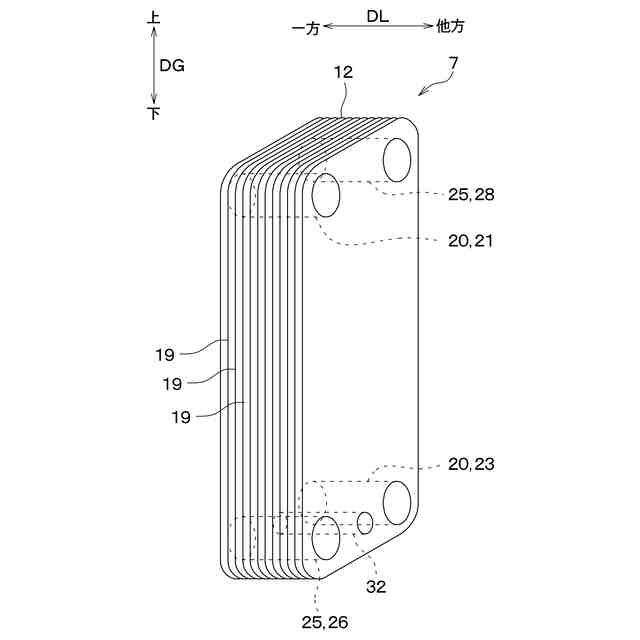
前記低圧冷媒流路は、低圧冷媒入口部(13)から低圧冷媒が流入する低圧冷媒入口側タンク(21)と、前記低圧冷媒入口側タンクから分流された低圧冷媒が流れる複数の低圧冷媒流路層(22)と、複数の前記低圧冷媒流路層を流れた低圧冷媒が集合して低圧冷媒出口部(14)へ流れる低圧冷媒出口側タンク(23)を有し、
前記熱媒体流路は、熱媒体入口部(15)から熱媒体が流入する熱媒体入口側タンク(26)と、前記熱媒体入口側タンクから分流された熱媒体が流れる複数の熱媒体流路層(27)と、複数の前記熱媒体流路層を流れた熱媒体が集合して熱媒体出口部へ流れる熱媒体出口側タンク(28)を有し、
前記蒸発器本体は、複数の前記低圧冷媒流路層と複数の前記熱媒体流路層とが所定の積層方向に交互に積層された積層型熱交換器であり、高圧冷媒と低圧冷媒との内部熱交換に対し、高圧冷媒と熱媒体との熱交換が抑制されるように構成されている、請求項1に記載の熱交換器。
【請求項6】
前記高圧冷媒内部流路は、前記低圧冷媒出口側タンクと前記熱媒体入口側タンクとの間に配置され、前記高圧冷媒内部流路と前記低圧冷媒出口側タンクとの間の距離(D1)は、前記高圧冷媒内部流路と前記熱媒体入口側タンクとの間の距離(D2)よりも近い、請求項5に記載の熱交換器。
【請求項7】
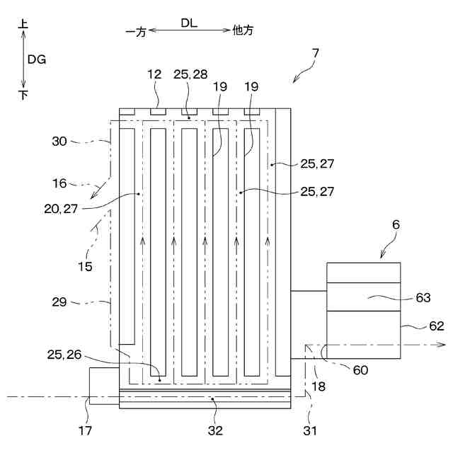
前記高圧冷媒内部流路の周囲は複数の前記低圧冷媒流路層により囲まれている、請求項5に記載の熱交換器。
【請求項8】
複数の前記低圧冷媒流路層の低圧冷媒の流れと、複数の前記熱媒体流路層の熱媒体の流れは、対向流となるように構成されている、請求項5に記載の熱交換器。
【請求項9】
前記凝縮器は、高圧冷媒が流れる凝縮器側高圧冷媒流路(43)、および、前記凝縮器側高圧冷媒流路を流れる高圧冷媒と熱交換する高温側熱媒体が流れる高温側熱媒体流路(50)を有する凝縮器本体(40)と、
前記凝縮器本体の外壁面に設けられて前記凝縮器本体から高圧冷媒が流出する凝縮器側高圧冷媒出口部(45)と、
前記凝縮器本体のうち前記凝縮器側高圧冷媒出口部が設けられる側の外壁面に設けられ、前記高温側熱媒体流路に高温側熱媒体が流入する高温側熱媒体入口部(51)と、
前記凝縮器本体のうち前記凝縮器側高圧冷媒出口部が設けられる側の外壁面に設けられ、前記高温側熱媒体流路から高温側熱媒体が流出する高温側熱媒体出口部(53)と、を備え、
更に、前記凝縮器は、前記凝縮器本体のうち前記凝縮器側高圧冷媒出口部が設けられる側の外壁面に、前記高温側熱媒体入口部と前記高温側熱媒体流路とを連通する高温側熱媒体入口側壁面流路(52)、および、前記高温側熱媒体流路と前記高温側熱媒体出口部とを連通する高温側熱媒体出口側壁面流路の少なくとも一方を備え、
熱交換器は、前記蒸発器本体のうち前記高圧冷媒入口部が設けられる側の外壁面に設けられ、前記熱媒体流路に熱媒体が流入する熱媒体入口部(15)と、
前記蒸発器本体のうち前記高圧冷媒入口部が設けられる側の外壁面に設けられ、前記熱媒体流路から熱媒体が流出する熱媒体出口部(16)と、を備え、
更に、熱交換器は、前記蒸発器本体のうち前記高圧冷媒入口部が設けられる側の外壁面に、前記熱媒体入口部と前記熱媒体流路とを連通する熱媒体入口側壁面流路(29)、および、前記熱媒体流路と前記熱媒体出口部とを連通する熱媒体出口側壁面流路(30)の少なくとも一方を備える、請求項1または2に記載の熱交換器。
【請求項10】
冷凍サイクル装置(1)に用いられ、圧縮機(2)で加圧した高圧冷媒を凝縮器(3)で凝縮した後に減圧する機能を有する減圧器において、
減圧器本体(62)と、
前記減圧器本体の外壁面に設けられ、前記凝縮器で凝縮した高圧冷媒が流入する減圧器側高圧冷媒入口部(60)と、
前記減圧器本体の外壁面に設けられ、高圧冷媒が流出する減圧器側高圧冷媒出口部(64)と、
前記減圧器側高圧冷媒入口部から前記減圧器側高圧冷媒出口部へ、前記減圧器本体の内部を高圧冷媒が流れる減圧器側高圧冷媒内部流路(65)と、
前記減圧器側高圧冷媒内部流路の途中に設けられ、高圧冷媒の流れを分岐させる分岐部(66)と、
前記分岐部で分岐された一方の流れの高圧冷媒を減圧する減圧部(63)と、
前記減圧部で減圧された低圧冷媒が流出する減圧器側低圧冷媒出口部(61)と、を備える減圧器。
発明の詳細な説明
【技術分野】
【0001】
本開示は、熱交換器および減圧器に関するものである。
続きを表示(約 1,800 文字)
【背景技術】
【0002】
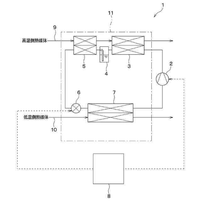
特許文献1には、冷凍サイクル装置を構成する凝縮器、貯液部、過冷却部、内部熱交換器、減圧器および蒸発器を一体にした複合型熱交換器が開示されている。
【先行技術文献】
【特許文献】
【0003】
特開2023-141253号公報
【発明の概要】
【発明が解決しようとする課題】
【0004】
特許文献1に記載の複合型熱交換器は、蒸発器と内部熱交換器との間に減圧器が配置されている。そのため、減圧器に接続される配管の取り回しが困難であり、複合型熱交換器の体格が大型化する恐れがあった。
【0005】
本開示は上記点に鑑みて、複合型熱交換器の体格を小型化することの可能な熱交換器および減圧器を提供することを目的とする。
【課題を解決するための手段】
【0006】
本開示の1つの観点によると、冷凍サイクル装置(1)に用いられ、圧縮機(2)で加圧した高圧冷媒を凝縮器(3)で凝縮した後に減圧器(6)で減圧した低圧冷媒と熱媒体とを熱交換し、低圧冷媒を蒸発させ熱媒体を冷却する機能を有する熱交換器は、
低圧冷媒が流れる低圧冷媒流路(20)、および、前記低圧冷媒流路を流れる低圧冷媒と熱交換する熱媒体が流れる熱媒体流路(25)を有する蒸発器本体(12)と、
前記蒸発器本体のうち所定の外壁面に設けられ、前記凝縮器で凝縮した高圧冷媒が流入する高圧冷媒入口部(17)と、
前記蒸発器本体のうち前記所定の外壁面に対して反対側の外壁面に設けられ、高圧冷媒が流出する高圧冷媒出口部(18)と、
前記高圧冷媒入口部から前記高圧冷媒出口部へ、高圧冷媒が前記蒸発器本体の内部を流れる高圧冷媒内部流路(32)と、を備える。
【0007】
これによれば、熱交換器としての蒸発器に対し凝縮器と減圧器を一体にした複合型熱交換器を構成した場合、蒸発器の内部を高圧冷媒が通過する構成により、蒸発器に対し凝縮器とは反対側に減圧器を配置することが可能となる。そのため、蒸発器と凝縮器との間に減圧器を配置する構成と比べて、減圧器に接続される配管の取り回しが容易となる。したがって、この熱交換器の構成により、複合型熱交換器の体格を小型化できる。また、蒸発器の内部を高圧冷媒が通過する構成とすれば、蒸発器を通過する高圧冷媒と低圧冷媒との内部熱交換による、冷凍サイクル装置の冷却性能の向上を期待することができる。
【0008】
本開示の別の観点によると、冷凍サイクル装置(1)に用いられ、圧縮機(2)で加圧した高圧冷媒を凝縮器(3)で凝縮した後に減圧する機能を有する減圧器は、
減圧器本体(62)と、
前記減圧器本体の外壁面に設けられ、前記凝縮器で凝縮した高圧冷媒が流入する減圧器側高圧冷媒入口部(60)と、
前記減圧器本体の外壁面に設けられ、高圧冷媒が流出する減圧器側高圧冷媒出口部(64)と、
前記減圧器側高圧冷媒入口部から前記減圧器側高圧冷媒出口部へ、前記減圧器本体の内部を高圧冷媒が流れる減圧器側高圧冷媒内部流路(65)と、
前記減圧器側高圧冷媒内部流路の途中に設けられ、高圧冷媒の流れを分岐させる分岐部(66)と、
前記分岐部で分岐された一方の流れの高圧冷媒を減圧する減圧部(63)と、
前記減圧部で減圧された低圧冷媒が流出する減圧器側低圧冷媒出口部(61)と、を備える。
【0009】
これによれば、凝縮器と蒸発器と減圧器を一体にした複合型熱交換器を構成した場合、減圧器本体の内部を高圧冷媒が通過する構成により、減圧器に接続される冷媒配管の取り回しが容易となる。したがって、この減圧器の構成により、減圧器と蒸発器とを容易に接続でき、さらに、減圧器側高圧冷媒出口部の下流側の冷凍サイクル装置を容易に構成できる。
【0010】
なお、各構成要素等に付された括弧付きの参照符号は、その構成要素等と後述する実施形態に記載の具体的な構成要素等との対応関係の一例を示すものである。
【図面の簡単な説明】
(【0011】以降は省略されています)
この特許をJ-PlatPat(特許庁公式サイト)で参照する
関連特許
株式会社デンソーウェーブ
筐体
1か月前
株式会社デンソー
回転機
1か月前
株式会社デンソー
ロータ
8日前
株式会社デンソー
端子台
15日前
株式会社デンソー
電動弁
1か月前
株式会社デンソー
分離体
21日前
株式会社デンソー
ロータ
8日前
株式会社デンソー
電動機
13日前
株式会社デンソー
撮像装置
1か月前
株式会社デンソー
電気回路
29日前
株式会社デンソー
制御装置
1か月前
株式会社デンソー
電子装置
13日前
株式会社デンソー
光学部材
21日前
株式会社デンソー
摺動機構
1か月前
株式会社デンソー
摺動機構
1か月前
株式会社デンソー
熱交換器
1か月前
株式会社デンソー
整流回路
6日前
株式会社デンソー
撮像装置
1か月前
株式会社デンソー
光学部材
13日前
株式会社デンソー
電子装置
1か月前
株式会社デンソー
検出装置
1か月前
株式会社デンソー
電子装置
1か月前
株式会社デンソー
トランス
13日前
株式会社デンソー
光学部材
21日前
株式会社デンソー
回転電機
6日前
株式会社デンソー
電解装置
1か月前
株式会社デンソー
ヒータ装置
1か月前
株式会社デンソー
半導体装置
21日前
株式会社デンソー
レーダ装置
7日前
株式会社デンソーエレクトロニクス
電磁継電器
7日前
株式会社デンソートリム
鞍乗り車両
1か月前
株式会社デンソー
電磁継電器
13日前
株式会社デンソー
半導体装置
1か月前
株式会社デンソー
静電モータ
今日
株式会社デンソー
センサ装置
1か月前
株式会社デンソー
半導体装置
1か月前
続きを見る
他の特許を見る