TOP
|
特許
|
意匠
|
商標
特許ウォッチ
Twitter
他の特許を見る
10個以上の画像は省略されています。
公開番号
2025143874
公報種別
公開特許公報(A)
公開日
2025-10-02
出願番号
2024043345
出願日
2024-03-19
発明の名称
熱交換器
出願人
株式会社富士通ゼネラル
代理人
弁理士法人南青山国際特許事務所
主分類
F28F
3/08 20060101AFI20250925BHJP(熱交換一般)
要約
【課題】積層型の熱交換器において積層される金属板に形成された隔離部で分離されるべき、流体の流出入口と流体の流路とが連通していることをより迅速な方法で判別可能にする熱交換器を提供する。
【解決手段】複数の第1金属板と複数の第2金属板とは交互に積層される。複数の第1金属板には、第1流体が流れる第1流路と第1流出入口及び第2流出入口と第2流体を通過させる、第1貫通孔及び第2貫通孔と第1流路と第1貫通孔とを隔てる第1隔離部と第1流路と第2貫通孔とを隔てる第2隔離部とが設けられる。複数の第2金属板には、第2流体が流れる第2流路と第3流出入口及び第4流出入口と第1流体を通過させる、第3貫通孔及び第4貫通孔と第2流路と第3貫通孔とを隔てる第3隔離部と第2流路と第4貫通孔とを隔てる第4隔離部とが設けられる。第1隔離部、第2隔離部、第3隔離部、及び第4隔離部の少なくとも1つに溝が形成されている。
【選択図】図2
特許請求の範囲
【請求項1】
複数の金属板が積層され接合された熱交換器であって、
複数の金属板は、複数の第1金属板と複数の第2金属板とを有し、前記複数の第1金属板と前記複数の第2金属板とは交互に積層され、
前記複数の第1金属板のそれぞれには、第1流体が流れる第1流路と、前記第1流路に繋がった、第1流出入口及び第2流出入口と、第2流体を通過させる、第1貫通孔及び第2貫通孔と、前記第1流路と前記第1貫通孔とを隔てる第1隔離部と、前記第1流路と前記第2貫通孔とを隔てる第2隔離部とが設けられ、
前記複数の第2金属板のそれぞれには、前記第2流体が流れる第2流路と、前記第2流路と繋がった、第3流出入口及び第4流出入口と、前記第1流体を通過させる、第3貫通孔及び第4貫通孔と、前記第2流路と前記第3貫通孔とを隔てる第3隔離部と、前記第2流路と前記第4貫通孔とを隔てる第4隔離部とが設けられ、
前記複数の第1金属板と前記複数の第2金属板とが交互に積層された積層ブロック本体において、前記第1隔離部、前記第2隔離部、前記第3隔離部、及び、前記第4隔離部の少なくとも1つに、一端が前記積層ブロック本体の外側に開放された溝が形成されている
熱交換器。
続きを表示(約 270 文字)
【請求項2】
請求項1に記載された熱交換器であって、
前記溝の他端が前記積層ブロック本体の外側に開放された
熱交換器。
【請求項3】
請求項1または2に記載された熱交換器であって、
前記溝は、前記第1隔離部と前記第1隔離部に接する前記第2金属板との間、前記第2隔離部と前記第2隔離部に接する前記第2金属板との間、前記第3隔離部と前記第3隔離部に接する前記第1金属板との間、及び、前記第4隔離部と前記第4隔離部に接する前記第1金属板との間の少なくとも1つに形成された
熱交換器。
発明の詳細な説明
【技術分野】
【0001】
本発明は、積層型の熱交換器に関する。
続きを表示(約 2,300 文字)
【背景技術】
【0002】
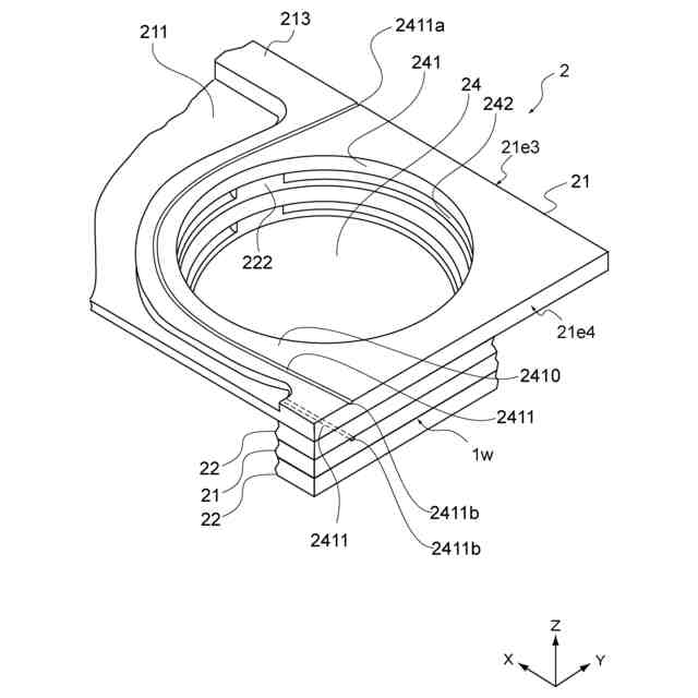
複数の金属板に流路を形成し、複数の金属板を積層し拡散接合により接合した熱交換器がある(例えば、特許文献1)。金属板には、その一面に設けられた高温流体用の流路と、他面に設けられた低温流体用の流路と、金属板を貫通する、高温流体用の流入口と流出口及び低温流体用の流入口と流出口とが設けられている。
【0003】
金属板には、さらに、低温流体用の流入口と高温流体用の流路との間に形成される隔離部と、低温流体用の流出口と高温流体用の流路との間に形成される隔離部と、高温流体用の流入口と低温流体用の流路との間に形成される隔離部と、高温流体用の流出口と低温流体用の流路との間に形成される隔離部を有する。これらの隔離部によって、低温流体が高温流体用の流路に侵入することを防ぎ、あるいは、高温流体が低温流体用の流路に侵入することを防ぐ。
【0004】
ここで、各隔離部のいずれかに何らかの理由でキズがつき、低温流体用の流入口または流出口と高温流体用の流路、もしくは、高温流体用の流入口または流出口と低温流体用の流路のいずれかが仮にキズを通じて連通すると、高温流体用の流路と低温流体用の流路が熱交換器の内部でつながり、高温流体と低温流体が互いに混ざり合い、熱交換器として使用することができない。このような熱交換器を排除するため、上記の熱交換器では、金属板の接合状態を確認するためにリークテストが行われる。
【0005】
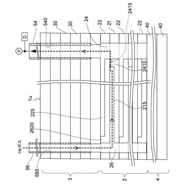
例えば、低温流体用の2つの流出入口(流出口と流入口)の一方を塞ぎ他方に真空ポンプとリークディテクタをつなぎ、高温流体用の2つの流出入口(流出口と流入口)の一方を塞ぐ。真空ポンプにより低温流体用の流路内を減圧した後、高温流体用の2つの流出入口(流出口と流入口)の他方にテストガス(例えば、He)を注入し、リークディテクタにより漏れの有無を検出する。さらに高温流体用の流出入口の一方と他方について塞ぐ側とテストガスを注入側を入れ替えて同様に漏れの有無を検出する。漏れがある場合、低温流体用の流路にテストガスが漏れ出すので、それをリークディテクタで検出することで低温流体流路と高温流体流路との間に漏れが有ると判断される。あるいは、高温流体用の2つの流出入口(流出口と流入口)の一方を塞ぎ他方に真空ポンプとリークディテクタをつなぎ、低温流体用の2つの流出入口(流出口と流入口)の一方を塞ぐ。真空ポンプにより高温流体用の流路内を減圧した後、低温流体用の2つの流出入口(流出口と流入口)の一方にテストガス(例えば、He)を注入し、リークディテクタにより漏れの有無を検出する。さらに他方の低温流体用の流出口についても同様に漏れの有無を検出する。漏れがある場合、高温流体用の流路にテストガスが漏れ出すので、それをリークディテクタで検出することで高温流体流路と低温流体流路との間に漏れが有ると判断される。
【先行技術文献】
【特許文献】
【0006】
特開2018-096581号公報
【発明の概要】
【発明が解決しようとする課題】
【0007】
但し、このようなリークテストの方法では、テストガスを注入する箇所と、テストガスを検出する箇所との距離が必然的に長くなってしまう。
【0008】
このため、テストガスを注入してからテストガスを検出するまでの検知時間が長くなる。この結果、リーク検知のレスポンスが鈍くなり、実際にはリークがあるのに、リークを検出できず、良品と判断されたものが使用する段階で不良品として見つかる潜在不良が発生する可能性が高くなる。また、検知時間が長くなることで、多量のテストガスを要し、検査費用の上昇を招く。このような問題は、内部に多数の微細な流路が形成される積層型の熱交換器(積層型マイクロチャンネル熱交換器)の場合に顕著である。
【0009】
以上のような事情に鑑み、本発明の目的は、積層型の熱交換器において、積層される金属板に形成された隔離部で分離されるべき、流体の流出入口と流体の流路とが連通していることをより迅速な方法で判別可能にする熱交換器を提供することにある。
【課題を解決するための手段】
【0010】
上記目的を達成するため、本発明の一形態に係る熱交換器は、複数の金属板が積層され接合された熱交換器である。
複数の金属板は、複数の第1金属板と複数の第2金属板とを有し、上記複数の第1金属板と上記複数の第2金属板とは交互に積層される。
上記複数の第1金属板のそれぞれには、第1流体が流れる第1流路と、上記第1流路に繋がった、第1流出入口及び第2流出入口と、第2流体を通過させる、第1貫通孔及び第2貫通孔と、上記第1流路と上記第1貫通孔とを隔てる第1隔離部と、上記第1流路と上記第2貫通孔とを隔てる第2隔離部とが設けられる。
上記複数の第2金属板のそれぞれには、上記第2流体が流れる第2流路と、上記第2流路と繋がった、第3流出入口及び第4流出入口と、上記第1流体を通過させる、第3貫通孔及び第4貫通孔と、上記第2流路と上記第3貫通孔とを隔てる第3隔離部と、上記第2流路と上記第4貫通孔とを隔てる第4隔離部とが設けられる。
上記複数の第1金属板と上記複数の第2金属板とが交互に積層された積層ブロック本体において、上記第1隔離部、上記第2隔離部、上記第3隔離部、及び、上記第4隔離部の少なくとも1つに、一端が上記積層ブロック本体の外側に開放された溝が形成されている。
(【0011】以降は省略されています)
この特許をJ-PlatPat(特許庁公式サイト)で参照する
関連特許
個人
排熱回収装置
4か月前
個人
冷却装置の蒸発器
1か月前
個人
放射冷却装置
1か月前
個人
熱交換装置
7か月前
個人
熱交換装置
2か月前
ホーコス株式会社
熱交換ユニット
10か月前
三恵技研工業株式会社
熱交換器
8か月前
三恵技研工業株式会社
熱交換器
8か月前
アンリツ株式会社
検査装置
7か月前
株式会社パイオラックス
熱交換器
10か月前
アンリツ株式会社
検査装置
7か月前
日産自動車株式会社
熱交換器
9か月前
株式会社ティラド
ラジエータ
10か月前
株式会社アイシン
水噴射冷却システム
10か月前
新光電気工業株式会社
蓄熱装置
3か月前
株式会社デンソー
熱交換器
6か月前
株式会社アイシン
熱交換器
21日前
株式会社デンソー
熱交換器
6か月前
株式会社デンソー
熱交換器
7か月前
サンデン株式会社
熱交換器
10か月前
サンデン株式会社
熱交換器
10か月前
サンデン株式会社
熱交換器
10か月前
栗田工業株式会社
冷却塔システム
10か月前
サンデン株式会社
熱交換器
8か月前
中外炉工業株式会社
クーリングチューブ
2日前
サンデン株式会社
熱交換器
8か月前
株式会社ティラド
複合型熱交換器
13日前
栗田工業株式会社
冷却塔システム
5か月前
日新電機株式会社
化学蓄熱反応器
11か月前
ZACROS株式会社
熱交換装置
8か月前
株式会社アイシン
熱交換器
6か月前
株式会社デンソー
熱交換器
5か月前
古河電気工業株式会社
ヒートパイプ
10か月前
中部抵抗器株式会社
密閉構造体用冷却装置
11か月前
株式会社神戸製鋼所
積層型熱交換器
6か月前
株式会社デンソー
熱交換装置
1か月前
続きを見る
他の特許を見る