TOP
|
特許
|
意匠
|
商標
特許ウォッチ
Twitter
他の特許を見る
10個以上の画像は省略されています。
公開番号
2025118173
公報種別
公開特許公報(A)
公開日
2025-08-13
出願番号
2024013322
出願日
2024-01-31
発明の名称
温度調節装置
出願人
国立大学法人東京農工大学
,
昭電工業株式会社
代理人
個人
主分類
F28F
13/10 20060101AFI20250805BHJP(熱交換一般)
要約
【課題】被処理物の温度分布をより速やかに、かつ、より高い省エネルギー性で均一にすること。
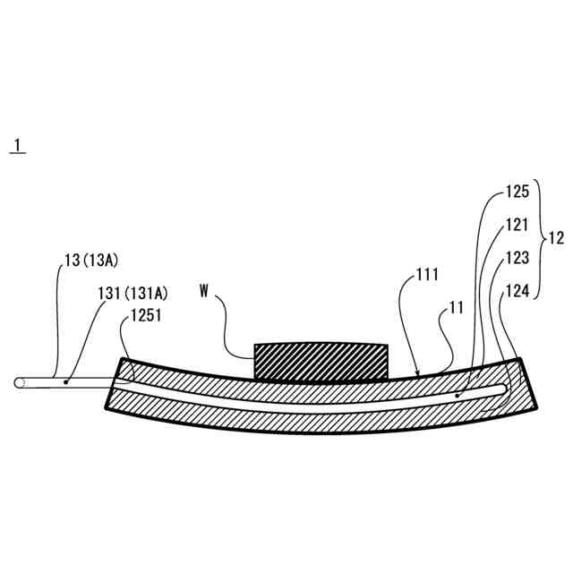
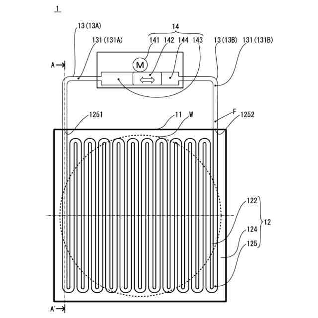
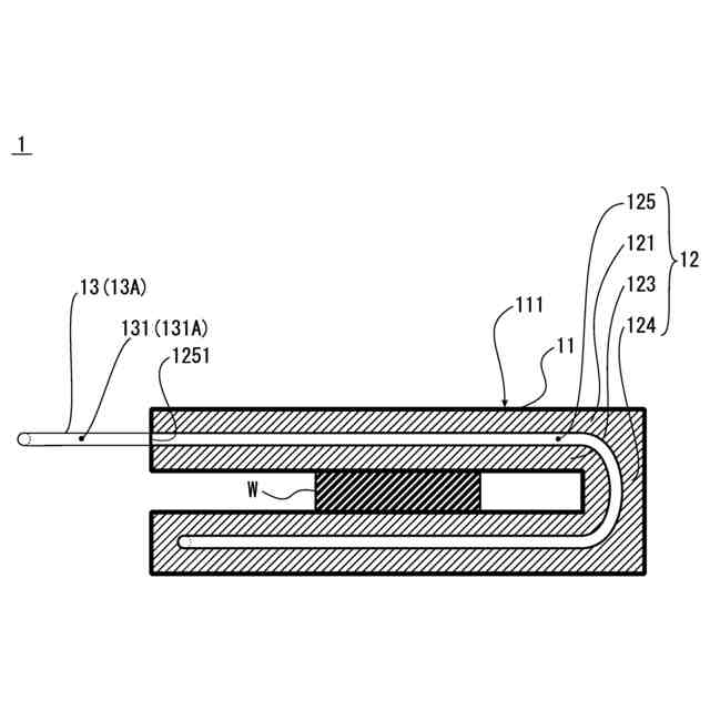
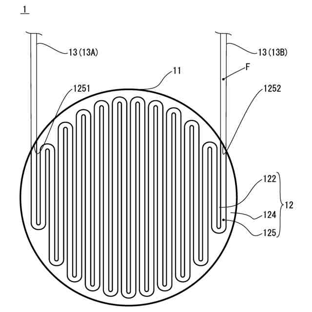
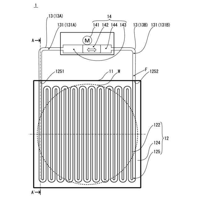
【解決手段】本発明の温度調節装置1は、被処理物Wが載置される載置部11と、載置部11の内部に設けられ、作動流体Fが入れられる第1流路125が内部に形成された第1管部12と、第1流路125に沿った所定方向に作動流体Fを振動させる振動生成部14と、振動生成部14と第1流路125とを接続する第2流路131が内部に形成された第2管部13と、を備え、流路に沿った方向における単位長さ当たりの熱容量である長さ熱容量について、第2管部13の長さ熱容量は、第1管部12の長さ熱容量より小さい。
【選択図】図1
特許請求の範囲
【請求項1】
被処理物が載置される載置部と、
前記載置部の内部に設けられ、作動流体が入れられる第1流路が内部に形成された第1管部と、
前記第1流路に沿った方向に前記作動流体を振動させる振動生成部と、
前記振動生成部と前記第1流路とを接続する第2流路が内部に形成された第2管部と、
を備え、
流路に沿った方向における単位長さ当たりの熱容量である長さ熱容量について、前記第2管部の長さ熱容量は、前記第1管部の長さ熱容量より小さい、
温度調節装置。
続きを表示(約 380 文字)
【請求項2】
前記第1管部は、前記載置部に載置された被処理物から見た形状が蛇行するよう形成される、請求項1に記載の温度調節装置。
【請求項3】
前記第1管部の少なくとも一部分は、前記第1管部の他の部分と隣接し、前記第1流路の内部において、前記第2流路と接続された一端から他端へ向かう向きは、前記一部分に対応する箇所と前記他の部分に対応する箇所とで対向する、請求項1に記載の温度調節装置。
【請求項4】
前記第1管部の少なくとも一部は、前記載置部において前記被処理物が接する領域の中央部分と外周部分とを結ぶ方向に沿って配される、請求項1に記載の温度調節装置。
【請求項5】
前記第1管部の少なくとも一部は、前記載置部において前記被処理物が接する領域の周方向に沿って配される、請求項1に記載の温度調節装置。
発明の詳細な説明
【技術分野】
【0001】
本発明は、温度調節装置に関する。
続きを表示(約 2,000 文字)
【背景技術】
【0002】
被処理物の温度分布が重要となる各種の工業プロセスがある。当該工業プロセスの例として、例えば、蒸着処理、電子機器製造、合成樹脂、複合材料等を用いた製品製造、3Dプリンタによる立体物の製造、材料試験、太陽電池パネル製造等が挙げられる。このような工業プロセスでは、被処理物の温度分布が均一でない場合、各種の問題が生じ得る。当該問題の例として、熱応力からの被処理物の損傷、反り返る等の被処理物の変形、被処理物の物性の変化、大きな測定誤差、製品の性質の変化、不均一な蒸着膜の発生等が挙げられる。以上のような事情から、被処理物の温度分布を制御する手段が求められている。
【0003】
被処理物の温度分布を制御する手段に関し、特許文献1は、処理対象物が載置される第1主面を有するセラミック誘電体基板と、前記セラミック誘電体基板に設けられた電極層と、前記セラミック誘電体基板を支持するベースプレートと、前記ベースプレートと前記第1主面との間に設けられたヒータプレートと、を備え、前記ヒータプレートは、電流が流れることにより発熱する第1のヒータエレメントと、電流が流れることにより発熱する第2のヒータエレメントと、を有し、前記第1主面に対して垂直な方向に沿って見たときに、前記第1のヒータエレメントの折れ曲がりは、前記第2のヒータエレメントの折れ曲がりよりも多く、前記第1のヒータエレメントは、前記第2のヒータエレメントの隙間に位置する部分を有することを特徴とする静電チャックを開示している。特許文献1に記載の技術は、第1のヒータエレメントを用いた温度ムラの抑制により、処理対象物の面内における温度分布の均一性を向上させ得る。
【先行技術文献】
【特許文献】
【0004】
特開2018-170508号公報
【発明の概要】
【発明が解決しようとする課題】
【0005】
ところで、持続可能な開発目標(Sustainable Development Goals、SDGs)等により、省エネルギー性の向上が産業界に求められている。特許文献1に記載の技術は、電流が流れることにより発熱する第1のヒータエレメントを用いて温度ムラを抑制する。したがって、当該技術は、第1のヒータエレメントにおいて電力エネルギーが消費されてしまう。よって、特許文献1は、被処理物の温度分布を均一にする際の省エネルギー性を高める点においてさらなる向上の余地がある。
【0006】
本発明の目的は、被処理物の温度分布をより速やかに、かつ、より高い省エネルギー性で均一にすることである。
【課題を解決するための手段】
【0007】
本発明者らは、上記課題を解決するために鋭意検討した結果、熱音響現象のドリームパイプ効果を生じさせる第1管部を載置部の内部に設け、かつ、当該第1管部とドリームパイプ効果に係る振動生成手段との間を接続する第2管部におけるドリームパイプ効果を抑制すること等によって、上記の目的を達成できることを見出し、本発明を完成させるに至った。具体的に、本発明は以下のものを提供する。
【0008】
第1の特徴に係る発明は、被処理物が載置される載置部と、前記載置部の内部に設けられ、作動流体が入れられる第1流路が内部に形成された第1管部と、前記第1流路に沿った方向に前記作動流体を振動させる振動生成部と、前記振動生成部と前記第1流路とを接続する第2流路が内部に形成された第2管部と、を備え、流路に沿った方向における単位長さ当たりの熱容量である長さ熱容量について、前記第2管部の長さ熱容量は、前記第1管部の長さ熱容量より小さい、温度調節装置を提供する。
【0009】
管の内部に形成された流路内の作動流体を振動させることにより、作動流体における振動流れの方向に沿った実効的熱伝導率を高まるドリームパイプ効果が生じることが知られている。ドリームパイプ効果は、振動流れの方向に沿って、温度が高い部分から低い部分に向けて熱を輸送する
【0010】
第1の特徴に係る発明によれば、被処理物は、載置部を介して第1管部と熱をやり取りする。第1管部内部に形成された第1流路にある作動流体は、振動生成部により振動する。これにより、載置部の内部に設けられた第1管部内部の作動流体は、ドリームパイプ効果により、第1管部の向きに沿った方向かつ温度が高い部分から低い部分に向けて熱を輸送する。これにより、第1の特徴に係る発明は、第1管部の向きに沿った方向において、被処理物の温度分布を速やかに均一にする。
(【0011】以降は省略されています)
この特許をJ-PlatPat(特許庁公式サイト)で参照する
関連特許
個人
排熱回収装置
3か月前
個人
冷却装置の蒸発器
17日前
個人
放射冷却装置
19日前
個人
熱交換装置
1か月前
個人
熱交換装置
5か月前
ホーコス株式会社
熱交換ユニット
9か月前
三恵技研工業株式会社
熱交換器
7か月前
三恵技研工業株式会社
熱交換器
7か月前
アンリツ株式会社
検査装置
6か月前
アンリツ株式会社
検査装置
6か月前
株式会社パイオラックス
熱交換器
9か月前
日産自動車株式会社
熱交換器
8か月前
株式会社ティラド
ラジエータ
9か月前
株式会社アイシン
水噴射冷却システム
9か月前
新光電気工業株式会社
蓄熱装置
2か月前
個人
熱交換器
12か月前
株式会社デンソー
熱交換器
5か月前
栗田工業株式会社
冷却塔システム
4か月前
株式会社デンソー
熱交換器
4か月前
株式会社デンソー
熱交換器
5か月前
栗田工業株式会社
冷却塔システム
9か月前
株式会社アイシン
熱交換器
5か月前
サンデン株式会社
熱交換器
7か月前
サンデン株式会社
熱交換器
9か月前
サンデン株式会社
熱交換器
7か月前
日新電機株式会社
化学蓄熱反応器
10か月前
サンデン株式会社
熱交換器
9か月前
ZACROS株式会社
熱交換装置
7か月前
サンデン株式会社
熱交換器
9か月前
株式会社デンソー
熱交換器
6か月前
株式会社デンソー
熱交換器
12か月前
TPR株式会社
熱電発電機能付き熱交換器
8か月前
古河電気工業株式会社
ヒートパイプ
9か月前
中部抵抗器株式会社
密閉構造体用冷却装置
10か月前
株式会社神戸製鋼所
積層型熱交換器
5か月前
株式会社デンソー
熱交換装置
18日前
続きを見る
他の特許を見る