TOP
|
特許
|
意匠
|
商標
特許ウォッチ
Twitter
他の特許を見る
10個以上の画像は省略されています。
公開番号
2025153120
公報種別
公開特許公報(A)
公開日
2025-10-10
出願番号
2024055424
出願日
2024-03-29
発明の名称
熱交換器
出願人
株式会社富士通ゼネラル
代理人
弁理士法人酒井国際特許事務所
主分類
F28F
9/02 20060101AFI20251002BHJP(熱交換一般)
要約
【課題】複数の板状部材が積層されて内部に分流路が形成されるヘッダが形成される際に、積層順が間違えられて複数の板状部材が積層されることを防止する。
【解決手段】室外熱交換器1は、複数の伝熱管23と、複数の伝熱管23に冷媒を分流させる分流路が形成される膨張弁側ヘッダ21とを備え、膨張弁側ヘッダ21は、分流路形成要素が形成される複数の板状部材を備え、分流路は、複数の板状部材が積層されることにより、分流路形成要素から形成され、複数の板状部材には、分流路形成要素が形成される領域と異なる他の領域に複数の識別部93がそれぞれ形成されている。
【選択図】図6
特許請求の範囲
【請求項1】
複数の伝熱管と、
冷媒を前記複数の伝熱管に分流させる分流路が形成されるヘッダとを備え、
前記ヘッダは、分流路形成要素が形成される複数の板状部材を有し、
前記分流路は、前記複数の板状部材が積層されることにより、前記分流路形成要素から形成され、
前記複数の板状部材のそれぞれには、前記分流路形成要素が形成される領域と異なる他の領域に前記複数の板状部材の積層順を示す識別部が形成される
熱交換器。
続きを表示(約 830 文字)
【請求項2】
前記複数の板状部材の各々の識別部は、前記分流路から所定距離離れた箇所に、形成される
請求項1に記載の熱交換器。
【請求項3】
前記所定距離は、前記複数の板状部材の厚さの1.5倍より大きい
請求項2に記載の熱交換器。
【請求項4】
前記識別部は、前記分流路から最も離れた部分に形成される
請求項2に記載の熱交換器。
【請求項5】
前記識別部は、前記複数の板状部材が積層される積層方向に重ならないように、形成される
請求項1に記載の熱交換器。
【請求項6】
前記識別部は、前記複数の板状部材の端面に形成され、
前記複数の板状部材の各々の端面のうちの前記識別部が形成される端面は、前記複数の板状部材で同じである
請求項1に記載の熱交換器。
【請求項7】
前記識別部は、前記端面から突出する
請求項6に記載の熱交換器。
【請求項8】
前記ヘッダは、室外機が設置される設置面に鉛直に配置され、
前記識別部は、前記ヘッダのうちの前記設置面に最も近い端面に形成される
請求項6に記載の熱交換器。
【請求項9】
前記複数の板状部材は、前記複数の板状部材の各々の一部が治具に接触することにより、揃えられ、
前記識別部は、前記複数の板状部材のうちの前記治具に接触しない箇所に形成される
請求項6に記載の熱交換器。
【請求項10】
前記複数の板状部材が重ね合わされた際に、隣り合う2つの板状部材の一方の板状部材には、前記複数の板状部材の積層方向に突出する突出部が形成され、
前記2つの板状部材の他方の板状部材には、前記突出部に嵌合する嵌合部が形成される
請求項1に記載の熱交換器。
(【請求項11】以降は省略されています)
発明の詳細な説明
【技術分野】
【0001】
本開示の技術は、熱交換器に関する。
続きを表示(約 2,200 文字)
【背景技術】
【0002】
複数の伝熱管に冷媒を分流させる分流路が内部に形成されるヘッダが複数の板状部材から形成される熱交換器が知られている(特許文献1)。この複数の板状部材には、孔やスリットなどからなる分流路形成要素が設けられており、分流路は、複数の板状部材が積層されて、この分流路形成要素が連通されることにより、形成される。このような熱交換器は、ヘッダの強度と耐久性とを向上させることができ、さらに、複数の板状部材のうちの一部の板状部材の分流路形成要素の形状や大きさを変更するのみで分流路の形状を変更することができ、設計自由度の向上や開発・製造コストの低減を図ることができる。
【先行技術文献】
【特許文献】
【0003】
国際公開第2019/073610号
【発明の概要】
【発明が解決しようとする課題】
【0004】
しかしながら、このような熱交換器は、複数の板状部材の順番または向きが間違えられたときに、ヘッダ内部に意図した分流路が形成されない。これにより、冷媒が複数の伝熱管に適切に分流されないで熱交換性能が悪化するという問題があり、最悪の場合は分流路が途中で遮断されて冷媒の流れがせき止められるという問題がある。
【0005】
開示の技術は、かかる点に鑑みてなされたものであって、複数の板状部材が積層されて内部に分流路が形成されるヘッダが形成される際に、積層順が間違えられて複数の板状部材が積層されることを防止する熱交換器を提供することを目的とする。
【課題を解決するための手段】
【0006】
本開示の一態様による熱交換器は、複数の伝熱管と、冷媒を前記複数の伝熱管に分流させる分流路が形成されるヘッダとを備え、前記ヘッダは、分流路形成要素が形成される複数の板状部材を有し、前記分流路は、前記複数の板状部材が積層されることにより、前記分流路形成要素から形成され、前記複数の板状部材のそれぞれには、前記分流路形成要素が形成される領域と異なる他の領域に前記複数の板状部材の積層順を示す識別部が形成されている。
【発明の効果】
【0007】
開示の熱交換器は、複数の板状部材が積層されて内部に分流路が形成されるヘッダが形成される際に、積層順が間違えられて複数の板状部材が積層されることを防止することができる。
【図面の簡単な説明】
【0008】
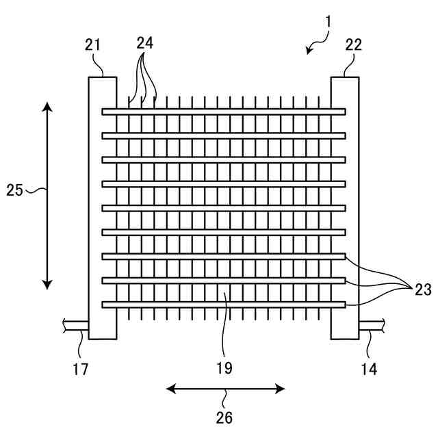
図1は、実施例1の熱交換器が設けられている空気調和機を示す冷媒回路図である。
図2は、実施例1の熱交換器を示す正面図である。
図3は、実施例1の熱交換器を示す上面図である。
図4は、実施例1の熱交換器の伝熱管を示す断面図である。
図5は、実施例1の熱交換器の膨張弁側ヘッダの内部構造を示す分解斜視図である。
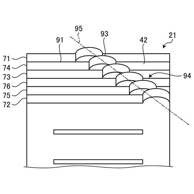
図6は、膨張弁側ヘッダの他端部を示す斜視図である。
図7は、膨張弁側ヘッダを組み立てるときに用いられる治具と、この治具に複数の板状部材がはめ込まれている状態を伝熱管側板状部材の側から見た図面である。
図8は、治具を用いて積層された複数の板状部材を示す斜視図である。
図9は、治具を用いて複数の板状部材が積層されたときの複数の識別部を示す斜視図である。
図10は、実施例2の熱交換器の複数の板状部材をヘッダ長手方向における上方から見た要部斜視図である。
図11は、実施例3の熱交換器の膨張弁側ヘッダを伝熱管側板状部材の側のヘッダ長手方向における下方から見た要部斜視図である。
図12は、実施例4の熱交換器の膨張弁側ヘッダを伝熱管側板状部材の側から見た正面図である。
図13は、実施例5の熱交換器の膨張弁側ヘッダを伝熱管側板状部材の側から見た正面図である。
図14は、実施例6の熱交換器の複数の板状部材の各々を導入方向から見た正面図である。
図15は、実施例7の熱交換器の複数の板状部材の各々を導入方向から見た正面図である。
図16は、実施例7の熱交換器の識別部から形成される凹みを示す断面図である。
図17は、実施例8の熱交換器の膨張弁側ヘッダを風下側端面の側から見た側面断面図である。
図18は、実施例8の熱交換器の複数の板状部材を示す斜視図である。
【発明を実施するための形態】
【0009】
以下に、本願が開示する実施形態にかかる熱交換器について、図面を参照して詳細に説明する。なお、以下の記載により本開示の技術が限定されるものではない。また、以下の記載においては、同一の構成要素に同一の符号を付与し、重複する説明を省略する。
【実施例】
【0010】
実施例1の熱交換器は、図1に示されているように、空気調和機10に設けられている室外熱交換器1である。図1は、実施例1の室外熱交換器1が設けられている空気調和機10の冷媒回路図である。空気調和機10は、室外機2と室内機3とを備えている。室外機2は、屋外に設置されている。室内機3は、屋内の部屋の内部に設置されている。
(【0011】以降は省略されています)
この特許をJ-PlatPat(特許庁公式サイト)で参照する
関連特許
個人
排熱回収装置
4か月前
個人
冷却装置の蒸発器
1か月前
個人
放射冷却装置
1か月前
個人
熱交換装置
7か月前
個人
熱交換装置
2か月前
ホーコス株式会社
熱交換ユニット
10か月前
三恵技研工業株式会社
熱交換器
8か月前
三恵技研工業株式会社
熱交換器
8か月前
アンリツ株式会社
検査装置
7か月前
株式会社パイオラックス
熱交換器
10か月前
アンリツ株式会社
検査装置
7か月前
日産自動車株式会社
熱交換器
9か月前
株式会社ティラド
ラジエータ
10か月前
新光電気工業株式会社
蓄熱装置
3か月前
株式会社アイシン
水噴射冷却システム
10か月前
株式会社デンソー
熱交換器
6か月前
中外炉工業株式会社
クーリングチューブ
3日前
株式会社デンソー
熱交換器
5か月前
日新電機株式会社
化学蓄熱反応器
11か月前
株式会社ティラド
複合型熱交換器
14日前
サンデン株式会社
熱交換器
8か月前
株式会社デンソー
熱交換器
6か月前
サンデン株式会社
熱交換器
8か月前
株式会社アイシン
熱交換器
6か月前
株式会社アイシン
熱交換器
22日前
サンデン株式会社
熱交換器
10か月前
株式会社デンソー
熱交換器
7か月前
サンデン株式会社
熱交換器
10か月前
サンデン株式会社
熱交換器
10か月前
栗田工業株式会社
冷却塔システム
10か月前
ZACROS株式会社
熱交換装置
8か月前
栗田工業株式会社
冷却塔システム
5か月前
古河電気工業株式会社
ヒートパイプ
10か月前
TPR株式会社
熱電発電機能付き熱交換器
9か月前
株式会社デンソー
熱交換装置
1か月前
中部抵抗器株式会社
密閉構造体用冷却装置
11か月前
続きを見る
他の特許を見る