TOP
|
特許
|
意匠
|
商標
特許ウォッチ
Twitter
他の特許を見る
10個以上の画像は省略されています。
公開番号
2025135140
公報種別
公開特許公報(A)
公開日
2025-09-18
出願番号
2024032779
出願日
2024-03-05
発明の名称
コネクタ
出願人
住友電装株式会社
代理人
弁理士法人暁合同特許事務所
主分類
H01R
13/56 20060101AFI20250910BHJP(基本的電気素子)
要約
【課題】良好なロックフィーリングを確保しつつ省スペース化を実現する。
【解決手段】本開示のコネクタ10は、前後方向に貫通するキャビティ24を有するハウジング20と、ハウジング20の後部に装着されるカバー40と、を備えたコネクタ10であって、ハウジング20は、ハウジング20の後部において前後方向に直交する第1方向にのびるハウジング側レール25と、ハウジング側ロック26と、を有し、カバー40は、第1方向からハウジング側レール25に挿入されるカバー側レール52と、カバー側レール52から前方に突出しハウジング側ロック26に係止することでカバー40が正規装着位置でハウジング20に保持されるカバー側ロック53と、を有し、ハウジング側ロック26は、ハウジング側レール25の一部を構成するレール構成面26Aと、カバー側ロック53に第1方向に係止するロック係止面26Bと、を有する。
【選択図】図3
特許請求の範囲
【請求項1】
前後方向に貫通するキャビティを有するハウジングと、
前記ハウジングの後部に装着されるカバーと、を備えたコネクタであって、
前記ハウジングは、前記ハウジングの後部において前記前後方向に直交する第1方向にのびるハウジング側レールと、ハウジング側ロックと、を有し、
前記カバーは、前記第1方向から前記ハウジング側レールに挿入されるカバー側レールと、前記カバー側レールから前方に突出し前記ハウジング側ロックに係止することで前記カバーが正規装着位置で前記ハウジングに保持されるカバー側ロックと、を有し、
前記ハウジング側ロックは、前記ハウジング側レールの一部を構成するレール構成面と、前記カバー側ロックに前記第1方向に係止するロック係止面と、を有する、コネクタ。
続きを表示(約 640 文字)
【請求項2】
前記カバー側ロックは、前記前後方向および前記第1方向に直交する第2方向に撓み変形可能とされ、
前記ハウジング側ロックは、前記レール構成面から前方に向かうほど前記ハウジングの外面から遠ざかる第1テーパ面を有し、前記カバー側ロックは、前記ハウジング側ロックに乗り上げる際に前記第2方向に撓み変形するとともに、前記ハウジング側ロックに乗り上げた状態では前記第1テーパ面に対向する、請求項1に記載のコネクタ。
【請求項3】
前記ハウジング側ロックは、前記カバー側ロックが前記ハウジング側ロックに乗り上げる際に前記カバー側ロックに摺接可能な第2テーパ面を有する、請求項2に記載のコネクタ。
【請求項4】
前記ハウジング側ロックは、前記第1テーパ面と前記第2テーパ面をつなぐ第3テーパ面を有する、請求項3に記載のコネクタ。
【請求項5】
前記カバーは、前記ハウジングに対して前記第1方向の一側から装着される第1カバーと、前記ハウジングに対して前記第1方向の他側から装着される第2カバーと、を備え、前記第1カバーと前記第2カバーのいずれか一方が前記ハウジングの後部に装着されるようになっており、
前記第1カバーは、前記第1方向の他側から前記ハウジングに誤って装着しようとした場合に、前記ハウジングの外面に干渉することで装着動作が停止される誤組防止リブを有する、請求項1から請求項4のいずれか1項に記載のコネクタ。
発明の詳細な説明
【技術分野】
【0001】
本開示は、コネクタに関する。
続きを表示(約 2,500 文字)
【背景技術】
【0002】
電線カバーをスライドさせながらハウジングに装着可能に構成されたコネクタとして、例えば特開2020-202053号公報(下記特許文献1)に記載のレバー式コネクタが知られている。このレバー式コネクタは、雄ハウジングと、雌ハウジングと、雄雌両ハウジングを嵌合させるレバーと、雌ハウジングの後部に装着される電線カバーと、を備えている。雌ハウジングの後端側には、電線カバーを組み付けるための一対の組付部が形成されている。組付部は、一対の突起片部と、一対の起立片部と、を有している。
【0003】
電線カバーの下端には、スライドリブが一体に形成されている。このスライドリブが一対の突起片部と一対の起立片部との間にスライドすることで電線カバーが雌ハウジングに装着される。電線カバーの下端には弾性ロック片が一体に形成されている。弾性ロック片の先端部にはロック突起が形成され、雌ハウジングに形成された凹状の被ロック部に係止するようになっている。ロック突起が被ロック部に係止することで電線カバーが雌ハウジングに対して抜け止め自在に装着される。
【先行技術文献】
【特許文献】
【0004】
特開2020-202053号公報
【発明の概要】
【発明が解決しようとする課題】
【0005】
上記の電線カバーはスライド式の装着方法を採用しているため、スペースに余裕がない場合にも装着可能という利点がある。しかしながら、ロック突起と被ロック部との係止構造がスライドレール内(突起片部と起立片部の間)に収まる大きさに形成されているため、良好なロックフィーリングを得ることができないおそれがある。このため、スライドレールとは別の箇所に大きめの係止構造を設けると、レバー式コネクタ全体の構成が大きくなり、省スペース化に不利となる。
【課題を解決するための手段】
【0006】
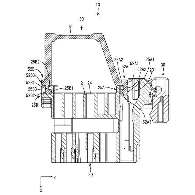
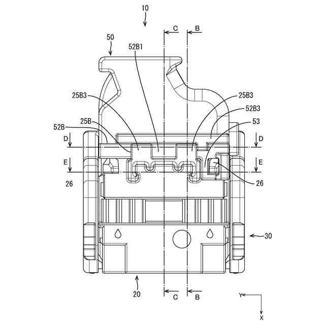
本開示のコネクタは、前後方向に貫通するキャビティを有するハウジングと、前記ハウジングの後部に装着されるカバーと、を備えたコネクタであって、前記ハウジングは、前記ハウジングの後部において前記前後方向に直交する第1方向にのびるハウジング側レールと、ハウジング側ロックと、を有し、前記カバーは、前記第1方向から前記ハウジング側レールに挿入されるカバー側レールと、前記カバー側レールから前方に突出し前記ハウジング側ロックに係止することで前記カバーが正規装着位置で前記ハウジングに保持されるカバー側ロックと、を有し、前記ハウジング側ロックは、前記ハウジング側レールの一部を構成するレール構成面と、前記カバー側ロックに前記第1方向に係止するロック係止面と、を有する、コネクタである。
【発明の効果】
【0007】
本開示によれば、良好なロックフィーリングを確保しつつ省スペース化を実現できる。
【図面の簡単な説明】
【0008】
図1は、第1カバーが装着されたコネクタを斜め後方から見た斜視図である。
図2は、第2カバーが装着されたコネクタを斜め後方から見た斜視図である。
図3は、第1カバーが装着される前の状態を斜め後方から見た斜視図である。
図4は、図3の状態から第1カバーが装着された後の状態を斜め後方から見た斜視図である。
図5は、コネクタの側面図である。
図6は、図5のA-A断面図である。
図7は、コネクタの底面図である。
図8は、図7のB-B断面図である。
図9は、図7のC-C断面図である。
図10は、図7のD-D断面図である。
図11は、図7のE-E断面図である。
図12は、ハウジングの斜視図である。
図13は、第1カバーの斜視図である。
図14は、第1カバーを誤って左方から装着しようとした様子を斜め後方から見た斜視図である。
図15は、第1カバーが正規装着位置に至る途中の位置まで装着された様子を斜め後方から見た斜視図である。
図16は、ハウジング側ロックの拡大斜視図である。
図17は、カバー側ロックが第2テーパ面に乗り上げる様子を示した斜視図である。
図18は、カバー側ロックが第2テーパ面に乗り上げる様子を示した断面図である。
図19は、カバー側ロックが第1テーパ面に乗り上げた様子を示した断面図である。
【発明を実施するための形態】
【0009】
[本開示の実施形態の説明]
最初に本開示の実施態様を列挙して説明する。
[1]本開示のコネクタは、前後方向に貫通するキャビティを有するハウジングと、前記ハウジングの後部に装着されるカバーと、を備えたコネクタであって、前記ハウジングは、前記ハウジングの後部において前記前後方向に直交する第1方向にのびるハウジング側レールと、ハウジング側ロックと、を有し、前記カバーは、前記第1方向から前記ハウジング側レールに挿入されるカバー側レールと、前記カバー側レールから前方に突出し前記ハウジング側ロックに係止することで前記カバーが正規装着位置で前記ハウジングに保持されるカバー側ロックと、を有し、前記ハウジング側ロックは、前記ハウジング側レールの一部を構成するレール構成面と、前記カバー側ロックに前記第1方向に係止するロック係止面と、を有する。
【0010】
ハウジング側ロックがレール構成面を有するから、ハウジング側ロックをハウジング側レールに最大限近づけて配置できる。このため、カバー側ロックのカバー側レールからの突出長さを最小限に抑えることができる。したがって、コネクタ全体の省スペース化が可能になる。また、ハウジング側ロックのレール構成面のみがハウジング側レールに位置しているため、ハウジング側レールの制約を受けることなくロック係止面を大きく形成することができる。したがって、良好なロックフィーリングを確保できる。
(【0011】以降は省略されています)
この特許をJ-PlatPat(特許庁公式サイト)で参照する
関連特許
住友電装株式会社
端子台
20日前
住友電装株式会社
コネクタ
24日前
住友電装株式会社
コネクタ
4日前
住友電装株式会社
コネクタ
13日前
住友電装株式会社
コネクタ
12日前
住友電装株式会社
シールドコネクタ
4日前
住友電装株式会社
外導体端子及びシールドコネクタ
4日前
住友電装株式会社
プロテクタとホルダとの一体化ユニット
10日前
住友電装株式会社
プロテクタ及びプロテクタ付ワイヤハーネス
10日前
株式会社オートネットワーク技術研究所
雌端子
5日前
株式会社オートネットワーク技術研究所
コネクタ
6日前
株式会社オートネットワーク技術研究所
コネクタ
6日前
株式会社オートネットワーク技術研究所
車載用制御装置
18日前
住友電装株式会社
電気接続箱
17日前
住友電装株式会社
バスバユニット
4日前
株式会社オートネットワーク技術研究所
端子金具、及びコネクタ
5日前
株式会社オートネットワーク技術研究所
端子金具、及びコネクタ
5日前
住友電装株式会社
配線部材の配索構造
4日前
住友電装株式会社
配線部材の配索構造
6日前
株式会社オートネットワーク技術研究所
端子材料および電気接続端子
20日前
株式会社オートネットワーク技術研究所
端子材料および電気接続端子
20日前
株式会社オートネットワーク技術研究所
端子金具、実装基板及び基板装置
19日前
住友電装株式会社
配線システム及び多用途配線部材
12日前
株式会社オートネットワーク技術研究所
端子接続構造および端子付きアルミ電線
6日前
株式会社オートネットワーク技術研究所
電気接続箱、及び電気接続箱の製造方法
19日前
株式会社オートネットワーク技術研究所
クランプ、ワイヤハーネス及びクランプセット
17日前
株式会社オートネットワーク技術研究所
クランプ、ワイヤハーネス及びクランプセット
13日前
株式会社オートネットワーク技術研究所
車載更新システム、車載装置、及び車載ECU
20日前
株式会社オートネットワーク技術研究所
コネクタ
10日前
株式会社オートネットワーク技術研究所
ワイヤハーネス
10日前
株式会社オートネットワーク技術研究所
シールド導電路
19日前
株式会社オートネットワーク技術研究所
ワイヤハーネス
17日前
株式会社オートネットワーク技術研究所
ワイヤハーネス
17日前
株式会社オートネットワーク技術研究所
セキュリティシステム、セキュリティ装置、及びセキュリティ方法
7日前
住友電気工業株式会社
運転支援システム、車載器、運転支援サーバ、運転支援方法、コンピュータプログラム及び記憶媒体
11日前
APB株式会社
蓄電セル
10日前
続きを見る
他の特許を見る