TOP
|
特許
|
意匠
|
商標
特許ウォッチ
Twitter
他の特許を見る
公開番号
2025139828
公報種別
公開特許公報(A)
公開日
2025-09-29
出願番号
2024038878
出願日
2024-03-13
発明の名称
基板装置
出願人
株式会社オートネットワーク技術研究所
,
住友電装株式会社
,
住友電気工業株式会社
代理人
弁理士法人グランダム特許事務所
主分類
H01R
12/58 20110101AFI20250919BHJP(基本的電気素子)
要約
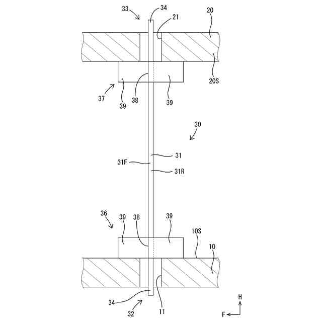
【課題】回路基板のスルーホール内におけるプレスフィット部の傾きを抑制する。
【解決手段】基板装置は、互いに対向するように配置される一対の回路基板10,20と、一対の回路基板10,20に接続されるプレスフィット端子30とを備え、プレスフィット端子30の長さ方向の両端部には、一対の回路基板10,20のスルーホール11,21に対して弾性変形した状態で圧入される第1プレスフィット部32と第2プレスフィット部33が形成され、プレスフィット端子30には、プレスフィット部32,33がスルーホール11,21に圧入されている状態において、回路基板10,20に当接することによってスルーホール11,21内におけるプレスフィット部32,33の傾きを抑制する傾き規制部36,37が形成されている。
【選択図】図1
特許請求の範囲
【請求項1】
互いに対向するように配置される一対の回路基板と、
前記一対の回路基板に接続されるプレスフィット端子とを備え、
前記プレスフィット端子の長さ方向の両端部には、前記一対の回路基板のスルーホールに対して弾性変形した状態で圧入される一対のプレスフィット部が形成され、
前記プレスフィット端子には、前記プレスフィット部が前記スルーホールに圧入されている状態において、前記回路基板に当接することによって前記スルーホール内における前記プレスフィット部の傾きを抑制する傾き規制部が形成されている基板装置。
続きを表示(約 360 文字)
【請求項2】
前記プレスフィット部は、互いに接近する方向に弾性変位することが可能であり、前記スルーホールの内周面を弾性的に押圧する一対の弾性撓み部を有し、
前記傾き規制部は、前記一対の弾性撓み部の弾性変位方向と平行な方向へ突出した形態である請求項1に記載の基板装置。
【請求項3】
前記プレスフィット端子は、金属板材からなり、
前記傾き規制部は、
前記プレスフィット端子の板面方向に延びた第1規制部と、
前記プレスフィット端子の板厚方向に延びた第2規制部とを有する請求項1又は請求項2に記載の基板装置。
【請求項4】
前記プレスフィット端子を前記回路基板の板厚方向と平行に視たときに、一対の前記傾き規制部が点対称な形状をなしている請求項3に記載の基板装置。
発明の詳細な説明
【技術分野】
【0001】
本開示は、基板装置に関するものである。
続きを表示(約 1,900 文字)
【背景技術】
【0002】
特許文献1には、互いに平行をなして対向する一般基板とエンド基板を、複数のプレスフィットタイプの基板間端子を介して接続する構造が開示されている。基板間端子の両端部には、幅狭となるように弾性変形することが可能な一対のプレスフィット部が形成されている。一対のプレスフィット部は、弾性変形した状態で、一対の基板のスルーホールに圧入されている。プレスフィット部と基板は、プレスフィット部の弾性変形に起因する摩擦力によって接続状態に保持されている。
【先行技術文献】
【特許文献】
【0003】
特開2023-042467号公報
【発明の概要】
【発明が解決しようとする課題】
【0004】
一般基板とエンド基板が、それらの板面と平行な方向へ相対変位した場合、基板間端子の姿勢が傾き、プレスフィット部もスルーホールの内部で姿勢を変化させる。プレスフィット部の姿勢がスルーホール内で変化すると、プレスフィット部の弾性変形量が変化することによって、プレスフィット部による保持力が低下したり、プレスフィット部とスルーホールの内周面との間の接触抵抗が変化したり、スルーホールの開口縁部が傷ついたりする等の不具合が懸念される。
【0005】
本開示の基板装置は、上記のような事情に基づいて完成されたものであって、回路基板のスルーホール内におけるプレスフィット部の傾きを抑制することを目的とする。
【課題を解決するための手段】
【0006】
本開示の基板装置は、
互いに対向するように配置される一対の回路基板と、
前記一対の回路基板に接続されるプレスフィット端子とを備え、
前記プレスフィット端子の長さ方向の両端部には、前記一対の回路基板のスルーホールに対して弾性変形した状態で圧入される一対のプレスフィット部が形成され、
前記プレスフィット端子には、前記プレスフィット部が前記スルーホールに圧入されている状態において、前記回路基板に当接することによって前記スルーホール内における前記プレスフィット部の傾きを抑制する傾き規制部が形成されている。
【発明の効果】
【0007】
本開示によれば、回路基板のスルーホール内におけるプレスフィット部の傾きを抑制することができる。
【図面の簡単な説明】
【0008】
図1は、実施例1の基板装置において第1回路基板と第2回路基板を断面にした状態をあらわす正面図である。
図2は、基板装置において第1回路基板と第2回路基板を断面にした状態をあらわす側面図である。
図3は、プレスフィット端子の斜視図である。
【発明を実施するための形態】
【0009】
[本開示の実施形態の説明]
最初に本開示の実施形態を列記して説明する。下記の複数の実施形態を、矛盾を生じない範囲で任意に組み合わせたものも、発明を実施するための形態に含まれる。
本開示の基板装置は、
(1)互いに対向するように配置される一対の回路基板と、前記一対の回路基板に接続されるプレスフィット端子とを備え、前記プレスフィット端子の長さ方向の両端部には、前記一対の回路基板のスルーホールに対して弾性変形した状態で圧入される一対のプレスフィット部が形成され、前記プレスフィット端子には、前記プレスフィット部が前記スルーホールに圧入されている状態において、前記回路基板に当接することによって前記スルーホール内における前記プレスフィット部の傾きを抑制する傾き規制部が形成されている。本開示の構成によれば、一対の回路基板のスルーホールに一対のプレスフィット部が圧入されている状態で、一対の回路基板が対向方向と交差する方向に相対変位すると、傾き規制部が回路基板に当接することによって、スルーホール内におけるプレスフィット部の傾きが抑制される。
【0010】
(2)前記プレスフィット部は、互いに接近する方向に弾性変位することが可能であり、前記スルーホールの内周面を弾性的に押圧する一対の弾性撓み部を有し、前記傾き規制部は、前記一対の弾性撓み部の弾性変位方向と平行な方向へ突出した形態であることが好ましい。この構成によれば、プレスフィット部が、一対の弾性撓み部の弾性変形量を変化させるように傾くことを確実に防止することができる。
(【0011】以降は省略されています)
この特許をJ-PlatPat(特許庁公式サイト)で参照する
関連特許
APB株式会社
蓄電セル
23日前
東ソー株式会社
絶縁電線
25日前
個人
フレキシブル電気化学素子
1か月前
マクセル株式会社
電源装置
17日前
株式会社ユーシン
操作装置
1か月前
株式会社東芝
端子台
17日前
日新イオン機器株式会社
イオン源
1か月前
ローム株式会社
半導体装置
1か月前
ローム株式会社
半導体装置
24日前
株式会社GSユアサ
蓄電設備
1か月前
株式会社ホロン
冷陰極電子源
1か月前
三菱電機株式会社
回路遮断器
4日前
株式会社GSユアサ
蓄電装置
18日前
株式会社GSユアサ
蓄電装置
18日前
オムロン株式会社
電磁継電器
1か月前
株式会社GSユアサ
蓄電装置
10日前
株式会社GSユアサ
蓄電設備
1か月前
太陽誘電株式会社
コイル部品
1か月前
サクサ株式会社
電池の固定構造
1か月前
日本特殊陶業株式会社
保持装置
26日前
日本特殊陶業株式会社
保持装置
9日前
トヨタ自動車株式会社
バッテリ
1か月前
トヨタ自動車株式会社
バッテリ
23日前
トヨタ自動車株式会社
蓄電装置
1か月前
トヨタ自動車株式会社
蓄電装置
18日前
トヨタ自動車株式会社
冷却構造
25日前
ノリタケ株式会社
熱伝導シート
1か月前
北道電設株式会社
配電具カバー
23日前
日東電工株式会社
積層体
1か月前
日新イオン機器株式会社
基板処理装置
20日前
株式会社ダイヘン
搬送装置
1か月前
古河電気工業株式会社
端子
1か月前
東レエンジニアリング株式会社
実装装置
1か月前
株式会社デンソー
電子装置
20日前
日本製紙株式会社
導電性フィルム
1か月前
ベストテック株式会社
装置支持具
1か月前
続きを見る
他の特許を見る