TOP
|
特許
|
意匠
|
商標
特許ウォッチ
Twitter
他の特許を見る
10個以上の画像は省略されています。
公開番号
2025135273
公報種別
公開特許公報(A)
公開日
2025-09-18
出願番号
2024033035
出願日
2024-03-05
発明の名称
コネクタおよびコネクタアセンブリ
出願人
住友電装株式会社
代理人
個人
,
個人
主分類
H01R
13/642 20060101AFI20250910BHJP(基本的電気素子)
要約
【課題】検知部材に形成される短絡解除部の剛性を向上できるコネクタおよびコネクタアセンブリを提供する。
【解決手段】コネクタ2は、相手コネクタ3に嵌合されるコネクタハウジング9と、相手コネクタ3の少なくとも一対の相手端子10に電気接続される一対のコネクタ端子11と、コネクタハウジング9に取付けられるとともに、一対のコネクタ端子11を短絡するショート端子15と、コネクタハウジング9が相手コネクタ3に完全に嵌合されている場合に限り、検知前位置から検知位置への操作が可能となる検知部材21と、を備える。検知部材21は、検知前位置から検知位置に操作される際にショート端子15の短絡を解除する短絡解除部58を有する。
【選択図】図14
特許請求の範囲
【請求項1】
相手コネクタに嵌合されるコネクタハウジングと、
前記相手コネクタに設けられた少なくとも一対の相手端子に接続される一対のコネクタ端子と、
前記コネクタハウジングに取付けられるとともに、前記一対のコネクタ端子を短絡するショート端子と、
前記コネクタハウジングが前記相手コネクタに完全に嵌合されている場合に限り、検知前位置から検知位置への操作が可能となる検知部材と、を備えたコネクタであって、
前記検知部材は、前記検知前位置から前記検知位置に操作される際に前記ショート端子の短絡を解除する短絡解除部を有する、コネクタ。
続きを表示(約 1,200 文字)
【請求項2】
前記コネクタハウジングが前記相手コネクタに未嵌合の際には、前記検知部材のロック片を前記コネクタハウジングの規制部に係合させて前記検知前位置で保持し、前記コネクタハウジングが前記相手コネクタに完全に嵌合された際には、前記ロック片と前記規制部との係合が解除されて前記検知位置への操作を可能とする検知前位置保証部を備え、
前記検知部材は、
前記検知前位置から前記検知位置に操作される過程で、前記相手コネクタに設けられた反力付与部から反力が付与されることによって操作荷重を発生させる押圧部を有する、請求項1に記載のコネクタ。
【請求項3】
前記押圧部は、先端に形成されたロック爪が前記コネクタハウジングの凸部に乗り上げて前記反力付与部に当接可能となることにより前記反力付与部の付勢部の付勢力に抗して前記反力付与部を押していき、移動終端位置で前記凸部の奥に形成された凹部に移動して前記凹部に係合し、
前記反力付与部は、前記ロック爪が前記凹部に係合した際に前記ロック爪によって押される状態が解除されることにより、前記付勢部の付勢力によって元の初期位置に復帰して前記ロック爪の上に位置し、前記ロック爪のロック状態を維持する、請求項2に記載のコネクタ。
【請求項4】
前記押圧部は、前記コネクタハウジングの幅方向の中央に配置され、
前記検知前位置保証部は、前記押圧部の両側に配置されるように複数設けられている、請求項2に記載のコネクタ。
【請求項5】
前記ショート端子は、前記一対のコネクタ端子の各々に接続される一対の弾性片を有し、
前記短絡解除部は、前記一対の弾性片のうち、片側に対応するものにのみ形成されている、請求項1に記載のコネクタ。
【請求項6】
前記一対のコネクタ端子は、前記コネクタハウジングの幅方向に並ぶように複数組設けられ、
前記短絡解除部は、前記一対のコネクタ端子の組数に応じて複数形成されている、請求項1に記載のコネクタ。
【請求項7】
コネクタと、前記コネクタに電気接続される相手コネクタと、を備えたコネクタアセンブリであって、
前記コネクタは、
前記相手コネクタに嵌合されるコネクタハウジングと、
前記相手コネクタに設けられた少なくとも一対の相手端子に接続される一対のコネクタ端子と、
前記コネクタハウジングに取付けられるとともに、前記一対のコネクタ端子を短絡するショート端子と、
前記コネクタハウジングが前記相手コネクタに完全に嵌合されている場合に限り、検知前位置から検知位置への操作が可能となる検知部材と、を備え、
前記検知部材は、前記検知前位置から前記検知位置に操作される際に前記ショート端子の短絡を解除する短絡解除部を有する、コネクタアセンブリ。
発明の詳細な説明
【技術分野】
【0001】
本発明は、コネクタおよびコネクタアセンブリに関する。
続きを表示(約 2,100 文字)
【背景技術】
【0002】
従来、特許文献1に開示されるように、互いに嵌合可能な第1ハウジングおよび第2ハウジングの正規嵌合時に検知位置への移動が許容される検知部材を第1ハウジングに有するコネクタが周知である。このコネクタは、第2ハウジング内に配置された一対の第2端子金具を短絡させるショート端子を第2ハウジング内に有する。検知部材は、待機位置から検知位置に至るに伴い、ショート端子による第2端子金具の短絡状態を解除する解除部を有する。
【先行技術文献】
【特許文献】
【0003】
特開2021-28875号公報
【発明の概要】
【発明が解決しようとする課題】
【0004】
ところで、特許文献1は、第1ハウジングに検知部材が配置されるとともに、第2ハウジングにショート端子が配置される。このため、検知部材に短絡解除部を形成する場合、第1ハウジングおよび第2ハウジングの嵌合時に、第1ハウジングに配置された検知部材の短絡解除部を、第2ハウジングに配置されたショート端子に到達させる必要がある。このため、短絡解除部の形状を第2ハウジングの方向に延ばした形状にする必要がある。よって、短絡解除部が浮いたような形状となるので、短絡解除部の剛性が低くなる。短絡解除部の剛性が低いと、反り易くもなる。
【0005】
本開示の目的は、検知部材に形成される短絡解除部の剛性を向上できるコネクタおよびコネクタアセンブリを提供することにある。
【課題を解決するための手段】
【0006】
前記課題を解決するコネクタは、相手コネクタに嵌合されるコネクタハウジングと、前記相手コネクタに設けられた少なくとも一対の相手端子に接続される一対のコネクタ端子と、前記コネクタハウジングに取付けられるとともに、前記一対のコネクタ端子を短絡するショート端子と、前記コネクタハウジングが前記相手コネクタに完全に嵌合されている場合に限り、検知前位置から検知位置への操作が可能となる検知部材と、を備えた構成であって、前記検知部材は、前記検知前位置から前記検知位置に操作される際に前記ショート端子の短絡を解除する短絡解除部を有する。
【発明の効果】
【0007】
本開示は、検知部材に形成される短絡解除部の剛性を向上できる。
【図面の簡単な説明】
【0008】
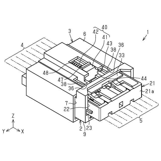
図1は、コネクタアセンブリの斜視図である。
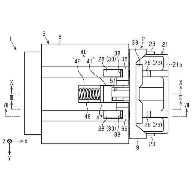
図2は、コネクタアセンブリの平面図である。
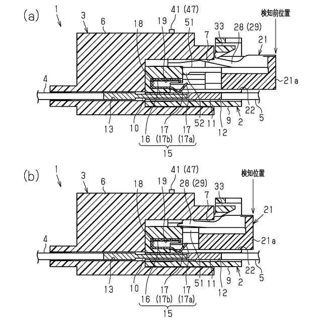
図3(a)および図3(b)は、図2に示すIII-III線断面を示し、検知部材を検知前位置から検知位置へ操作する際の動作説明図である。
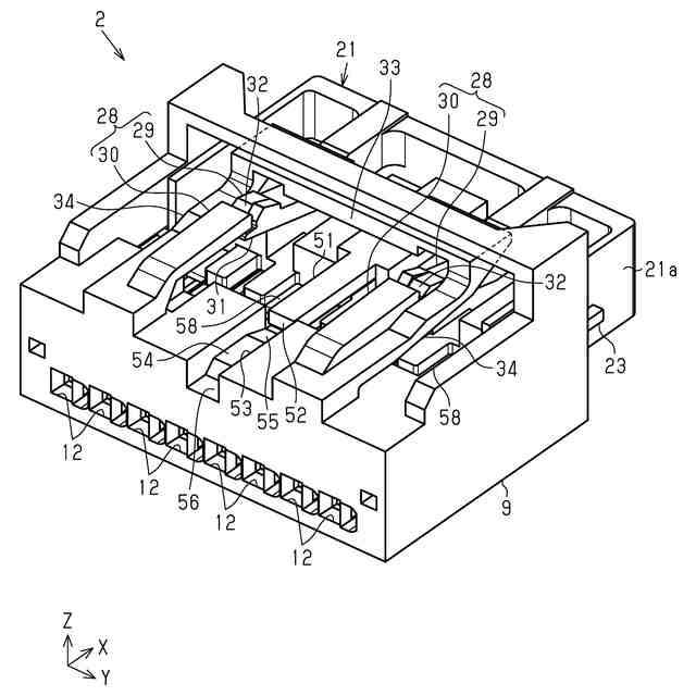
図4は、コネクタの分解斜視図である。
図5は、ショート端子の斜視図である。
図6は、ショート端子の収容状態を示す斜視図である。
図7は、コネクタを正面から見たときの斜視図である。
図8(a)から図8(d)は、図2に示すVIII-VIII線断面を示し、コネクタが相手コネクタに嵌合されて検知部材が検知位置に操作されるときの動作説明図である。
図9は、相手コネクタの分解斜視図である。
図10(a)および図10(b)は、図2に示すX-X線断面を示し、相手コネクタにコネクタを嵌合する際の押圧部の状態の説明図である。
図11(a)から図11(c)は、検知部材を検知位置に操作する際の押圧部の状態の説明図である。
図12は、検知部材を上方から見た斜視図である。
図13は、検知部材を下方から見た斜視図である。
図14(a)から図14(d)は、短絡解除部の動作説明図である。
【発明を実施するための形態】
【0009】
最初に本開示の実施態様を列記して説明する。
[1]本開示のコネクタは、相手コネクタに嵌合されるコネクタハウジングと、前記相手コネクタに設けられた少なくとも一対の相手端子に接続される一対のコネクタ端子と、前記コネクタハウジングに取付けられるとともに、前記一対のコネクタ端子を短絡するショート端子と、前記コネクタハウジングが前記相手コネクタに完全に嵌合されている場合に限り、検知前位置から検知位置への操作が可能となる検知部材と、を備えた構成であって、前記検知部材は、前記検知前位置から前記検知位置に操作される際に前記ショート端子の短絡を解除する短絡解除部を有する。
【0010】
本構成によれば、ショート端子の短絡解除部を有する検知部材がコネクタに設けられ、このコネクタにショート端子も配置される。このように、短絡解除部を有する検知部材が設けられたコネクタにショート端子を配置したので、短絡解除部の近傍にショート端子を配置することが可能となる。このため、短絡解除部は、近傍に位置するショート端子に至る短い形状で済む。よって、検知部材に形成される短絡解除部の剛性を向上することが可能となる。
(【0011】以降は省略されています)
この特許をJ-PlatPat(特許庁公式サイト)で参照する
関連特許
住友電装株式会社
端子台
1か月前
住友電装株式会社
端子台
1か月前
住友電装株式会社
コネクタ
27日前
住友電装株式会社
コネクタ
1か月前
住友電装株式会社
コネクタ
26日前
住友電装株式会社
コネクタ
1か月前
住友電装株式会社
コネクタ
2か月前
住友電装株式会社
コネクタ
1か月前
住友電装株式会社
コネクタ
1か月前
住友電装株式会社
コネクタ
1か月前
住友電装株式会社
コネクタ
1か月前
住友電装株式会社
コネクタ
1か月前
住友電装株式会社
コネクタ
1か月前
住友電装株式会社
コネクタ
18日前
住友電装株式会社
コネクタ
1か月前
住友電装株式会社
コネクタ
1か月前
住友電装株式会社
コネクタ
2か月前
住友電装株式会社
コネクタ
1か月前
住友電装株式会社
プロテクタ
1か月前
住友電装株式会社
シールド端子
12日前
住友電装株式会社
充電コネクタ
2か月前
住友電装株式会社
ワイヤハーネス
2か月前
住友電装株式会社
ワイヤハーネス
1か月前
住友電装株式会社
コネクタユニット
2か月前
住友電装株式会社
シールドコネクタ
18日前
住友電装株式会社
コネクタアセンブリ
1か月前
住友電装株式会社
ブラケット付きコネクタ
1か月前
住友電装株式会社
ダミー栓およびコネクタ
1か月前
住友電装株式会社
圧着端子、および端子付き電線
1か月前
住友電装株式会社
端子台、及び端子台の製造方法
1か月前
住友電装株式会社
電気接続箱および制御ユニット
1か月前
住友電装株式会社
プロテクタ、及びワイヤハーネス
1か月前
住友電装株式会社
外導体端子及びシールドコネクタ
18日前
住友電装株式会社
コネクタ及びコネクタアセンブリ
1か月前
住友電装株式会社
絶縁構造体、及びワイヤハーネス
1か月前
住友電装株式会社
ワイヤハーネス、及びグロメット
1か月前
続きを見る
他の特許を見る