TOP
|
特許
|
意匠
|
商標
特許ウォッチ
Twitter
他の特許を見る
10個以上の画像は省略されています。
公開番号
2025130786
公報種別
公開特許公報(A)
公開日
2025-09-09
出願番号
2024028073
出願日
2024-02-28
発明の名称
コネクタ
出願人
住友電装株式会社
代理人
弁理士法人グランダム特許事務所
主分類
H01R
13/42 20060101AFI20250902BHJP(基本的電気素子)
要約
【課題】ハウジングに対する端子の逆挿入を検知する確実性を高めることができ、端子およびハウジングの小型化に対応できるコネクタを提供する。
【解決手段】端子60は、前後方向と交差する方向に突出する第1突部66および第2突部67を有している。第2突部67は、第1突部66よりも後方で且つ前後方向の同軸上に第1突部66と並んで配置される。ハウジング20,21は、キャビティ22の内面に、ランス23よりも後方に配置される第1干渉部36と、第1干渉部36よりも後方に配置される第2干渉部38と、を有している。端子60がキャビティ22に対して正規の挿入姿勢で配置される場合に、第1突部66が前記ランス23に係止される。端子60がキャビティ22に対して逆挿入姿勢で配置される場合に、第1突部66が第1干渉部36に対して後方から干渉し、且つ第1突部66と第1干渉部36との干渉時に、第2突部67も第2干渉部38に干渉している。
【選択図】図9
特許請求の範囲
【請求項1】
電線の端末部に接続される端子と、
前記端子を収容するハウジングと、を備え、
前記端子は、前後方向と交差する方向に突出する第1突部および第2突部を有し、
前記第2突部は、前記第1突部よりも後方で且つ前後方向の同軸上に前記第1突部と並んで配置され、
前記ハウジングは、
前後方向に延びるキャビティと、
前記キャビティの内面から突出する弾性変形可能なランスと、
前記キャビティの内面において前記ランスよりも後方に配置される第1干渉部と、
前記キャビティの内面において前記第1干渉部よりも後方に配置される第2干渉部と、を有し、
前記端子が前記キャビティに対して正規の挿入姿勢で配置される場合に、前記第1突部が前記ランスに係止され、
前記端子が前記キャビティに対して前記正規の挿入姿勢とは逆向きの逆挿入姿勢で配置される場合に、前記第1突部が前記第1干渉部に対して後方から干渉し、且つ前記第1突部と前記第1干渉部との干渉時に、前記第2突部も前記第2干渉部に干渉している、コネクタ。
続きを表示(約 870 文字)
【請求項2】
前記第2干渉部は、前記キャビティの内部へ突出するにしたがって前方に傾斜する後方傾斜面を有している、請求項1に記載のコネクタ。
【請求項3】
前記第2干渉部は、前記キャビティの内面に台形に形成され、前後方向に延びる乗り上げ面と、後方へ向けて傾斜して乗り上げ面の前端に連なる前方傾斜面と、を有し、
前記後方傾斜面は、前方へ向けて傾斜して前記乗り上げ面の後端に連なり、
前記ハウジングは、前記キャビティの内面に、前記前方傾斜面と対向する対向傾斜面を有し、
前記ハウジングの前記キャビティの内部には、前記前方傾斜面と前記対向傾斜面との間に、前記第1干渉部の挿入路が区画され、
前記第1干渉部は、前記挿入路の前方に配置される、請求項2に記載のコネクタ。
【請求項4】
前記第1干渉部は、前記キャビティの内面の第1面に形成され、
前記第2干渉部は、前記キャビティの内面における前記第1面と交差して隣接する第2面に形成されている、請求項3に記載のコネクタ。
【請求項5】
前記第1干渉部は、前後方向と直交する方向に沿ったストッパ面を有している、請求項3に記載のコネクタ。
【請求項6】
前記ハウジングに装着されるシール部材をさらに備え、
前記シール部材は、前後方向に貫通するシール孔と、前記シール孔の内周を周方向に延びる内周リップと、を有し、
前記電線は、前記シール孔に配置されて前記内周リップに密着するように構成され、
前記第1干渉部および前記第2干渉部は、前記シール部材よりも前方に配置され、
前記端子は、前記電線の絶縁被覆に圧着されるインシュレーションバレルを有し、
前記第1突部および前記第2突部がそれぞれ前記第1干渉部および前記第2干渉部と干渉した状態で、前記インシュレーションバレルが前記内周リップから後方に離れて配置される、請求項1から請求項5のいずれか一項に記載のコネクタ。
発明の詳細な説明
【技術分野】
【0001】
本開示は、コネクタに関する。
続きを表示(約 2,100 文字)
【背景技術】
【0002】
特許文献1に開示されたコネクタは、コネクタ本体(以下、「ハウジング」と称する)と端子金具(以下、「端子」と称する)とを備えている。ハウジングは、前後方向に延びる端子挿入孔(以下、「キャビティ」と称する)を有している。端子は、ハウジングの後方からキャビティに挿入される。
【0003】
また、端子は、四角筒状の本体部と、本体部の上壁の一部を切り起こして形成された突起と、本体部の一側壁(上壁と交差して隣接する壁)の一部を切り起こして形成された第2突起と、を有している。
ハウジングは、キャビティと連通しつつ前後方向に延びる逆挿案内溝と、逆挿案内溝とは別位置でキャビティに連通する凹所と、を有している。
【0004】
端子がキャビティに正規の挿入姿勢とは上下逆向きの逆挿入姿勢で挿入される場合に、突起が逆挿案内溝に進入するとともに、第2突起が凹所に進入する。そこで、第2突起が凹部の内面に突き当たり、端子の移動が停止することにより、端子がキャビティに逆挿入姿勢(誤った姿勢)で挿入されていることを検知し且つ防止することが可能となっている。端子の逆挿入を検知する技術は、特許文献2にも開示されている。
【先行技術文献】
【特許文献】
【0005】
特開2019-153502号公報
特開2017-143010号公報
【発明の概要】
【発明が解決しようとする課題】
【0006】
特許文献1の場合、端子の逆挿入時に、2つの突起(突起および第2突起)がハウジングの内壁と干渉するので、逆挿入検知の確実性を高めることができた。しかし、突起が本体部に対して上方に突出し、第2突起が本体部に対して側方に突出しているので、本体部が上下方向および左右方向に大きくなり、ひいては本体部が挿入されるキャビティの径寸法も大きくなる懸念があった。
【0007】
そこで、本開示は、ハウジングに対する端子の逆挿入を検知する確実性を高めることができ、端子およびハウジングの小型化に対応できるコネクタを提供することを目的とする。
【課題を解決するための手段】
【0008】
本開示のコネクタは、電線の端末部に接続される端子と、前記端子を収容するハウジングと、を備え、前記端子は、前後方向と交差する方向に突出する第1突部および第2突部を有し、前記第2突部は、前記第1突部よりも後方で且つ前後方向の同軸上に前記第1突部と並んで配置され、前記ハウジングは、前後方向に延びるキャビティと、前記キャビティの内面から突出する弾性変形可能なランスと、前記キャビティの内面において前記ランスよりも後方に配置される第1干渉部と、前記キャビティの内面において前記第1干渉部よりも後方に配置される第2干渉部と、を有し、前記端子が前記キャビティに対して正規の挿入姿勢で配置される場合に、前記第1突部が前記ランスに係止され、前記端子が前記キャビティに対して前記正規の挿入姿勢とは逆向きの逆挿入姿勢で配置される場合に、前記第1突部が前記第1干渉部に対して後方から干渉し、且つ前記第1突部と前記第1干渉部との干渉時に、前記第2突部も前記第2干渉部に干渉している、コネクタである。
【発明の効果】
【0009】
本開示によれば、ハウジングに対する端子の逆挿入を検知する確実性を高めることができ、端子およびハウジングの小型化に対応できるコネクタを提供することが可能となる。
【図面の簡単な説明】
【0010】
図1は、本開示の実施形態1のコネクタを前方から見た斜視図である。
図2は、本実施形態1のコネクタにおいて、正規挿入姿勢の端子がハウジングのキャビティに収容された状態を拡大して示す側断面図である。
図3は、本実施形態1のコネクタにおける端子を前方から見た斜視図である。
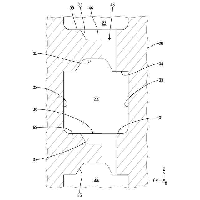
図4は、本実施形態1のコネクタにおいて、ハウジングの一部のキャビティを拡大して示す横断面図である。
図5は、本実施形態1のコネクタにおいて、ハウジングを左右方向に沿って切断し、第1干渉部および第2干渉部を上方から見た斜視図である。
図6は、本実施形態1のコネクタにおいて、後壁部の貫通孔から電線が引き出される部分を拡大して示す背面図である。
図7は、本実施形態1のコネクタにおいて、第1突部が第1干渉部に干渉し、且つ第2突部が第2干渉部に干渉して、逆挿入姿勢の端子の移動が停止した状態を拡大して示す側断面図である。
図8は、本実施形態1のコネクタにおいて、第1突部が後方傾斜面に沿って移動し、逆挿入姿勢の端子の前端が幅方向一側に振れた状態を拡大して示す平断面図である。
図9は、本実施形態1のコネクタにおいて、第1突部が第1干渉部に干渉し、且つ第2突部が乗り上げ面に乗り上げられ、逆挿入姿勢の端子の前端が幅方向他側に振れた状態を拡大して示す平断面図である。
【発明を実施するための形態】
(【0011】以降は省略されています)
この特許をJ-PlatPat(特許庁公式サイト)で参照する
関連特許
住友電装株式会社
端子台
1か月前
住友電装株式会社
コネクタ
1か月前
住友電装株式会社
コネクタ
1か月前
住友電装株式会社
コネクタ
1か月前
住友電装株式会社
コネクタ
1か月前
住友電装株式会社
コネクタ
10日前
住友電装株式会社
プロテクタ
1か月前
住友電装株式会社
シールド端子
25日前
住友電装株式会社
シールドコネクタ
1か月前
住友電装株式会社
電気接続箱および制御ユニット
1か月前
住友電装株式会社
端子台、及び端子台の製造方法
1か月前
住友電装株式会社
外導体端子及びシールドコネクタ
1か月前
住友電装株式会社
コネクタ及びコネクタアセンブリ
23日前
住友電装株式会社
プロテクタとホルダとの一体化ユニット
1か月前
住友電装株式会社
プロテクタ及びプロテクタ付ワイヤハーネス
1か月前
株式会社オートネットワーク技術研究所
電装品
23日前
株式会社オートネットワーク技術研究所
雌端子
1か月前
株式会社オートネットワーク技術研究所
電装品
23日前
株式会社オートネットワーク技術研究所
固定部材
24日前
株式会社オートネットワーク技術研究所
コネクタ
1か月前
株式会社オートネットワーク技術研究所
コネクタ
1か月前
株式会社オートネットワーク技術研究所
端子金具
2日前
株式会社オートネットワーク技術研究所
端子金具
2日前
株式会社オートネットワーク技術研究所
コネクタ
10日前
株式会社オートネットワーク技術研究所
端子金具
2日前
株式会社オートネットワーク技術研究所
コネクタ
1か月前
株式会社オートネットワーク技術研究所
端子金具
2日前
株式会社オートネットワーク技術研究所
コネクタ
2日前
株式会社オートネットワーク技術研究所
車載装置
1か月前
株式会社オートネットワーク技術研究所
電気接続箱
4日前
株式会社オートネットワーク技術研究所
接続構造体
1か月前
株式会社オートネットワーク技術研究所
コネクタ装置
1か月前
株式会社オートネットワーク技術研究所
コネクタ装置
1か月前
住友電装株式会社
接続構造体、リアクトル装置および接続構造体の製造方法
23日前
株式会社オートネットワーク技術研究所
基板用コネクタ
10日前
株式会社オートネットワーク技術研究所
車載用制御装置
1か月前
続きを見る
他の特許を見る