TOP
|
特許
|
意匠
|
商標
特許ウォッチ
Twitter
他の特許を見る
10個以上の画像は省略されています。
公開番号
2025176947
公報種別
公開特許公報(A)
公開日
2025-12-05
出願番号
2024083368
出願日
2024-05-22
発明の名称
プロテクタ、及びワイヤハーネス
出願人
住友電装株式会社
代理人
個人
,
個人
主分類
H02G
3/04 20060101AFI20251128BHJP(電力の発電,変換,配電)
要約
【課題】複数のプロテクタ部材の相対位置の位置決めを容易に行うことのできるプロテクタ、及びワイヤハーネスを提供する。
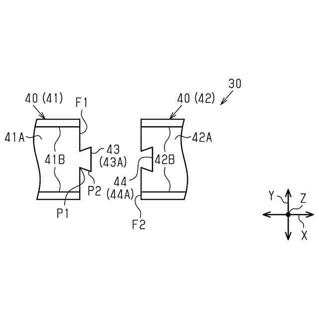
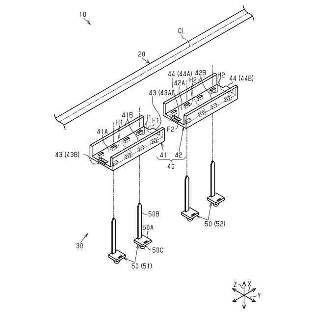
【解決手段】車体に固定されるプロテクタ30は、少なくとも1つの電線20の長さ方向の一部を保護するプロテクタ部材40を有する。プロテクタ部材40は、第1プロテクタ部材41と第2プロテクタ部材42とを備える。第1プロテクタ部材41は、第1端面F1と第1係合部43とを有する。第2プロテクタ部材42は、第2端面F2と第2係合部44とを有する。第1端面F1と第2端面F2とは、電線20の長さ方向に沿って配置したとき互いに向かい合う。第1係合部43と第2係合部44とは、第1端面F1と第2端面F2とが向かい合った状態において凹凸の関係で係合可能である。
【選択図】図1
特許請求の範囲
【請求項1】
少なくとも1つの電線の長さ方向の一部を保護するプロテクタ部材を有し、車体に固定されるプロテクタであって、
前記プロテクタ部材は、第1プロテクタ部材と第2プロテクタ部材とを備え、
前記第1プロテクタ部材と前記第2プロテクタ部材との各々は、
前記電線の長さ方向に沿って配置したとき互いに向かい合う端面と、
前記端面が向かい合った状態において凹凸の関係で係合可能な係合部と、を有する、プロテクタ。
続きを表示(約 850 文字)
【請求項2】
前記プロテクタ部材に前記電線を結束する結束部材をさらに備え、
前記結束部材は、前記第1プロテクタ部材に前記電線を結束する第1結束部材と、
前記第2プロテクタ部材に前記電線を結束する第2結束部材と、を備える、
請求項1に記載のプロテクタ。
【請求項3】
前記第1プロテクタ部材は、前記第1結束部材が挿通される第1貫通孔を有し、
前記第2プロテクタ部材は、前記第2結束部材が挿通される第2貫通孔を有する、
請求項2に記載のプロテクタ。
【請求項4】
前記第1結束部材及び前記第2結束部材の少なくとも一方は、車体に固定する固定部を有する、
請求項2に記載のプロテクタ。
【請求項5】
前記第1プロテクタ部材及び前記第2プロテクタ部材の各々は、
前記電線の長さ方向に沿って配置したときの両端部に前記係合部を有し、
前記両端部の前記係合部は、互いに凹凸の関係で係合可能な形状を有する、
請求項1に記載のプロテクタ。
【請求項6】
前記係合部は、前記第1プロテクタ部材の前記端面と前記第2プロテクタ部材の前記端面とが互いに離間するように移動することを規制する係止構造を有する、
請求項1に記載のプロテクタ。
【請求項7】
前記係合部を係合させたとき、前記第1プロテクタ部材と前記第2プロテクタ部材とは、前記電線の長さ方向の一部を支持する面一の支持面を形成する、
請求項1に記載のプロテクタ。
【請求項8】
前記第1プロテクタ部材及び前記第2プロテクタ部材の少なくとも一方のプロテクタ部材は、前記電線の曲線状部分を支持する屈曲部を有する、
請求項1に記載のプロテクタ。
【請求項9】
請求項1から請求項8のいずれか1項に記載のプロテクタと、前記電線と、を備える、
ワイヤハーネス。
発明の詳細な説明
【技術分野】
【0001】
本発明は、プロテクタ、及びワイヤハーネスに関する。
続きを表示(約 1,500 文字)
【背景技術】
【0002】
特許文献1に記載されるように、自動車等の車両に搭載されるワイヤハーネスには、電線と、電線を保護するプロテクタとを備えたものが知られている。
【先行技術文献】
【特許文献】
【0003】
特開2023-049458号公報
【発明の概要】
【発明が解決しようとする課題】
【0004】
上記のようなプロテクタにおいて、例えば、複数のプロテクタ部材を電線の長さ方向に沿って配列することで、電線を保護する範囲をより広く確保することができる。このように複数のプロテクタ部材を備えるプロテクタにおいて、複数のプロテクタ部材の相対位置を容易に位置決めできるプロテクタが求められている。
【0005】
本開示の目的は、複数のプロテクタ部材の相対位置の位置決めを容易に行うことのできるプロテクタ、及びワイヤハーネスを提供することにある。
【課題を解決するための手段】
【0006】
本開示のプロテクタは、少なくとも1つの電線の長さ方向の一部を保護するプロテクタ部材を有し、車体に固定されるプロテクタであって、前記プロテクタ部材は、第1プロテクタ部材と第2プロテクタ部材とを備え、前記第1プロテクタ部材と前記第2プロテクタ部材との各々は、前記電線の長さ方向に沿って配置したとき互いに向かい合う端面と、前記端面が向かい合った状態において凹凸の関係で係合可能な係合部と、を有する。
【発明の効果】
【0007】
本開示のプロテクタ、及びワイヤハーネスは、複数のプロテクタ部材の相対位置の位置決めを容易に行うことのできるという効果を奏する。
【図面の簡単な説明】
【0008】
図1は、実施形態のワイヤハーネスを示す分解斜視図である。
図2は、プロテクタ部材を示す平面図である。
図3は、図2の3-3線に沿った断面図である。
図4は、ワイヤハーネスを示す平面図である。
図5は、図4の5-5線に沿った断面図である。
図6は、変更例のワイヤハーネスを示す分解斜視図である。
図7は、ワイヤハーネスを示す平面図である。
図8は、変更例のプロテクタ部材の要部を示す平面図である。
図9は、変更例のプロテクタ部材の要部を示す平面図である。
図10は、変更例のプロテクタ部材の要部を示す平面図である。
【発明を実施するための形態】
【0009】
[本開示の実施形態の説明]
最初に本開示の実施態様を列記して説明する。
[1]本開示のプロテクタは、少なくとも1つの電線の長さ方向の一部を保護するプロテクタ部材を有し、車体に固定されるプロテクタであって、前記プロテクタ部材は、第1プロテクタ部材と第2プロテクタ部材とを備え、前記第1プロテクタ部材と前記第2プロテクタ部材との各々は、前記電線の長さ方向に沿って配置したとき互いに向かい合う端面と、前記端面が向かい合った状態において凹凸の関係で係合可能な係合部と、を有する。
【0010】
この構成によれば、上記のように端面が向かい合った状態において係合部を係合させることができる。これにより、第1プロテクタ部材と第2プロテクタ部材とを電線の長さ方向に沿って配置したとき、第1プロテクタ部材と第2プロテクタ部材との相対位置の位置決めを容易に行うことができる。
(【0011】以降は省略されています)
この特許をJ-PlatPat(特許庁公式サイト)で参照する
関連特許
住友電装株式会社
端子台
1か月前
住友電装株式会社
コネクタ
2か月前
住友電装株式会社
コネクタ
2か月前
住友電装株式会社
コネクタ
1か月前
住友電装株式会社
係止装置
1日前
住友電装株式会社
コネクタ
16日前
住友電装株式会社
コネクタ
2か月前
住友電装株式会社
コネクタ
1か月前
住友電装株式会社
コネクタ
2か月前
住友電装株式会社
コネクタ
2か月前
住友電装株式会社
コネクタ
2か月前
住友電装株式会社
コネクタ
1か月前
住友電装株式会社
コネクタ
2か月前
住友電装株式会社
コネクタ
1か月前
住友電装株式会社
プロテクタ
1か月前
住友電装株式会社
シールド端子
1か月前
住友電装株式会社
シールドコネクタ
1か月前
住友電装株式会社
コネクタアセンブリ
2か月前
住友電装株式会社
ダミー栓およびコネクタ
2か月前
住友電装株式会社
ブラケット付きコネクタ
2か月前
住友電装株式会社
端子台、及び端子台の製造方法
1か月前
住友電装株式会社
電気接続箱および制御ユニット
1か月前
住友電装株式会社
外導体端子及びシールドコネクタ
1か月前
住友電装株式会社
コネクタ及びコネクタアセンブリ
29日前
住友電装株式会社
プロテクタ、及びワイヤハーネス
1日前
住友電装株式会社
プロテクタ、及びワイヤハーネス
2か月前
住友電装株式会社
コネクタ及びコネクタアセンブリ
2か月前
住友電装株式会社
絶縁構造体、及びワイヤハーネス
2か月前
トヨタ自動車株式会社
車両の制御装置
2か月前
住友電装株式会社
プロテクタとホルダとの一体化ユニット
1か月前
住友電装株式会社
プロテクタ及びプロテクタ付ワイヤハーネス
1か月前
株式会社オートネットワーク技術研究所
雌端子
1か月前
株式会社オートネットワーク技術研究所
電装品
29日前
株式会社オートネットワーク技術研究所
電装品
29日前
株式会社オートネットワーク技術研究所
車載装置
1か月前
株式会社オートネットワーク技術研究所
コネクタ
1か月前
続きを見る
他の特許を見る