TOP
|
特許
|
意匠
|
商標
特許ウォッチ
Twitter
他の特許を見る
10個以上の画像は省略されています。
公開番号
2025177688
公報種別
公開特許公報(A)
公開日
2025-12-05
出願番号
2024084735
出願日
2024-05-24
発明の名称
係止装置
出願人
住友電装株式会社
代理人
個人
,
個人
,
個人
,
個人
主分類
F16B
21/08 20060101AFI20251128BHJP(機械要素または単位;機械または装置の効果的機能を生じ維持するための一般的手段)
要約
【課題】板部を係止相手に簡易に係止できるようにすると共に、当該係止構造を簡易に形成できるようにする技術を提供することを目的とする。
【解決手段】係止装置10は、第1方向に沿って挿入経路24が形成された係止受部22を含む係止相手20と、前記挿入経路24に沿って挿入されて前記係止受部22に係止する板部60を含む係止部材50と、を備える。前記係止受部22の第1押え部26、第2押え部30及び第3押え部36は、前記第1方向に沿って互いに異なる領域に位置する。第2押え部30の第2ガイド面33と第3押え部36の第3押え面37とは、前記第2ガイド面33を越えた挿入途中の前記板部60を前記第1方向に対して傾斜姿勢となるように案内する位置関係を有する。前記傾斜姿勢となった前記板部60の長さ方向先端側に第1押え部26の第1ガイド面28が位置する。
【選択図】図9
特許請求の範囲
【請求項1】
第1方向に沿って挿入経路が形成された係止受部を含む係止相手と、
前記挿入経路に沿って挿入されて前記係止受部に係止する板部を含む係止部材と、
を備え、
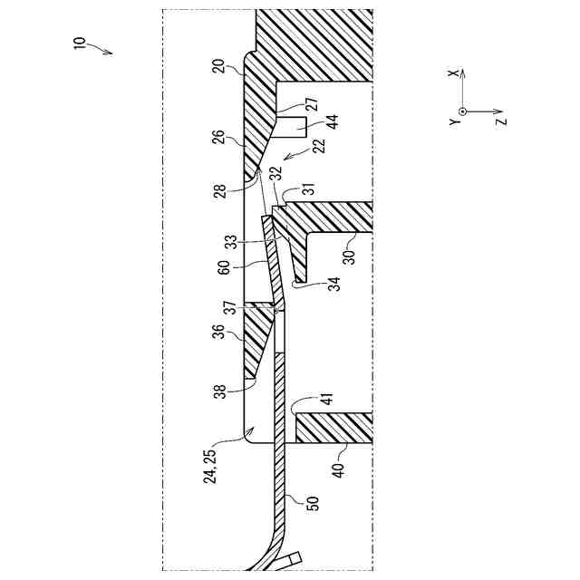
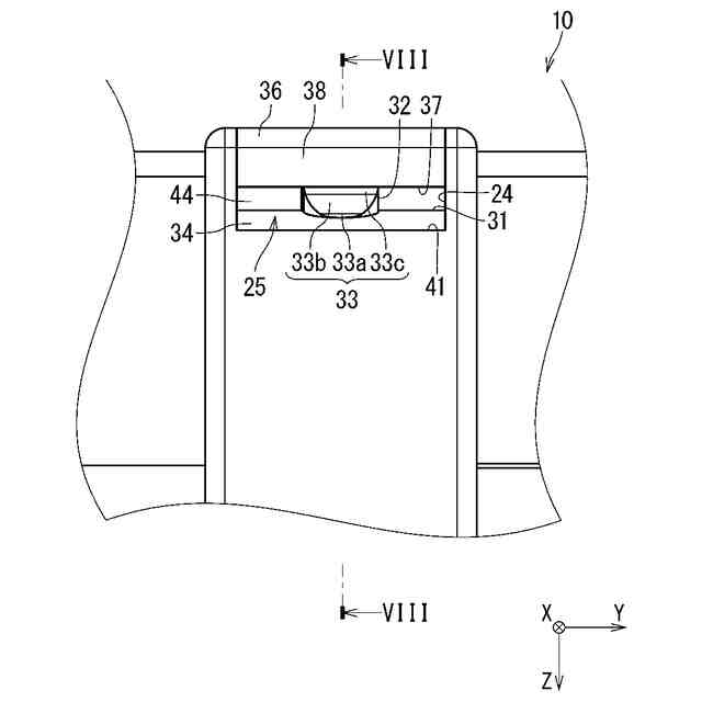
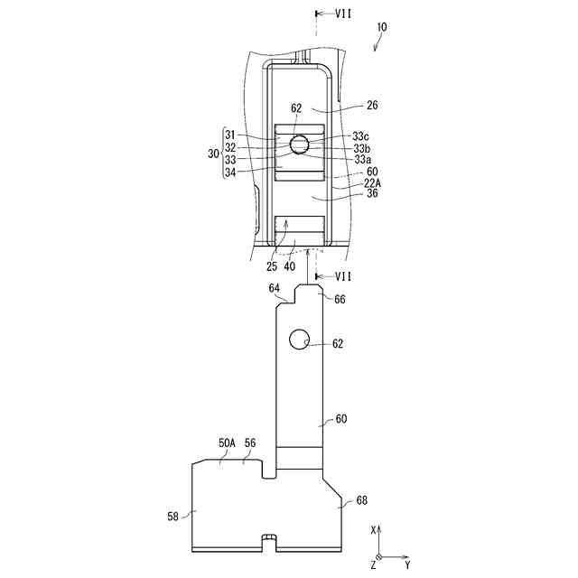
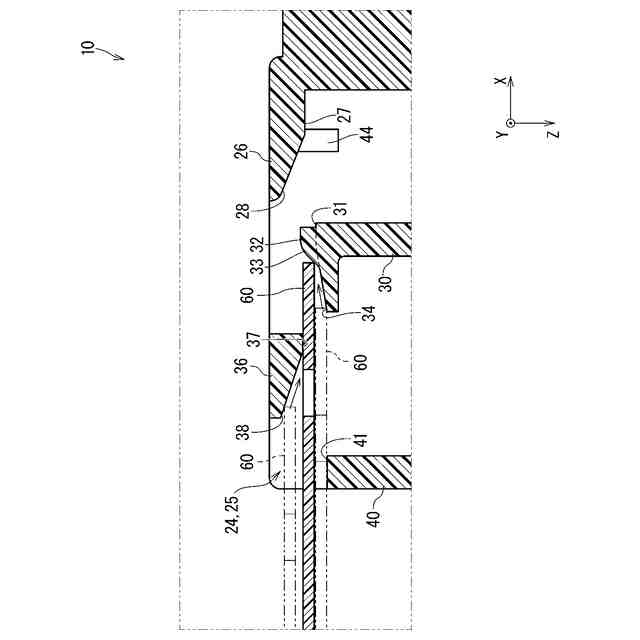
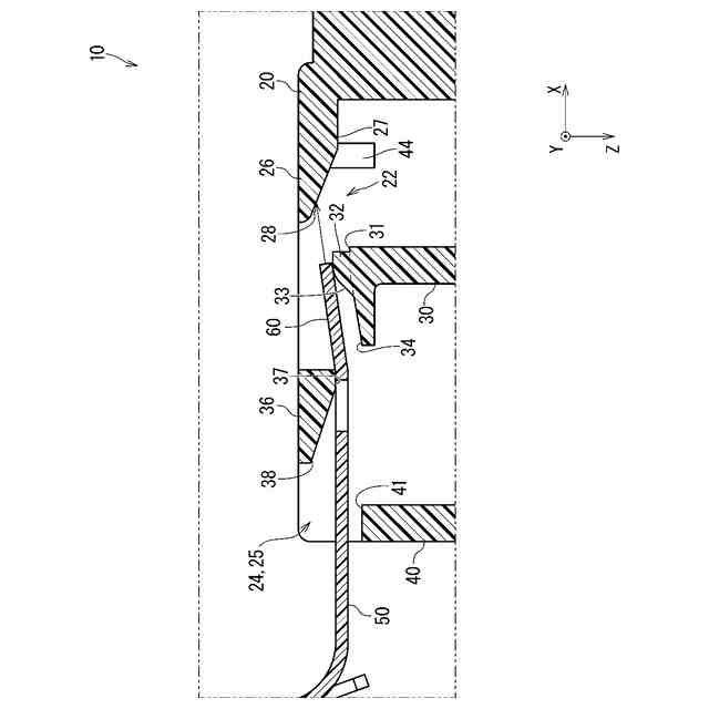
前記係止受部は、前記第1方向に沿って前記板部の先端側から順に配列された第1押え部、第2押え部及び第3押え部を有し、
前記第1押え部、前記第2押え部及び前記第3押え部は、前記第1方向に沿って互いに異なる領域に位置し、
前記第1押え部及び前記第3押え部が前記第1方向と交差する第2方向に沿って前記板部に対して一方側に位置し、
前記第2押え部が前記第2方向に沿って前記板部に対して他方側に位置し、
前記板部には、係止凹部が形成され、
前記第1押え部は、係止状態の前記板部を押える第1押え面と、前記第1押え面から前記挿入経路の挿入口側に延びて前記第1方向に対して傾斜している第1ガイド面とを有し、
前記第2押え部は、係止状態の前記板部を押える第2押え面と、前記第2押え面よりも前記第2方向に沿って前記第1押え部側に突出して前記係止凹部に係止する係止凸部と、前記係止凸部に形成されて前記第1方向に対して傾斜している第2ガイド面とを有し、
前記第3押え部は、係止状態の前記板部を押える第3押え面を有し、
前記第2ガイド面と前記第3押え面とは、前記第2ガイド面を越えた挿入途中の前記板部を前記第1方向に対して傾斜姿勢となるように案内する位置関係を有し、
前記傾斜姿勢となった前記板部の長さ方向先端側に前記第1ガイド面が位置する、係止装置。
続きを表示(約 710 文字)
【請求項2】
請求項1に記載の係止装置であって、
前記第2押え部は、前記第2押え面から前記第2ガイド面よりも前記挿入口側に延びて前記第1方向に対して傾斜している挿入口側ガイド面を有する、係止装置。
【請求項3】
請求項1又は請求項2に記載の係止装置であって、
前記板部は樹脂製であり、
前記板部の剛性は前記係止受部の剛性よりも低い、係止装置。
【請求項4】
請求項1又は請求項2に記載の係止装置であって、
前記係止受部は、前記第1方向に沿って前記第3押え部に対して前記第2押え部とは反対側に前記第3押え部と離れて配列される規制部を有し、
前記規制部は、前記第2方向に沿って前記板部に対して前記他方側に位置し、
前記規制部と前記第3押え部との間が前記挿入口とされ、
前記第3押え部は、前記第3押え面から前記挿入口側に延びて前記第1方向に対して傾斜する第3ガイド面を有する、係止装置。
【請求項5】
請求項4に記載の係止装置であって、
前記係止相手は、前記係止受部としての第1係止受部と第2係止受部とを含み、
前記第2方向における前記第1押え部、前記第2押え部、前記第3押え部及び前記規制部の位置関係が、前記第1係止受部と前記第2係止受部とにおいて互いに逆になっている、係止装置。
【請求項6】
請求項1又は請求項2に記載の係止装置であって、
前記係止部材は、バッテリを測温するサーミスタであり、
前記係止相手は、前記バッテリに装着されるプロテクタである、係止装置。
発明の詳細な説明
【技術分野】
【0001】
本開示は、係止装置に関する。
続きを表示(約 1,500 文字)
【背景技術】
【0002】
特許文献1は、蓄電素子の温度を測定するサーミスタを絶縁プロテクタに保持させる技術を開示している。
【先行技術文献】
【特許文献】
【0003】
特開2018-14297号公報
【発明の概要】
【発明が解決しようとする課題】
【0004】
サーミスタなどに設けられる板部がプロテクタなどの係止相手に簡易に係止できること、及び、当該係止構造を簡易に形成できることが望まれている。
【0005】
そこで、板部を係止相手に簡易に係止できるようにすると共に、当該係止構造を簡易に形成できるようにする技術を提供することを目的とする。
【課題を解決するための手段】
【0006】
本開示の係止装置は、第1方向に沿って挿入経路が形成された係止受部を含む係止相手と、前記挿入経路に沿って挿入されて前記係止受部に係止する板部を含む係止部材と、を備え、前記係止受部は、前記第1方向に沿って前記板部の先端側から順に配列された第1押え部、第2押え部及び第3押え部を有し、前記第1押え部、前記第2押え部及び前記第3押え部は、前記第1方向に沿って互いに異なる領域に位置し、前記第1押え部及び前記第3押え部が前記第1方向と交差する第2方向に沿って前記板部に対して一方側に位置し、前記第2押え部が前記第2方向に沿って前記板部に対して他方側に位置し、前記板部には、係止凹部が形成され、前記第1押え部は、係止状態の前記板部を押える第1押え面と、前記第1押え面から前記挿入経路の挿入口側に延びて前記第1方向に対して傾斜している第1ガイド面とを有し、前記第2押え部は、係止状態の前記板部を押える第2押え面と、前記第2押え面よりも前記第2方向に沿って前記第1押え部側に突出して前記係止凹部に係止する係止凸部と、前記係止凸部に形成されて前記第1方向に対して傾斜している第2ガイド面とを有し、前記第3押え部は、係止状態の前記板部を押える第3押え面を有し、前記第2ガイド面と前記第3押え面とは、前記第2ガイド面を越えた挿入途中の前記板部を前記第1方向に対して傾斜姿勢となるように案内する位置関係を有し、前記傾斜姿勢となった前記板部の長さ方向先端側に前記第1ガイド面が位置する、係止装置である。
【発明の効果】
【0007】
本開示によれば、板部を係止相手に簡易に係止できると共に、当該係止構造を簡易に形成できる。
【図面の簡単な説明】
【0008】
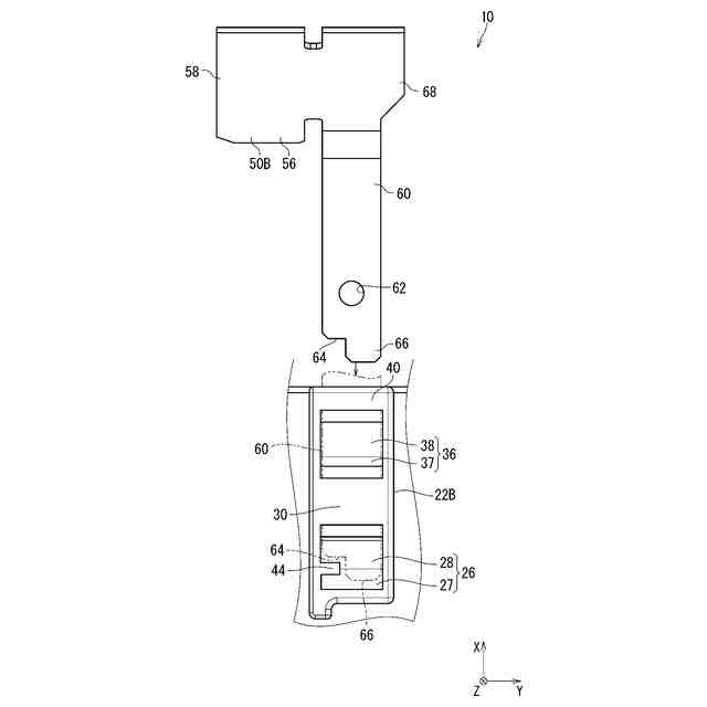
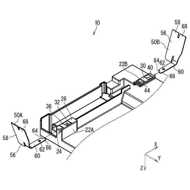
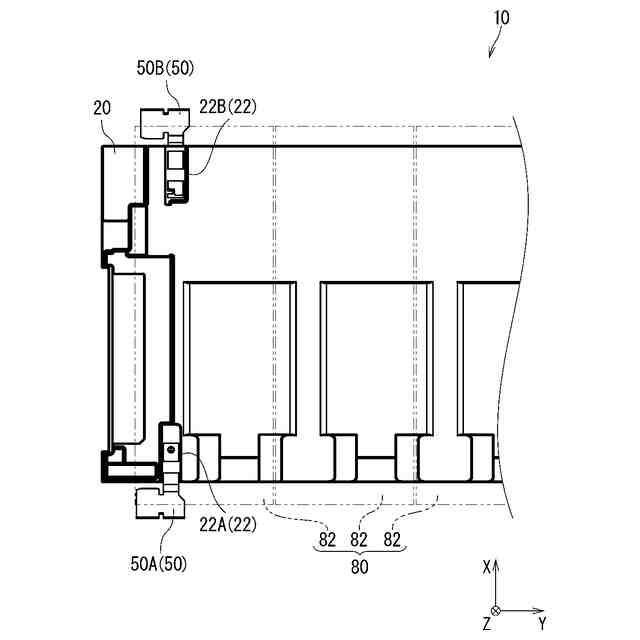
図1は実施形態1にかかる係止装置を示す平面図である。
図2は実施形態1にかかる係止装置を示す斜視図である。
図3は実施形態1にかかる係止装置を示す分解斜視図である。
図4は第1係止受部及び第1係止部材を示す分解平面図である。
図5は第1係止受部を示す正面図である。
図6は第2係止受部及び第2係止部材を示す分解平面図である。
図7は図4のVII-VII線に沿った断面図である。
図8は第1係止受部に第1係止部材が挿入される様子を示す断面図である。
図9は第1係止受部に第1係止部材が挿入される様子を示す断面図である。
図10は第1係止受部に第1係止部材が係止している様子を示す断面図である。
【発明を実施するための形態】
【0009】
[本開示の実施形態の説明]
最初に本開示の実施態様を列記して説明する。
【0010】
本開示の係止装置は、次の通りである。
(【0011】以降は省略されています)
この特許をJ-PlatPat(特許庁公式サイト)で参照する
関連特許
住友電装株式会社
係止装置
1日前
住友電装株式会社
プロテクタ、及びワイヤハーネス
1日前
株式会社オートネットワーク技術研究所
コネクタ
1日前
株式会社オートネットワーク技術研究所
コネクタ
1日前
株式会社オートネットワーク技術研究所
圧接端子
1日前
住友電装株式会社
ワイヤハーネス
8日前
株式会社オートネットワーク技術研究所
圧接端子金具及びコネクタ
1日前
株式会社オートネットワーク技術研究所
モータ及びモータの製造方法
2日前
株式会社オートネットワーク技術研究所
制御装置、巻線切替システム、制御方法、及び制御プログラム
2日前
株式会社オートネットワーク技術研究所
ワイヤハーネス
1日前
住友電気工業株式会社
中継装置、中継方法および中継プログラム
3日前
株式会社オートネットワーク技術研究所
車載システム、車載装置、データ復元プログラムおよびデータ分散プログラム
3日前
個人
留め具
1か月前
個人
鍋虫ねじ
3か月前
個人
回転伝達機構
4か月前
個人
紛体用仕切弁
3か月前
個人
差動歯車用歯形
5か月前
個人
給排気装置
2か月前
個人
ジョイント
2か月前
個人
ナット
1か月前
個人
地震の揺れ回避装置
4か月前
個人
ナット
2か月前
株式会社不二工機
電磁弁
5か月前
個人
吐出量監視装置
3か月前
個人
ゲート弁バルブ
16日前
カヤバ株式会社
ダンパ
5か月前
カヤバ株式会社
緩衝器
1か月前
柿沼金属精機株式会社
分岐管
3か月前
兼工業株式会社
バルブ
1か月前
カヤバ株式会社
ダンパ
5か月前
カヤバ株式会社
緩衝器
5か月前
カヤバ株式会社
緩衝器
5か月前
株式会社不二工機
電磁弁
3か月前
株式会社奥村組
制振機構
2か月前
株式会社ニフコ
クリップ
2か月前
アズビル株式会社
回転弁
2か月前
続きを見る
他の特許を見る