TOP
|
特許
|
意匠
|
商標
特許ウォッチ
Twitter
他の特許を見る
公開番号
2025179401
公報種別
公開特許公報(A)
公開日
2025-12-10
出願番号
2024086124
出願日
2024-05-28
発明の名称
積層セラミックコンデンサ
出願人
株式会社村田製作所
代理人
個人
,
個人
主分類
H01G
4/30 20060101AFI20251203BHJP(基本的電気素子)
要約
【課題】積層体の端面側無効部と垂直稜線無効部との境界部での割れや欠けの発生を防止した積層セラミックコンデンサを提供すること。
【解決手段】積層された複数の誘電体層20と複数の内部電極層30とを含む積層体10と、前記内部電極層30と導通するように配置された外部電極40と、を備えた積層セラミックコンデンサであって、積層体10の、端面側無効部LGと垂直稜線無効部VGとの境界部VLBにおける外表面と、垂直稜線無効部VGの外表面と、垂直稜線無効部VGと側面側無効部WGとの境界部VWBにおける外表面とは、積層方向Tからの平面視において外方に突出する連続した湾曲面VRを形成し、該湾曲面VR上に炭素と珪素を構成元素として含む保護膜SCを形成した積層セラミックコンデンサ1。
【選択図】図3
特許請求の範囲
【請求項1】
積層された複数の誘電体層と複数の内部電極層とを含む積層体と、前記内部電極層と導通するように配置された外部電極と、を備えた積層セラミックコンデンサであって、
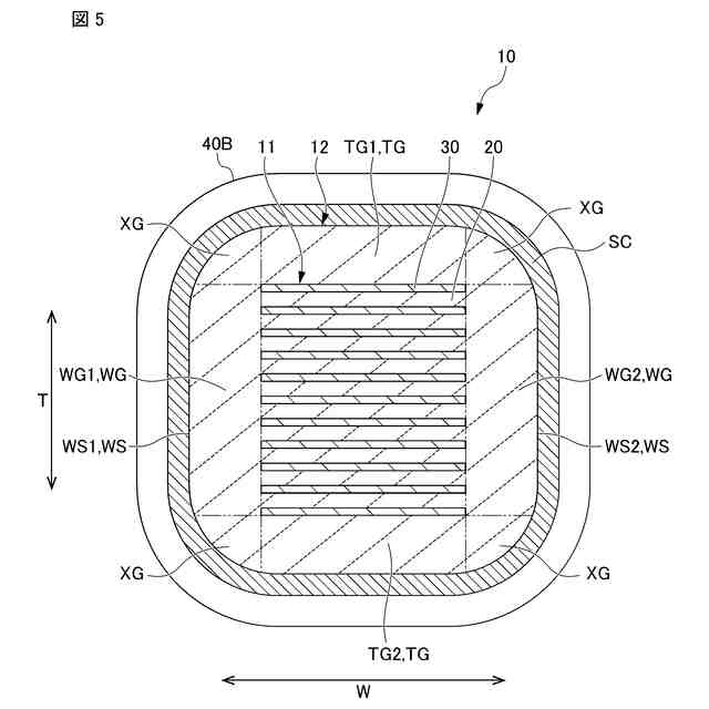
前記積層体は、積層方向に対し前記内部電極層が互いに重なり合う有効部と、該有効部を取り囲む無効部と、からなり、前記積層方向に相対する2つの主面と、前記内部電極層が前記外部電極へ延びる方向である長さ方向に相対する2つの端面と、前記積層方向と前記長さ方向の両方に交差する方向である幅方向に相対する2つの側面と、を備え、
前記無効部のうち、前記有効部を前記長さ方向から挟む相対する領域を端面側無効部とし、前記有効部を前記幅方向から挟む相対する領域を側面側無効部とし、前記長さ方向において前記側面側無効部に隣接するとともに、前記幅方向において前記端面側無効部に隣接する領域を垂直稜線無効部としたとき、
前記端面側無効部と前記垂直稜線無効部との境界部における外表面と、前記垂直稜線無効部の外表面と、前記垂直稜線無効部と前記側面側無効部との境界部における外表面とは、前記積層方向からの平面視において外方に突出する連続した湾曲面を形成し、
前記湾曲面上に炭素と珪素を構成元素として含む保護膜が形成された、積層セラミックコンデンサ。
続きを表示(約 1,300 文字)
【請求項2】
前記側面側無効部の前記幅方向の厚みは、20μm以下である、請求項1に記載の積層セラミックコンデンサ。
【請求項3】
前記保護膜は、前記湾曲面上から連続して前記側面側無効部の外表面上に形成された、請求項1に記載の積層セラミックコンデンサ。
【請求項4】
前記積層体の前記長さ方向と前記幅方向に平行な断面において、前記積層体中央の前記幅方向の長さをW1としたとき、前記端面側無効部と前記垂直稜線無効部との前記境界部から前記側面側に0.02W1の位置における前記積層体の前記長さ方向の長さは、前記端面側無効部と前記垂直稜線無効部との前記境界部から前記積層体の前記幅方向中央寄りに0.02W1の位置における前記積層体の前記長さ方向の長さより短い、請求項1に記載の積層セラミックコンデンサ。
【請求項5】
積層された複数の誘電体層と複数の内部電極層とを含む積層体と、前記内部電極層と導通するように配置された外部電極と、を備えた積層セラミックコンデンサであって、
前記積層体は、積層方向に対し前記内部電極層が互いに重なり合う有効部と、該有効部を取り囲む無効部と、からなり、前記積層方向に相対する2つの主面と、前記内部電極層が前記外部電極へ延びる方向である長さ方向に相対する2つの端面と、前記積層方向と前記長さ方向の両方に交差する方向である幅方向に相対する2つの側面と、を備え、
前記無効部のうち、前記有効部を前記積層方向から挟む相対する領域を主面側無効部とし、前記有効部を前記長さ方向から挟む相対する領域を端面側無効部とし、前記積層方向において前記端面側無効部に隣接するとともに、前記長さ方向において前記主面側無効部に隣接する領域を水平稜線無効部としたとき、
前記端面側無効部と前記水平稜線無効部との境界部における外表面と、前記水平稜線無効部の外表面と、前記水平稜線無効部と前記主面側無効部との境界部における外表面とは、前記幅方向からの側面視において外方に突出する連続した湾曲面を形成し、
前記湾曲面上に炭素と珪素を構成元素として含む保護膜が形成された、積層セラミックコンデンサ。
【請求項6】
前記主面側無効部の前記積層方向の厚みは、40μm以下である、請求項5に記載の積層セラミックコンデンサ。
【請求項7】
前記保護膜は、前記湾曲面上から連続して前記主面側無効部の外表面上に形成された、請求項5に記載の積層セラミックコンデンサ。
【請求項8】
前記積層体の前記長さ方向と前記積層方向に平行な断面において、前記積層体中央の前記積層方向の長さをT1としたとき、前記端面側無効部と前記水平稜線無効部との前記境界部から前記主面側に0.02T1の位置における前記積層体の前記長さ方向の長さは、前記端面側無効部と前記水平稜線無効部との前記境界部から前記積層体の前記積層方向中央寄りに0.02T1の位置における前記積層体の前記長さ方向の長さより短い、請求項5に記載の積層セラミックコンデンサ。
【請求項9】
前記保護膜の厚みは、10nm以上100nm以下である、請求項1乃至8のいずれかに記載の積層セラミックコンデンサ。
発明の詳細な説明
【技術分野】
【0001】
本発明は、積層セラミックコンデンサに関する。
続きを表示(約 2,300 文字)
【背景技術】
【0002】
通常、積層セラミックコンデンサは、積層された複数の誘電体層と複数の内部電極層とを含む積層体と、当該積層体の所定位置に内部電極層と導通するように配設された外部電極と、を備えており、積層体は、内部電極層が互いに重なり合い容量を形成する有効部と、かかる有効部を取り囲む無効部と、により構成される。そして、無効部を構成する領域としては、有効部を積層方向から挟み込む領域(以下、「主面側無効部」と称する)と、積層方向と交差する長さ方向から挟み込む領域(以下、「端面側無効部」と称する)と、積層方向と長さ方向に交差する幅方向から挟み込む領域(以下、「側面側無効部」と称する)と、端面側無効部と側面側無効部を繋ぐように積層体の四隅に配置される領域(以下、「垂直稜線無効部」と称する)と、主面側無効部と端面側無効部を繋ぐように積層体の四隅に配置される領域(以下、「水平稜線無効部」と称する)と、主面側無効部と側面側無効部を繋ぐように積層体の四隅に配置される領域(以下、「長尺稜線無効部」と称する)と、前記の垂直稜線無効部と水平稜線無効部と長尺稜線無効部とで囲まれた角部の領域(以下、「角部無効部」と称する)と、がある。
【0003】
ここで、積層体は、形成する際に稜線部や角部が尖った形状となり易く、このような場合、積層セラミックコンデンサの製造過程や製造過程における搬送時において、稜線部あるいは角部が接触することにより、稜線部等の割れや欠けといった問題につながり易い。そして、このような問題を解決するため、たとえば、焼成前あるいは焼成後の積層体をバレル研磨することによって、積層体の稜線部等に丸みをつけて製造する方法が知られている。
【先行技術文献】
【特許文献】
【0004】
特開平8-316088号公報
【発明の概要】
【発明が解決しようとする課題】
【0005】
一方、外部電極を配置する前の積層体の端面においては、端面側無効部と垂直稜線無効部との境界部や端面側無効部と水平稜線無効部との境界部が露出しており、このような境界部においては、構造や成分組成の相違から割れや欠けが生じ易い。特に、バレル研磨した後の積層体は、境界部の表面は外方に突出した湾曲面となり、応力がかかり易くなるため、さらに割れや欠けが生じ易くなる傾向にある。
【0006】
本発明は、積層体の端面側無効部と垂直稜線無効部との境界部あるいは端面側無効部と水平稜線無効部との境界部での割れや欠けの発生を防止した積層セラミックコンデンサを提供することを目的とする。
【課題を解決するための手段】
【0007】
本発明者は、積層体の端面側無効部と垂直稜線無効部との境界部を含む湾曲面上あるいは端面側無効部と水平稜線無効部との境界部を含む湾曲面上に炭素と珪素を構成元素として含む保護膜を形成することにより、境界部での割れや欠けの発生を防止することができることを見出し、本発明を完成するに至った。
【0008】
すなわち、本発明は、積層された複数の誘電体層と複数の内部電極層とを含む積層体と、前記内部電極層と導通するように配置された外部電極と、を備えた積層セラミックコンデンサであって、
前記積層体は、積層方向に対し前記内部電極層が互いに重なり合う有効部と、該有効部を取り囲む無効部と、からなり、前記積層方向に相対する2つの主面と、前記内部電極層が前記外部電極へ延びる方向である長さ方向に相対する2つの端面と、前記積層方向と前記長さ方向の両方に交差する方向である幅方向に相対する2つの側面と、を備え、
前記無効部のうち、前記有効部を前記長さ方向から挟む相対する領域を端面側無効部とし、前記有効部を前記幅方向から挟む相対する領域を側面側無効部とし、前記長さ方向において前記側面側無効部に隣接するとともに、前記幅方向において前記端面側無効部に隣接する領域を垂直稜線無効部としたとき、
前記端面側無効部と前記垂直稜線無効部との境界部における外表面と、前記垂直稜線無効部の外表面と、前記垂直稜線無効部と前記側面側無効部との境界部における外表面とは、前記積層方向からの平面視において外方に突出する連続した湾曲面を形成し、
前記湾曲面上に炭素と珪素を構成元素として含む保護膜が形成された、積層セラミックコンデンサである。
【0009】
また、本発明は、前記無効部のうち、前記有効部を前記積層方向から挟む相対する領域を主面側無効部とし、前記有効部を前記長さ方向から挟む相対する領域を端面側無効部とし、前記積層方向において前記端面側無効部に隣接するとともに、前記長さ方向において前記主面側無効部に隣接する領域を水平稜線無効部としたとき、
前記端面側無効部と前記水平稜線無効部との境界部における外表面と、前記水平稜線無効部の外表面と、前記水平稜線無効部と前記主面側無効部との境界部における外表面とは、前記幅方向からの側面視において外方に突出する連続した湾曲面を形成し、
前記湾曲面上に炭素と珪素を構成元素として含む保護膜が形成された、積層セラミックコンデンサである。
【発明の効果】
【0010】
本発明によれば、積層体の端面側無効部と垂直稜線無効部との境界部あるいは端面側無効部と水平稜線無効部との境界部における割れや欠けの発生を防止した積層セラミックコンデンサを提供することが可能となる。
【図面の簡単な説明】
(【0011】以降は省略されています)
この特許をJ-PlatPat(特許庁公式サイト)で参照する
関連特許
株式会社村田製作所
切断装置
12日前
株式会社村田製作所
インダクタ
今日
株式会社村田製作所
電池パック
1か月前
株式会社村田製作所
弾性波装置
13日前
株式会社村田製作所
超音波ノズル
12日前
株式会社村田製作所
フィルタ装置
1か月前
株式会社村田製作所
インダクタ部品
1か月前
株式会社村田製作所
指装着デバイス
26日前
株式会社村田製作所
インダクタ部品
1か月前
株式会社村田製作所
インダクタ部品
1か月前
株式会社村田製作所
インダクタ部品
21日前
株式会社村田製作所
インダクタ部品
21日前
株式会社村田製作所
インダクタ部品
1か月前
株式会社村田製作所
インダクタ部品
1か月前
株式会社村田製作所
積層体の切断装置
1か月前
株式会社村田製作所
積層体の切断装置
1か月前
株式会社村田製作所
健康管理システム
14日前
株式会社村田製作所
高周波電力増幅器
12日前
株式会社村田製作所
高周波電力増幅器
12日前
株式会社村田製作所
ドハティ増幅回路
1日前
株式会社村田製作所
正極及び二次電池
1か月前
株式会社村田製作所
固体電解コンデンサ
28日前
株式会社村田製作所
ニッケル粉末の製造方法
12日前
株式会社村田製作所
ニッケル粉末の製造方法
12日前
株式会社村田製作所
積層セラミックコンデンサ
1か月前
株式会社村田製作所
積層セラミックコンデンサ
1か月前
株式会社村田製作所
積層セラミックコンデンサ
今日
株式会社シマノ
電動リール
20日前
株式会社村田製作所
熱拡散デバイス及び電子機器
1か月前
株式会社村田製作所
コイル部品およびその製造方法
1か月前
株式会社村田製作所
フィルタ装置及びマルチプレクサ
20日前
株式会社村田製作所
健康管理システム及び健康管理方法
14日前
株式会社村田製作所
振動装置および触覚提示モジュール
13日前
株式会社村田製作所
検出装置、検出方法およびプログラム
20日前
株式会社村田製作所
半導体装置及び半導体装置の製造方法
20日前
株式会社村田製作所
半導体装置及び半導体装置の製造方法
20日前
続きを見る
他の特許を見る