TOP
|
特許
|
意匠
|
商標
特許ウォッチ
Twitter
他の特許を見る
公開番号
2025167189
公報種別
公開特許公報(A)
公開日
2025-11-07
出願番号
2024071573
出願日
2024-04-25
発明の名称
コイル部品およびその製造方法
出願人
株式会社村田製作所
代理人
個人
,
個人
,
個人
主分類
H01F
17/04 20060101AFI20251030BHJP(基本的電気素子)
要約
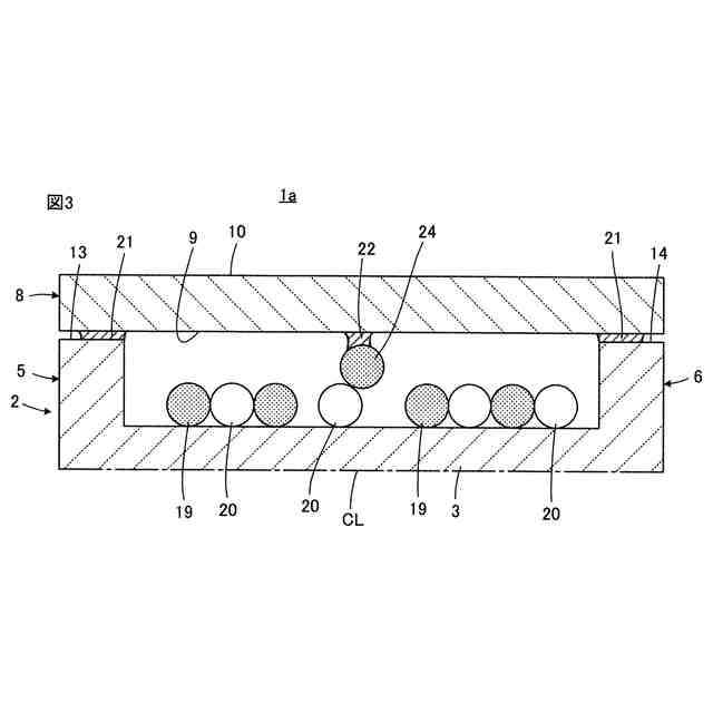
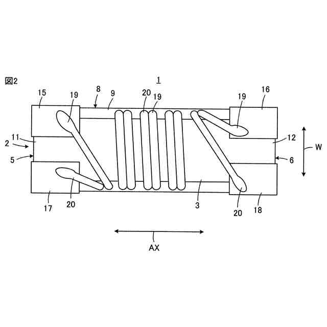
【課題】巻芯部のまわりに巻回されたワイヤの位置ずれを生じにくくし、ワイヤの位置ずれによる電気特性の不所望な変化を生じにくくしたコイル部品およびその製造方法を提供する。
【解決手段】巻芯部3ならびに巻芯部3の軸線方向AXにおける互いに逆の第1端部および第2端部にそれぞれ設けられた第1鍔部5および第2鍔部6を有する、ドラム状コア2と、互いに逆方向に向く第1主面9および第2主面10を有し、第1主面9を巻芯部3側に向けかつ第1鍔部5および第2鍔部6間に渡された状態に配置された、板状コア8と、巻芯部3のまわりで複数のターンを形成する状態で巻回された、ワイヤ19,20と、を備える、コイル部品1において、ワイヤ19,20の少なくとも一部を、樹脂を含む固定部材22によって、板状コア8の第1主面9に固定する。
【選択図】図1
特許請求の範囲
【請求項1】
巻芯部ならびに前記巻芯部の軸線方向における互いに逆の第1端部および第2端部にそれぞれ設けられた第1鍔部および第2鍔部を有する、ドラム状コアと、
互いに逆方向に向く第1主面および第2主面を有し、前記第1主面を前記巻芯部側に向けかつ前記第1鍔部および前記第2鍔部間に渡された状態に配置された、板状コアと、
前記巻芯部のまわりで複数のターンを形成する状態で巻回された、第1ワイヤと、
前記第1ワイヤの少なくとも一部を前記板状コアの前記第1主面に固定する樹脂を含む第1固定部材と、
を備える、コイル部品。
続きを表示(約 1,000 文字)
【請求項2】
前記第1固定部材は、前記第1ワイヤにおける最も巻き始め側のターンおよび最も巻き終わり側のターンのいずれかを前記板状コアの前記第1主面に固定している、請求項1に記載のコイル部品。
【請求項3】
前記板状コアは、前記ドラム状コアとは別体であり、前記第1鍔部および前記第2鍔部に接着剤を介して接合される、請求項1に記載のコイル部品。
【請求項4】
前記接着剤は、前記第1固定部材に含まれる樹脂と同じ成分の樹脂を含む、請求項3に記載のコイル部品。
【請求項5】
前記第1固定部材および前記接着剤は金属磁性粉を含む、請求項3に記載のコイル部品。
【請求項6】
前記第1ワイヤの一部のターンが前記第1固定部材によって前記板状コアの前記第1主面に固定され、前記第1固定部材によって固定される前記一部のターンは、他のターンに比べて、前記巻芯部との間により大きい隙間を形成しながら、他のターンより前記巻芯部の外周側に盛り上がって位置している、請求項3に記載のコイル部品。
【請求項7】
前記第1固定部材によって固定される前記一部のターンの外周側の位置は、前記第1鍔部および前記第2鍔部の前記板状コア側に向く面の位置と同じレベルにある、請求項6に記載のコイル部品。
【請求項8】
前記第1ワイヤは、前記巻芯部のまわりで所定のターンを下層側にしながら、当該下層側のターンに乗り上げる上層側のターンを有し、前記第1固定部材は、前記上層側のターンを前記板状コアの前記第1主面に固定している、請求項1に記載のコイル部品。
【請求項9】
前記巻芯部に巻回された第2ワイヤをさらに備え、前記第1ワイヤは、前記第2ワイヤの一部に乗り上げて前記第2ワイヤと交差する交差部を形成しており、前記第1固定部材は、前記交差部にある前記第1ワイヤのターンを前記板状コアの前記第1主面に固定している、請求項1に記載のコイル部品。
【請求項10】
前記巻芯部に巻回された第2ワイヤをさらに備え、前記巻芯部のまわりで、前記第1ワイヤおよび/または前記第2ワイヤが第1層から第n層(nは3以上の整数)を形成するように巻回され、前記第1固定部材は、前記第1ワイヤおよび/または前記第2ワイヤの前記第n層のターンを前記板状コアの前記第1主面に固定している、請求項1に記載のコイル部品。
(【請求項11】以降は省略されています)
発明の詳細な説明
【技術分野】
【0001】
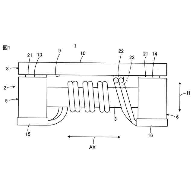
本開示は、ワイヤを巻回した巻芯部と巻芯部の各端部にそれぞれ設けられた第1鍔部および第2鍔部とを有するドラム状コアを備えるとともに、第1鍔部および第2鍔部間に渡された状態で配置された板状コアを備える、コイル部品およびその製造方法に関するもので、特に、巻芯部まわりでのワイヤの巻回状態を安定化するための改良に関するものである。
続きを表示(約 1,300 文字)
【背景技術】
【0002】
たとえば特開2022-34593号公報(特許文献1)には、巻芯部と巻芯部の各端部にそれぞれ設けられた第1鍔部および第2鍔部とを有するドラム状コアを備え、ドラム状コアの上記巻芯部にワイヤが巻回されている、コイル部品が記載されている。
【先行技術文献】
【特許文献】
【0003】
特開2022-34593号公報
【発明の概要】
【発明が解決しようとする課題】
【0004】
コイル部品がたとえば搬送されまたは実装されるとき、コイル部品には何らかの外力が及ぼされる。特許文献1に記載されるような構造を有するコイル部品の場合、外力は、時として巻芯部のまわりに巻回されたワイヤの位置ずれを生じさせることがある。ワイヤの位置ずれは、コイル部品の電気特性の不所望な変化をもたらすので、好ましくない。
【0005】
そこで、本開示の目的は、コイル部品において、巻芯部まわりでのワイヤの巻回状態の安定化を図ろうとすることである。
【課題を解決するための手段】
【0006】
本開示は、巻芯部ならびに巻芯部の軸線方向における互いに逆の第1端部および第2端部にそれぞれ設けられた第1鍔部および第2鍔部を有する、ドラム状コアと、巻芯部のまわりで複数のターンを形成する状態で巻回された、ワイヤと、を備える、コイル部品にまず向けられる。
【0007】
上述した技術的課題を解決するため、本開示に係るコイル部品は、互いに逆方向に向く第1主面および第2主面を有し、第1主面を巻芯部側に向けかつ第1鍔部および第2鍔部間に渡された状態に配置された、板状コアをさらに備える。そして、ワイヤの少なくとも一部が、樹脂を含む固定部材によって、板状コアの第1主面に固定されることを特徴としている。
【0008】
本開示は、また、巻芯部ならびに巻芯部の軸線方向における互いに逆の第1端部および第2端部にそれぞれ設けられた第1鍔部および第2鍔部を有する、ドラム状コアと、互いに逆方向に向く第1主面および第2主面を有し、第1主面を巻芯部側に向けかつ第1鍔部および第2鍔部間に渡された状態に配置された、板状コアと、巻芯部のまわりで複数のターンを形成する状態で巻回された、ワイヤと、を備える、コイル部品の製造方法にも向けられる。
【0009】
上述した技術的課題を解決するため、本開示に係るコイル部品の製造方法は、巻芯部にワイヤを巻回する、巻回工程と、ワイヤに樹脂を付与する、樹脂付与工程と、当該樹脂を介して、ワイヤの少なくとも一部を板状コアの第1主面に固定する、固定工程と、を備えることを特徴としている。
【発明の効果】
【0010】
本開示によれば、巻芯部に巻回されたワイヤが板状コアに固定されるので、巻芯部まわりでのワイヤの巻回状態の安定化が図られる。したがって、コイル部品の搬送時や実装時において及ぼされる外力によっても、ワイヤの位置ずれが生じにくくなり、コイル部品の電気特性の不所望な変化を招きにくくすることができる。
【図面の簡単な説明】
(【0011】以降は省略されています)
この特許をJ-PlatPat(特許庁公式サイト)で参照する
関連特許
株式会社村田製作所
移相回路
1か月前
株式会社村田製作所
切断装置
1日前
株式会社村田製作所
二次電池
1か月前
株式会社村田製作所
弾性波装置
2日前
株式会社村田製作所
電池パック
22日前
株式会社村田製作所
コイル部品
1か月前
株式会社村田製作所
ネブライザ
1か月前
株式会社村田製作所
電子聴診器
1か月前
株式会社村田製作所
電力システム
1か月前
株式会社村田製作所
外観検査装置
1か月前
株式会社村田製作所
電力増幅回路
1か月前
株式会社村田製作所
フィルタ装置
24日前
株式会社村田製作所
超音波ノズル
1日前
株式会社村田製作所
指装着デバイス
15日前
株式会社村田製作所
インダクタ部品
1か月前
株式会社村田製作所
インダクタ部品
22日前
株式会社村田製作所
インダクタ部品
22日前
株式会社村田製作所
インダクタ部品
22日前
株式会社村田製作所
インダクタ部品
22日前
株式会社村田製作所
インダクタ部品
22日前
株式会社村田製作所
インダクタ部品
10日前
株式会社村田製作所
インダクタ部品
10日前
株式会社村田製作所
積層体の切断装置
24日前
株式会社村田製作所
伸縮性コイル部品
1か月前
株式会社村田製作所
積層体の切断装置
24日前
株式会社村田製作所
健康管理システム
3日前
株式会社村田製作所
高周波モジュール
1か月前
株式会社村田製作所
高周波電力増幅器
1日前
株式会社村田製作所
正極及び二次電池
22日前
株式会社村田製作所
高周波電力増幅器
1日前
株式会社村田製作所
固体電解コンデンサ
17日前
株式会社村田製作所
積層セラミック電子部品
1か月前
株式会社村田製作所
ニッケル粉末の製造方法
1日前
株式会社村田製作所
ニッケル粉末の製造方法
1日前
株式会社村田製作所
積層セラミックコンデンサ
22日前
株式会社村田製作所
積層セラミックコンデンサ
22日前
続きを見る
他の特許を見る