TOP
|
特許
|
意匠
|
商標
特許ウォッチ
Twitter
他の特許を見る
10個以上の画像は省略されています。
公開番号
2025170995
公報種別
公開特許公報(A)
公開日
2025-11-20
出願番号
2024075923
出願日
2024-05-08
発明の名称
検出装置、検出方法およびプログラム
出願人
株式会社村田製作所
代理人
弁理士法人深見特許事務所
主分類
G01N
27/414 20060101AFI20251113BHJP(測定;試験)
要約
【課題】本開示は、精度の高い検出情報を得ることができる検出装置、検出方法およびプログラムを提供する。
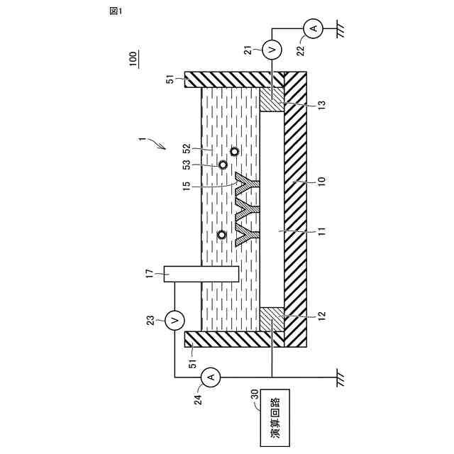
【解決手段】本開示の一例に係る検出装置100は、電界効果トランジスタ型の測定センサ1と、演算回路30と、を備える。測定センサ1は、絶縁基板10上に設けられた半導体層11と、半導体層11と電気的に接続されているソース電極12およびドレイン電極13と、ソース電極12、ドレイン電極13、および半導体層11と接する領域に、試料を含む電解液を保持するためのプール51と、電解液を介して半導体層11に電界を印加するゲート電極17と、を含む。演算回路30は、測定センサ1から出力される測定情報に含まれるソース電極12とドレイン電極13との間の電気特性の第1情報と、ゲート電極17とソース電極12との間の電気特性の第2情報とに基づいて、試料に含まれるターゲット分子53の検出情報を演算する。
【選択図】図1
特許請求の範囲
【請求項1】
電界効果トランジスタ型の測定センサと、前記測定センサから出力される測定情報を演算する演算回路と、を備える、検出装置であって、
前記測定センサは、
絶縁基板上に設けられた半導体層と、
前記半導体層と電気的に接続されているソース電極およびドレイン電極と、
前記ソース電極、前記ドレイン電極、および前記半導体層と接する領域に、試料を含む電解液を保持するための保持容器と、
前記電解液を介して前記半導体層に電界を印加するゲート電極と、を含み、
前記演算回路は、
前記測定センサから出力される測定情報に含まれる前記ソース電極と前記ドレイン電極との間の電気特性の第1情報と、前記ゲート電極と前記ソース電極との間の電気特性の第2情報とに基づいて、前記試料に含まれるターゲット分子の検出情報を演算する、検出装置。
続きを表示(約 1,500 文字)
【請求項2】
前記半導体層は、グラフェンまたはカーボンナノチューブを含む、請求項1に記載の検出装置。
【請求項3】
前記測定センサは、
前記半導体層に配置され、前記試料に含まれるターゲット分子と選択的に結合する認識部位を有するプローブ分子を有する検出用センサと、
前記プローブ分子を有していない参照用センサと、を含み、
前記演算回路は、前記検出用センサから出力される測定情報と前記参照用センサから出力される測定情報とに基づいて前記検出情報を演算する、請求項1に記載の検出装置。
【請求項4】
前記絶縁基板上に、前記ゲート電極、前記ソース電極、前記ドレイン電極、および前記半導体層が形成される、請求項1に記載の検出装置。
【請求項5】
前記検出情報は、前記試料中の前記ターゲット分子の有無、および前記ターゲット分子の濃度のうち少なくとも1つの情報を含む、請求項1~請求項4のいずれか1項に記載の検出装置。
【請求項6】
前記第1情報は、前記ソース電極と前記ドレイン電極との間の特定の電流値または電圧値の情報、および前記ゲート電極と前記ソース電極との間の第1電圧を変化させたときの前記ソース電極と前記ドレイン電極との間の第1電流値の情報のうち少なくとも1つの情報を含み、
前記第2情報は、前記ゲート電極と前記ソース電極との間の特定の電流値または電圧値の情報、および前記第1電圧を変化させたときの前記ゲート電極と前記ソース電極との間の第2電流値の情報のうち少なくとも1つの情報を含む、請求項1~請求項4のいずれか1項に記載の検出装置。
【請求項7】
前記演算回路は、前記測定センサから出力される前記第1情報および前記第2情報を説明変数、前記検出情報を目的変数とする演算モデルを有し、
前記演算モデルを用いて前記検出情報を求める、請求項1~請求項4のいずれか1項に記載の検出装置。
【請求項8】
前記演算モデルは、記測定センサから出力される前記第1情報および前記第2情報と、前記検出情報とをセットにした教師データに基づく機械学習によりあらかじめ生成される、請求項7に記載の検出装置。
【請求項9】
電界効果トランジスタ型の測定センサと、前記測定センサから出力される測定情報を演算する演算回路と、を備える、検出装置での検出方法であって、
前記測定センサは、絶縁基板上に設けられた半導体層と、前記半導体層と電気的に接続されているソース電極およびドレイン電極と、前記ソース電極、前記ドレイン電極、および前記半導体層と接する領域に、試料を含む電解液を保持するための保持容器と、前記電解液を介して前記半導体層に電界を印加するゲート電極と、を含み、
前記測定センサから出力される測定情報に含まれる前記ソース電極と前記ドレイン電極との間の電気特性の第1情報と、前記ゲート電極と前記ソース電極との間の電気特性の第2情報とを取得するステップと、
前記第1情報および前記第2情報を説明変数、前記試料に含まれるターゲット分子の検出情報を目的変数とする演算モデルを用いて、前記検出情報を演算するステップと、を含む、検出方法。
【請求項10】
前記演算モデルは、記測定センサから出力される前記第1情報および前記第2情報と、前記検出情報とをセットにした教師データに基づく機械学習によりあらかじめ生成される、請求項9に記載の検出方法。
(【請求項11】以降は省略されています)
発明の詳細な説明
【技術分野】
【0001】
本開示は、電界効果トランジスタ型の測定センサを備える検出装置、検出方法およびプログラムに関する。
続きを表示(約 1,600 文字)
【背景技術】
【0002】
近年、被検出物質であるターゲット分子と選択的に結合する認識部位を有するプローブ分子を用いたバイオセンサとして、電界効果トランジスタ(FET:Field Effect Transistor)型のバイオセンサが提案されている。
【0003】
特許第6782218号公報(特許文献1)に記載されているFET型のバイオセンサでは、α2,6型糖鎖またはα2,3型糖鎖をプローブ分子として用いることで、インフルエンザウイルスを検出できることが記載されている。
【先行技術文献】
【特許文献】
【0004】
特許第6782218号公報
【発明の概要】
【発明が解決しようとする課題】
【0005】
しかし、特許第6782218号公報(特許文献1)に記載されているFET型のバイオセンサでは、ターゲット分子を含む体液などにおいて個々人のばらつき、電解質濃度のばらつき、タンパク質および酵素などのターゲット分子以外の分子濃度のばらつき、温度のばらつき、など様々な要因により精度の高い検出情報を得ることが困難であった。
【0006】
そこで、本開示の目的は、精度の高い検出情報を得ることができる検出装置、検出方法およびプログラムを提供する。
【課題を解決するための手段】
【0007】
本開示の一形態に係る検出装置は、電界効果トランジスタ型の測定センサと、測定センサから出力される測定情報を演算する演算回路と、を備える。測定センサは、絶縁基板上に設けられた半導体層と、半導体層と電気的に接続されているソース電極およびドレイン電極と、ソース電極、ドレイン電極、および半導体層と接する領域に、試料を含む電解液を保持するための保持容器と、電解液を介して半導体層に電界を印加するゲート電極と、を含む。演算回路は、測定センサから出力される測定情報に含まれるソース電極とドレイン電極との間の電気特性の第1情報と、ゲート電極とソース電極との間の電気特性の第2情報とに基づいて、試料に含まれるターゲット分子の検出情報を演算する。
【発明の効果】
【0008】
本開示によれば、演算回路が、測定センサから出力される測定情報に含まれるソース電極とドレイン電極との間の電気特性の第1情報と、ゲート電極とソース電極との間の電気特性の第2情報とに基づいて、試料に含まれるターゲット分子の検出情報を演算するので、精度の高い検出情報を得ることができる。
【図面の簡単な説明】
【0009】
実施の形態1に係る検出装置の構成を説明するための概略図である。
実施の形態1に係る測定センサから出力される測定情報を説明するためのグラフである。
実施の形態1に係る演算回路の構成を説明するための概略図である。
実施の形態1に係る演算回路で用いる演算モデルを説明するための概略図である。
実施の形態1に係る演算モデルの機械学習による生成を説明するための概略図である。
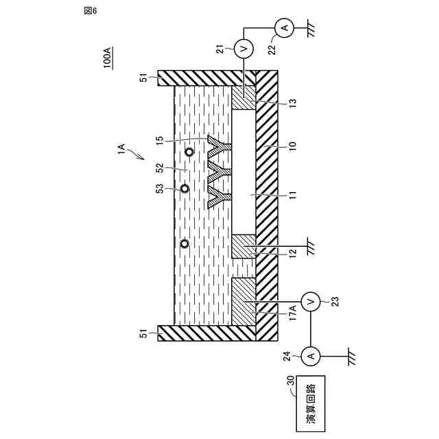
実施の形態1の変形例に係る検出装置の構成を説明するための概略図である。
実施の形態2に係る検出装置の構成を説明するための概略図である。
実施の形態2に係る測定センサから出力される測定情報を説明するためのグラフである。
実施の形態2に係る演算回路で演算された検出情報を説明するためのグラフである。
実施の形態2の変形例に係る検出装置の構成を説明するための概略図である。
【発明を実施するための形態】
【0010】
以下に、本開示の実施の形態に係る検出装置について図面を参照して詳しく説明する。なお、図中同一符号は同一または相当部分を示す。
(【0011】以降は省略されています)
この特許をJ-PlatPat(特許庁公式サイト)で参照する
関連特許
株式会社村田製作所
電池パック
14日前
株式会社村田製作所
インダクタ部品
14日前
株式会社村田製作所
インダクタ部品
14日前
株式会社村田製作所
インダクタ部品
2日前
株式会社村田製作所
インダクタ部品
2日前
株式会社村田製作所
インダクタ部品
14日前
株式会社村田製作所
インダクタ部品
14日前
株式会社村田製作所
指装着デバイス
7日前
株式会社村田製作所
インダクタ部品
14日前
株式会社村田製作所
正極及び二次電池
14日前
株式会社村田製作所
固体電解コンデンサ
9日前
株式会社村田製作所
積層セラミックコンデンサ
14日前
株式会社村田製作所
積層セラミックコンデンサ
14日前
株式会社シマノ
電動リール
1日前
株式会社村田製作所
コイル部品およびその製造方法
14日前
株式会社村田製作所
フィルタ装置及びマルチプレクサ
1日前
株式会社村田製作所
検出装置、検出方法およびプログラム
1日前
株式会社村田製作所
半導体装置及び半導体装置の製造方法
1日前
株式会社村田製作所
半導体装置及び半導体装置の製造方法
1日前
株式会社村田製作所
インダクタ部品およびバックコンバータ
14日前
株式会社村田製作所
方向性結合器、高周波モジュール及び通信装置
9日前
株式会社村田製作所
光変調器
16日前
株式会社村田製作所
光変調器
16日前
株式会社村田製作所
光変調器
16日前
株式会社村田製作所
積層コイル部品
3日前
株式会社村田製作所
ゲルアクチュエータの制御方法およびゲルアクチュエータの制御装置
2日前
株式会社村田製作所
押圧位置推定システム、押圧位置推定方法、及び押圧位置推定プログラム
14日前
日本精機株式会社
検出装置
16日前
個人
採尿及び採便具
22日前
個人
計量機能付き容器
11日前
個人
アクセサリー型テスター
1か月前
個人
高精度同時多点測定装置
1か月前
株式会社ミツトヨ
測定器
28日前
甲神電機株式会社
電流検出装置
16日前
株式会社カクマル
境界杭
1日前
アズビル株式会社
電磁流量計
1か月前
続きを見る
他の特許を見る