TOP
|
特許
|
意匠
|
商標
特許ウォッチ
Twitter
他の特許を見る
10個以上の画像は省略されています。
公開番号
2025170403
公報種別
公開特許公報(A)
公開日
2025-11-18
出願番号
2025145364,2022149094
出願日
2025-09-02,2022-09-20
発明の名称
積層コイル部品
出願人
株式会社村田製作所
代理人
弁理士法人WisePlus
主分類
H01F
17/04 20060101AFI20251111BHJP(基本的電気素子)
要約
【課題】積層体にクラック等の欠陥が発生しにくく、インピーダンスの取得効率が高い積層コイル部品を提供する。
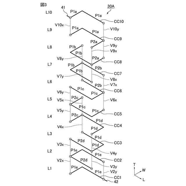
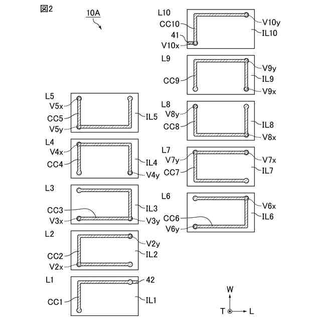
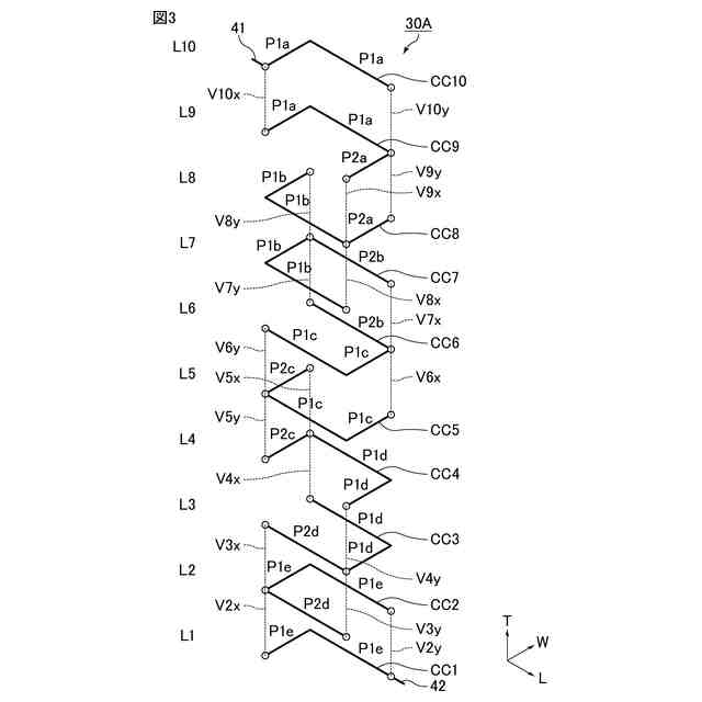
【解決手段】積層コイル部品は、複数の絶縁層が積層方向Tに積層され、内部にコイル30Aを内蔵する積層体と、積層体の外表面に設けられ、コイルに電気的に接続された外部電極と、を備える。コイルには、ビア導体V2x~V10yを介して電気的に並列に接続された2層以上のコイル導体CC1~CC10から構成される並列部が含まれる。並列部は、第1の並列部P1a~P1eと、第1の並列部に電気的に直列に接続された第2の並列部P2a~P2dと、を含む。第1の並列部(例えば並列部P1a)を構成するコイル導体(例えばコイル導体CC9)の一部と、第2の並列部(例えば並列部P2a)を構成するコイル導体(例えばコイル導体CC9)の一部とは、同一の絶縁層の同一面上に直接接続する。
【選択図】図3
特許請求の範囲
【請求項1】
複数の絶縁層が積層方向に積層され、内部にコイルを内蔵する積層体と、
前記積層体の外表面に設けられ、前記コイルに電気的に接続された外部電極と、を備え、
前記コイルは、前記絶縁層とともに前記積層方向に積層された複数のコイル導体が電気的に接続されることにより構成され、
前記コイルには、ビア導体を介して電気的に並列に接続された2層以上の前記コイル導体から構成される並列部が含まれ、
前記並列部は、第1の並列部と、前記第1の並列部に電気的に直列に接続された第2の並列部とを含み、
前記第1の並列部を構成する前記コイル導体の一部と、前記第2の並列部を構成する前記コイル導体の一部とは、同一の前記絶縁層である第1の絶縁層の同一面上に直接接続するように配置され、
前記第1の絶縁層の上にない前記第1の並列部を構成する前記コイル導体の一部と、前記第1の絶縁層の上にない前記第2の並列部を構成する前記コイル導体の一部とは、それぞれ別の前記絶縁層の上に配置されており、
前記第1の絶縁層を挟んで隣り合う前記コイル導体を前記積層方向から見たとき、前記第1の絶縁層を挟んで並列接続されている並列部以外においても、前記第1の絶縁層を挟んで隣り合う前記コイル導体の少なくとも一部が重なっている、積層コイル部品。
続きを表示(約 1,400 文字)
【請求項2】
前記コイルの1ターン分の経路に対する前記第1の並列部の経路の割合と、前記コイルの1ターン分の経路に対する前記第2の並列部の経路の割合とが異なる、請求項1に記載の積層コイル部品。
【請求項3】
前記並列部は、前記第2の並列部に電気的に直列に接続された第3の並列部をさらに含み、
前記第2の並列部を構成する前記コイル導体の一部と、前記第3の並列部を構成する前記コイル導体の一部とは、同一の前記絶縁層である第2の絶縁層の同一面上に直接接続するように配置されている、請求項1に記載の積層コイル部品。
【請求項4】
前記並列部は、前記第3の並列部に電気的に直列に接続された第4の並列部をさらに含み、
前記第3の並列部を構成する前記コイル導体の一部と、前記第4の並列部を構成する前記コイル導体の一部とは、同一の前記絶縁層である第3の絶縁層の同一面上に直接接続するように配置されている、請求項3に記載の積層コイル部品。
【請求項5】
前記コイルの1ターン分の経路に対する前記第1の並列部の経路の割合と、前記コイルの1ターン分の経路に対する前記第2の並列部の経路の割合とが異なり、
前記コイルの1ターン分の経路に対する前記第3の並列部の経路の割合と、前記コイルの1ターン分の経路に対する前記第4の並列部の経路の割合とが異なる、請求項4に記載の積層コイル部品。
【請求項6】
前記コイルの1ターン分の経路に対する前記第1の並列部の経路の割合と、前記コイルの1ターン分の経路に対する前記第3の並列部の経路の割合とが同じであり、
前記コイルの1ターン分の経路に対する前記第2の並列部の経路の割合と、前記コイルの1ターン分の経路に対する前記第4の並列部の経路の割合とが同じである、請求項5に記載の積層コイル部品。
【請求項7】
前記コイルの1ターン分の経路に対する前記第1の並列部の経路の割合と、前記コイルの1ターン分の経路に対する前記第3の並列部の経路の割合とが同じであり、
前記コイルの1ターン分の経路に対する前記第2の並列部の経路の割合と、前記コイルの1ターン分の経路に対する前記第4の並列部の経路の割合とが異なる、請求項5に記載の積層コイル部品。
【請求項8】
前記コイルの1ターン分の経路に対する前記第1の並列部の経路の割合と、前記コイルの1ターン分の経路に対する前記第3の並列部の経路の割合とが異なり、
前記コイルの1ターン分の経路に対する前記第2の並列部の経路の割合と、前記コイルの1ターン分の経路に対する前記第4の並列部の経路の割合とが異なる、請求項5に記載の積層コイル部品。
【請求項9】
前記コイルの1ターン分の経路に対する前記第1の並列部の経路の割合が0.4以上、0.8以下であり、前記コイルの1ターン分の経路に対する前記第2の並列部の経路の割合が0.1以上、0.4未満である、請求項2、5、6、7又は8に記載の積層コイル部品。
【請求項10】
少なくとも1つの前記ビア導体が前記コイル導体の屈曲部以外の辺に接続されている、請求項1~8のいずれか1項に記載の積層コイル部品。
(【請求項11】以降は省略されています)
発明の詳細な説明
【技術分野】
【0001】
本発明は、積層コイル部品に関する。
続きを表示(約 4,500 文字)
【背景技術】
【0002】
特許文献1には、複数の絶縁層が積層された積層体と、上記積層体の外表面に配置された第1及び第2の外部電極と、上記積層体に上記複数の絶縁体層の積層方向に沿って配置されると共に上記第1の外部電極と上記第2の外部電極との間に直列接続された複数の導体部とを備え、上記複数の導体部は、少なくとも二つの第1の導体パターンからなる第1の導体部と、一つの第2の導体パターンからなる第2の導体部とを有しており、上記少なくとも二つの第1の導体パターンは、同一形状であり且つ上記積層方向に連続するように配置され、並列接続されるように各一端が上記第1の外部電極に電気的に接続されると共に各他端が互いに電気的に接続され、上記第2の導体パターンは、一端が上記第2の外部電極に電気的に接続されると共に他端が上記少なくとも二つの第1の導体パターンを介して上記第1の外部電極に電気的に接続されていることを特徴とする積層型インダクタが開示されている。
【0003】
特許文献2には、複数の絶縁体層が積層されて構成されている積層体と、上記積層体に設けられ、かつ、複数のコイル導体が上記絶縁体層を貫通するビア導体により接続されることにより構成されているコイルであって、積層方向に進行しながら周回する螺旋状のコイルと、上記積層体の表面に設けられた外部電極と、を備えており、1つの上記絶縁体層を挟んで隣り合う2つの上記コイル導体の組み合わせの内の少なくとも一部の組み合わせは、積層方向から見て重なり合って周回する並走区間を有し、上記並走区間は、上記ビア導体又は上記外部電極により並列接続され、1つの上記絶縁体層を挟んで隣り合う2つの上記コイル導体の各組み合わせは、上記並走区間及び該コイル導体と上記ビア導体とが接続された接続部分以外において、積層方向から見て、重なっていないこと、を特徴とする電子部品が開示されている。
【先行技術文献】
【特許文献】
【0004】
特開2008-53368号公報
特開2014-157919号公報
【発明の概要】
【発明が解決しようとする課題】
【0005】
特許文献1には、少なくとも2個の導体パターンを並列に接続してなるパターン群を複数個直列に接続して構成された積層型インダクタが開示されている。例えば、2個のコイル導体が並列に接続されている特許文献1の図2等に示す構造では、2つの並列部同士が別の絶縁層に設けられている。この場合、積層方向に重なるビア導体の体積が大きくなる分、絶縁層にかかる応力が大きくなるため、積層体にクラック等の欠陥が発生するおそれがある。
【0006】
一方、特許文献2に記載の電子部品では、1つの絶縁体層を挟んで隣り合う2つのコイル導体の各組み合わせが、並走区間及びコイル導体とビア導体とが接続された接続部分以外において、積層方向から見て、重ならないようにコイル導体が形成される必要がある。この場合、1つの絶縁体層に形成できるコイル導体の長さが制限されるため、1つの絶縁体層あたりのインピーダンスの取得効率が制限される、という問題が生じる。
【0007】
本発明は、積層体にクラック等の欠陥が発生しにくく、インピーダンスの取得効率が高い積層コイル部品を提供することを目的とする。
【課題を解決するための手段】
【0008】
本発明の積層コイル部品は、複数の絶縁層が積層方向に積層され、内部にコイルを内蔵する積層体と、上記積層体の外表面に設けられ、上記コイルに電気的に接続された外部電極と、を備える。上記コイルは、上記絶縁層とともに上記積層方向に積層された複数のコイル導体が電気的に接続されることにより構成される。上記コイルには、ビア導体を介して電気的に並列に接続された2層以上の上記コイル導体から構成される並列部が含まれる。上記並列部は、第1の並列部と、上記第1の並列部に電気的に直列に接続された第2の並列部とを含む。上記第1の並列部を構成する上記コイル導体の一部と、上記第2の並列部を構成する上記コイル導体の一部とは、同一の上記絶縁層である第1の絶縁層の同一面上に直接接続するように配置される。上記第1の絶縁層を挟んで隣り合う上記コイル導体を上記積層方向から見たとき、上記第1の絶縁層を挟んで並列接続されている並列部以外においても、上記第1の絶縁層を挟んで隣り合う上記コイル導体の少なくとも一部が重なっている。
【発明の効果】
【0009】
本発明によれば、積層体にクラック等の欠陥が発生しにくく、インピーダンスの取得効率が高い積層コイル部品を提供することができる。
【図面の簡単な説明】
【0010】
図1は、本発明の第1実施形態に係る積層コイル部品の一例を模式的に示す斜視図である。
図2は、本発明の第1実施形態に係る積層コイル部品を構成する積層体の一例を模式的に示す平面図である。
図3は、図2に示す積層体に内蔵されているコイルの分解斜視図である。
図4-1は、図3に示すコイル30Aに含まれる並列部P1aの経路を模式的に示す平面図である。
図4-2は、図3に示すコイル30Aに含まれる並列部P2aの経路を模式的に示す平面図である。
図4-3は、図3に示すコイル30Aに含まれる並列部P1bの経路を模式的に示す平面図である。
図4-4は、図3に示すコイル30Aに含まれる並列部P2bの経路を模式的に示す平面図である。
図5は、本発明の第1実施形態に係る積層コイル部品を構成するコイルの一例を模式的に示す展開図である。
図6は、従来の積層コイル部品を構成するコイルの一例を模式的に示す展開図である。
図7は、本発明の第2実施形態に係る積層コイル部品を構成する積層体の一例を模式的に示す平面図である。
図8は、図7に示す積層体に内蔵されているコイルの分解斜視図である。
図9-1は、図8に示すコイル30Bに含まれる並列部P1aの経路を模式的に示す平面図である。
図9-2は、図8に示すコイル30Bに含まれる並列部P2aの経路を模式的に示す平面図である。
図9-3は、図8に示すコイル30Bに含まれる並列部P1bの経路を模式的に示す平面図である。
図9-4は、図8に示すコイル30Bに含まれる並列部P2bの経路を模式的に示す平面図である。
図10は、本発明の第3実施形態に係る積層コイル部品を構成する積層体の一例を模式的に示す平面図である。
図11は、図10に示す積層体に内蔵されているコイルの分解斜視図である。
図12-1は、図11に示すコイル30Cに含まれる並列部P1aの経路を模式的に示す平面図である。
図12-2は、図11に示すコイル30Cに含まれる並列部P2aの経路を模式的に示す平面図である。
図12-3は、図11に示すコイル30Cに含まれる並列部P1bの経路を模式的に示す平面図である。
図12-4は、図11に示すコイル30Cに含まれる並列部P2bの経路を模式的に示す平面図である。
図12-5は、図11に示すコイル30Cに含まれる並列部P1cの経路を模式的に示す平面図である。
図12-6は、図11に示すコイル30Cに含まれる並列部P2cの経路を模式的に示す平面図である。
図12-7は、図11に示すコイル30Cに含まれる並列部P1dの経路を模式的に示す平面図である。
図12-8は、図11に示すコイル30Cに含まれる並列部P2dの経路を模式的に示す平面図である。
図12-9は、図11に示すコイル30Cに含まれる並列部P1eの経路を模式的に示す平面図である。
図12-10は、図11に示すコイル30Cに含まれる並列部P2eの経路を模式的に示す平面図である。
図12-11は、図11に示すコイル30Cに含まれる並列部P1fの経路を模式的に示す平面図である。
図13は、本発明の第4実施形態に係る積層コイル部品を構成する積層体の一例を模式的に示す平面図である。
図14は、図13に示す積層体に内蔵されているコイルの分解斜視図である。
図15-1は、図14に示すコイル30Dに含まれる並列部P1aの経路を模式的に示す平面図である。
図15-2は、図14に示すコイル30Dに含まれる並列部P2aの経路を模式的に示す平面図である。
図15-3は、図14に示すコイル30Dに含まれる並列部P1bの経路を模式的に示す平面図である。
図15-4は、図14に示すコイル30Dに含まれる並列部P2bの経路を模式的に示す平面図である。
図15-5は、図14に示すコイル30Dに含まれる並列部P1cの経路を模式的に示す平面図である。
図15-6は、図14に示すコイル30Dに含まれる並列部P2cの経路を模式的に示す平面図である。
図15-7は、図14に示すコイル30Dに含まれる並列部P1dの経路を模式的に示す平面図である。
図15-8は、図14に示すコイル30Dに含まれる並列部P2dの経路を模式的に示す平面図である。
図15-9は、図14に示すコイル30Dに含まれる並列部P1eの経路を模式的に示す平面図である。
図15-10は、図14に示すコイル30Dに含まれる並列部P2eの経路を模式的に示す平面図である。
図15-11は、図14に示すコイル30Dに含まれる並列部P1fの経路を模式的に示す平面図である。
図16は、本発明の第5実施形態に係る積層コイル部品を構成する積層体の一例を模式的に示す平面図である。
図17は、図16に示す積層体に内蔵されているコイルの分解斜視図である。
図18-1は、図17に示すコイル30Eに含まれる並列部P1aの経路を模式的に示す平面図である。
図18-2は、図17に示すコイル30Eに含まれる並列部P2aの経路を模式的に示す平面図である。
図18-3は、図17に示すコイル30Eに含まれる並列部P1bの経路を模式的に示す平面図である。
図18-4は、図17に示すコイル30Eに含まれる並列部P2bの経路を模式的に示す平面図である。
図18-5は、図17に示すコイル30Eに含まれる並列部P1cの経路を模式的に示す平面図である。
図19は、本発明のその他の実施形態に係る積層コイル部品を構成するコイルの一例を模式的に示す展開図である。
図20は、従来の積層コイル部品を構成するコイルの別の一例を模式的に示す展開図である。
【発明を実施するための形態】
(【0011】以降は省略されています)
この特許をJ-PlatPat(特許庁公式サイト)で参照する
関連特許
株式会社村田製作所
二次電池
1か月前
株式会社村田製作所
電子聴診器
1か月前
株式会社村田製作所
ネブライザ
1か月前
株式会社村田製作所
コイル部品
28日前
株式会社村田製作所
電池パック
12日前
株式会社村田製作所
電力システム
29日前
株式会社村田製作所
外観検査装置
20日前
株式会社村田製作所
電力増幅回路
20日前
株式会社村田製作所
フィルタ装置
14日前
株式会社村田製作所
インダクタ部品
12日前
株式会社村田製作所
インダクタ部品
22日前
株式会社村田製作所
インダクタ部品
今日
株式会社村田製作所
インダクタ部品
12日前
株式会社村田製作所
インダクタ部品
今日
株式会社村田製作所
インダクタ部品
12日前
株式会社村田製作所
インダクタ部品
12日前
株式会社村田製作所
指装着デバイス
5日前
株式会社村田製作所
インダクタ部品
12日前
株式会社村田製作所
積層体の切断装置
14日前
株式会社村田製作所
伸縮性コイル部品
27日前
株式会社村田製作所
高周波モジュール
20日前
株式会社村田製作所
正極及び二次電池
12日前
株式会社村田製作所
積層体の切断装置
14日前
株式会社村田製作所
固体電解コンデンサ
7日前
株式会社村田製作所
積層セラミック電子部品
26日前
株式会社村田製作所
積層セラミックコンデンサ
12日前
株式会社村田製作所
積層セラミックコンデンサ
12日前
株式会社村田製作所
熱拡散デバイス及び電子機器
14日前
株式会社村田製作所
高周波モジュール及び通信装置
20日前
株式会社村田製作所
コイル部品およびその製造方法
12日前
株式会社村田製作所
二次電池用負極および二次電池
27日前
株式会社村田製作所
インダクタ部品およびバックコンバータ
12日前
株式会社村田製作所
聴診デバイスおよび聴診システムに関する。
1か月前
株式会社村田製作所
積層セラミックコンデンサおよびその製造方法
15日前
株式会社村田製作所
方向性結合器、高周波モジュール及び通信装置
7日前
株式会社村田製作所
筋振動検知センサ、電気刺激装置及び筋振動検知方法
15日前
続きを見る
他の特許を見る