TOP
|
特許
|
意匠
|
商標
特許ウォッチ
Twitter
他の特許を見る
10個以上の画像は省略されています。
公開番号
2025160697
公報種別
公開特許公報(A)
公開日
2025-10-23
出願番号
2024063419
出願日
2024-04-10
発明の名称
二次電池用負極および二次電池
出願人
株式会社村田製作所
代理人
弁理士法人酒井国際特許事務所
,
弁理士法人つばさ国際特許事務所
主分類
H01M
10/052 20100101AFI20251016BHJP(基本的電気素子)
要約
【課題】優れた電池特性を得ることが可能である二次電池を提供する。
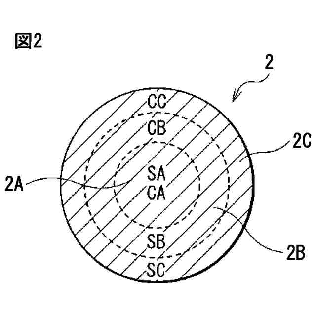
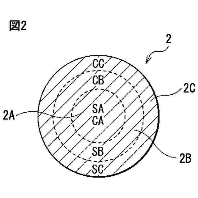
【解決手段】二次電池は、正極と、電極反応物質を吸蔵放出する負極活物質を含む負極と、電解液とを備える。負極活物質は、金属シリケートを含み、その金属シリケートは金属元素、ケイ素および酸素を構成元素として含む。金属元素は、アルカリ土類金属元素、アルカリ金属元素、遷移金属元素、および両性金属元素のうちの少なくとも一種(ただし、前記電極反応物質の構成元素を除く。)である。負極活物質は、中心部と、その中心部の外側に位置する表面部と、中心部と表面部との間に位置する中間部とを含む。負極活物質の断面において中心部の断面積と中間部の断面積と表面部の断面積との比を1:3:5としたとき、中心部における金属元素の存在量よりも中間部における金属元素の存在量が大きく、中間部における金属元素の存在量よりも表面部における前記金属元素の存在量が大きい。
【選択図】図2
特許請求の範囲
【請求項1】
正極と、
電極反応物質を吸蔵放出する負極活物質を含む負極と、
電解液と
を備え、
前記負極活物質は、金属シリケートを含み、
前記金属シリケートは、金属元素、ケイ素および酸素を構成元素として含み、
前記金属元素は、アルカリ土類金属元素、アルカリ金属元素、遷移金属元素、および両性金属元素のうちの少なくとも一種(ただし、前記電極反応物質の構成元素を除く。)であり、
前記負極活物質は、前記金属シリケートを含む中心部と、前記中心部の外側に位置すると共に前記金属シリケートを含む表面部と、前記中心部と前記表面部との間に位置すると共に前記金属シリケートを含む中間部とを含み、
前記負極活物質の断面において前記中心部の断面積と前記中間部の断面積と前記表面部の断面積との比を1:3:5としたとき、
前記中心部における前記金属元素の存在量よりも前記中間部における前記金属元素の存在量が大きく、
前記中間部における前記金属元素の存在量よりも前記表面部における前記金属元素の存在量が大きい、
二次電池。
続きを表示(約 1,400 文字)
【請求項2】
前記金属ケイ素酸化物は、式(1)により表される第1金属ケイ素酸化物、式(2)により表される第2金属ケイ素酸化物、式(3)により表される第3金属ケイ素酸化物、式(4)により表される第4金属ケイ素酸化物、および式(5)により表される第5金属ケイ素酸化物のうちの少なくとも1種を含む、
請求項1に記載の二次電池。
M1
a
SiO
b
・・・(1)
(M1は、アルカリ土類金属元素のうちの少なくとも1種である。aは、0<a<2を満たしている。bは、0<b<4を満たしている。)
M2
c
SiO
d
・・・(2)
(M2は、アルカリ金属元素のうちの少なくとも1種である。cは、0<c<4を満たしている。dは、0<d<4を満たしている。)
M3
e
SiO
g
・・・(3)
(M3は、遷移金属元素のうちの少なくとも1種である。eは、0<e<2を満たしている。fは、0<f<4を満たしている。gは0<g<4を満たしている。)
M4
j
M5
k
Si
l
O
m
・・・(4)
(M4は、アルカリ金属元素のうちの少なくとも1種である。M5は、アルカリ金属元素と、アルカリ土類金属元素、遷移金属元素、両性金属元素のうちの少なくとも1種である。)
M6
n
M7
o
Si
p
O
q
・・・(5)
(M6は、アルカリ土類金属元素のうちの少なくとも1種である。M7は、アルカリ土類金属元素、遷移金属元素、両性金属元素のうちの少なくとも1種である。
【請求項3】
前記金属ケイ素酸化物は、前記第1金属ケイ素酸化物を含む、
請求項2に記載の二次電池。
【請求項4】
前記アルカリ土類金属元素は、マグネシウムを含む、
請求項3に記載の二次電池。
【請求項5】
前記負極活物質において、前記金属元素の含有量と前記ケイ素の含有量と前記酸素の含有量との和に対する前記金属元素の含有量の割合は、1mol%以上20mol%以下である、
請求項1に記載の二次電池。
【請求項6】
前記負極活物質において、前記ケイ素の含有量に対する前記酸素の含有量の比は、0.80以上1.30以下である、
請求項1に記載の二次電池。
【請求項7】
前記負極活物質において、Si(220)の結晶面の結晶子サイズは、30nm以下である、
請求項1に記載の二次電池。
【請求項8】
前記負極は、複数の粒子状の前記負極活物質を含み、
複数の粒子状の前記負極活物質のメジアン径は、0.1μm以上50μm以下である、
請求項1に記載の二次電池。
【請求項9】
前記負極活物質は、さらに、単体ケイ素および式(6)により表されるケイ素酸化物を含む、
請求項1に記載の二次電池。
SiO
x
・・・(6)
(xは、0<x≦2を満たしている。)
【請求項10】
前記xは、0.5≦x≦1.5を満たしている、
請求項9に記載の二次電池。
(【請求項11】以降は省略されています)
発明の詳細な説明
【技術分野】
【0001】
本技術は、二次電池用負極および二次電池に関する。
続きを表示(約 1,600 文字)
【背景技術】
【0002】
携帯電話機などの多様な電子機器が普及しているため、小型かつ軽量であると共に高エネルギー密度が得られる電源として二次電池の開発が進められている。この二次電池は、正極および負極(二次電池用負極)と共に電解液を備えており、その二次電池の構成に関しては、様々な検討がなされている。
【0003】
例えば、高容量化、高サイクル特性の要求が高まっており、従来の負極活物質より高容量の活物質が必要となっている。
【0004】
このような問題を解決するために例えば、ケイ素ナノ粒子が酸化ケイ素中に分散した構造を有する負極活物質粒子が開示されている(例えば、特許文献1参照。)。しかし、そのような負極活物質粒子では、酸素によるLi(リチウム)トラップ現象が生じ、放電時に放出できるLi量が減少してしまう(「Liロス」という)。また、充電時の大きな膨張によって負極活物質粒子の割れが発生してしまう。この割れは電解液との反応を促進しサイクル特性の悪化を招く。
【0005】
また、更なる高容量化と高サイクル特性を目指すためマグネシウムを負極活物質粒子内に導入する技術が開示されている。マグネシウムの導入により、Liロスの発生および充電中の負極活物質粒子の割れを抑制できる。具体的には、リチウム二次電池負極材用シリコン複合酸化物は、Siクラスターと、そのSiクラスターの周辺部に形成されたマグネシウムケイ酸塩とを含んでいる。そのマグネシウムケイ酸塩は、Mg
x
SiO
y
(0.5≦x≦2および2.5≦y≦4)により表される(例えば、特許文献2参照。)。また、負極活物質は、リチウムケイ素含有酸化物を含んでおり、そのリチウムケイ素含有酸化物の表層には、マグネシウムが存在している(例えば、特許文献3参照。)。しかし、マグネシウムの負極活物質粒子内への導入は放電容量の減少を招くおそれがある。
【先行技術文献】
【特許文献】
【0006】
特開2001-185127
特表2022-530780号公報
国際公開第2022/059340号パンフレット
【発明の概要】
【発明が解決しようとする課題】
【0007】
二次電池の構成に関する様々な検討がなされているが、その二次電池の電池特性は未だ十分でないため、改善の余地がある。
【0008】
優れた電池特性を得ることが可能である二次電池用負極および二次電池が望まれている。
【課題を解決するための手段】
【0009】
本技術の一実施形態の二次電池用負極は、電極反応物質を吸蔵放出する負極活物質を含む。負極活物質は、金属シリケートを含み、その金属シリケートは、金属元素、ケイ素および酸素を構成元素として含む。金属元素は、アルカリ土類金属元素、アルカリ金属元素、遷移金属元素、および両性金属元素のうちの少なくとも一種(ただし、前記電極反応物質の構成元素を除く。)である。負極活物質は、金属シリケートを含む中心部と、その中心部の外側に位置すると共に金属シリケートを含む表面部と、中心部と表面部との間に位置すると共に金属シリケートを含む中間部とを含む。負極活物質の断面において中心部の断面積と中間部の断面積と表面部の断面積との比を1:3:5としたとき、中心部における金属元素の存在量よりも中間部における金属元素の存在量が大きく、中間部における金属元素の存在量よりも表面部における金属元素の存在量が大きい。
【0010】
本技術の一実施形態の二次電池は、正極と、負極と、電解液とを備え、その負極が上記した本技術の一実施形態の二次電池用負極の構成と同様の構成を有するものである。
(【0011】以降は省略されています)
この特許をJ-PlatPat(特許庁公式サイト)で参照する
関連特許
株式会社村田製作所
二次電池
1か月前
株式会社村田製作所
測定装置
1か月前
株式会社村田製作所
移相回路
1か月前
株式会社村田製作所
コイル部品
24日前
株式会社村田製作所
電池パック
1か月前
株式会社村田製作所
高周波回路
1か月前
株式会社村田製作所
コイル部品
1か月前
株式会社村田製作所
コイル部品
1か月前
株式会社村田製作所
電池パック
8日前
株式会社村田製作所
電子聴診器
1か月前
株式会社村田製作所
ネブライザ
1か月前
株式会社村田製作所
外観検査装置
16日前
株式会社村田製作所
電力システム
25日前
株式会社村田製作所
電力増幅回路
16日前
株式会社村田製作所
フィルタ装置
10日前
株式会社村田製作所
フィルタ装置
1か月前
株式会社村田製作所
インダクタ部品
18日前
株式会社村田製作所
圧力センサ装置
1か月前
株式会社村田製作所
電池モジュール
1か月前
株式会社村田製作所
指装着デバイス
1日前
株式会社村田製作所
インダクタ部品
8日前
株式会社村田製作所
インダクタ部品
8日前
株式会社村田製作所
インダクタ部品
8日前
株式会社村田製作所
インダクタ部品
8日前
株式会社村田製作所
インダクタ部品
8日前
株式会社村田製作所
積層体の切断装置
10日前
株式会社村田製作所
伸縮性コイル部品
23日前
株式会社村田製作所
正極及び二次電池
8日前
株式会社村田製作所
電子部品包装装置
1か月前
株式会社村田製作所
高周波モジュール
16日前
株式会社村田製作所
積層体の切断装置
10日前
株式会社村田製作所
固体電解コンデンサ
3日前
株式会社村田製作所
造粒粉及びインダクタ
1か月前
株式会社村田製作所
ファブリペロー干渉計
1か月前
株式会社村田製作所
コンデンサモジュール
1か月前
株式会社村田製作所
濾過装置および濾過方法
1か月前
続きを見る
他の特許を見る