TOP
|
特許
|
意匠
|
商標
特許ウォッチ
Twitter
他の特許を見る
10個以上の画像は省略されています。
公開番号
2025149669
公報種別
公開特許公報(A)
公開日
2025-10-08
出願番号
2024050446
出願日
2024-03-26
発明の名称
電池パック
出願人
株式会社村田製作所
代理人
弁理士法人酒井国際特許事務所
主分類
H01M
10/659 20140101AFI20251001BHJP(基本的電気素子)
要約
【課題】二次電池の放電時に二次電池の温度上昇を抑制することができる電池パックを提供すること。
【解決手段】電池パック1は、ハウジング10と、ハウジング10に収容される複数の二次電池31と、ハウジング10に収容される吸熱部材40と、を備える。吸熱部材40は、凝固剤が添加された常温で固体状の電気絶縁油である。固体状の吸熱部材40は、熱によってゲル状化する。
【選択図】図2
特許請求の範囲
【請求項1】
ハウジングと、
前記ハウジングに収容される複数の二次電池と、
前記ハウジングに収容される吸熱部材と、を備え、
前記吸熱部材は、凝固剤が添加された常温で固体状の電気絶縁油であり、
固体状の前記吸熱部材は、熱によってゲル状化する、
電池パック。
続きを表示(約 450 文字)
【請求項2】
前記電気絶縁油は、JIS C 2320:2010に規定される電気絶縁油である、
請求項1に記載の電池パック。
【請求項3】
前記凝固剤は、金属セッケン、12-ヒドロキシステアリン酸、ジベンジリデンソルビトール、ステアリン酸ナトリウム、および、アミノ酸系油ゲル化剤の何れか1つである、
請求項1に記載の電池パック。
【請求項4】
前記ハウジングに収容され、複数の前記二次電池を保持するホルダをさらに備え、
前記吸熱部材は、前記ホルダの周囲にある、
請求項1に記載の電池パック。
【請求項5】
前記ホルダは、前記ハウジングの内側面の一部と接触する、
請求項4に記載の電池パック。
【請求項6】
前記ハウジングに収容され、前記二次電池を保持する複数の第1保持部、および、前記吸熱部材を保持する第2保持部を有するホルダをさらに備える、
請求項1に記載の電池パック。
発明の詳細な説明
【技術分野】
【0001】
本開示は、電池パックに関する。
続きを表示(約 1,500 文字)
【背景技術】
【0002】
特許文献1には、電池パックの一例として、吸熱部材および複数の単電池を備える電池モジュールが開示されている。吸熱部材は、吸熱剤および吸熱剤を内包する外装フィルムを備えている。電池の異常発熱時に、外装フィルムが開裂し、漏出した吸熱剤によって二次電池の温度が低下する。
【先行技術文献】
【特許文献】
【0003】
国際公開第2010/098067号
【発明の概要】
【発明が解決しようとする課題】
【0004】
電池パックは、例えば電動工具などの負荷装置に適用される。電池パックが負荷装置に電力を供給する場合、二次電池の放電によって二次電池の温度が上昇する。二次電池の温度の上昇は、二次電池の安全性に影響を及ぼす。また、近年、負荷装置の高電力化が進んでおり、二次電池の発熱量が増大している。よって、二次電池の異常発熱時だけでなく、二次電池の放電時に二次電池の温度上昇を抑制したいとの要望がある。
【0005】
本開示は、上記に鑑みてなされたものであって、二次電池の放電時に二次電池の温度上昇を抑制することができる電池パックを提供することを目的とする。
【課題を解決するための手段】
【0006】
本開示の電池パックは、ハウジングと、前記ハウジングに収容される複数の二次電池と、前記ハウジングに収容される吸熱部材と、を備え、前記吸熱部材は、凝固剤が添加された常温で固体状の電気絶縁油であり、固体状の前記吸熱部材は、熱によってゲル状化する。
【発明の効果】
【0007】
本開示によれば、電池パックにおいて二次電池の放電時に二次電池の温度上昇を抑制することができる。
【図面の簡単な説明】
【0008】
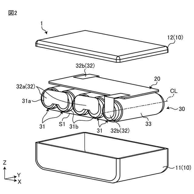
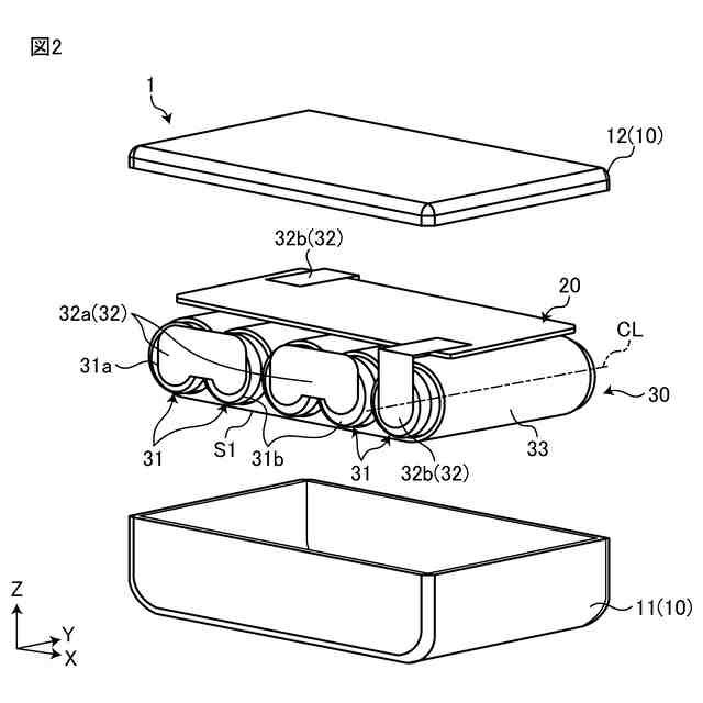
図1は、本開示の第1実施形態に係る電池パックの斜視図である。
図2は、図1に示す電池パックの分解斜視図である。
図3は、図1に示す電池パックを二次電池の中心軸線と直交する平面で切断したときの断面形状を示す図である。
図4は、図3に示すIV-IV線に沿う電池パックの断面形状を示す図である。
図5は、負荷装置が連続駆動する場合における二次電池の温度変化を示す図である。
図6は、本開示の第2実施形態に係る電池パックを二次電池の中心軸線と直交する平面で切断したときの断面形状を示す図である。
図7は、本開示の第3実施形態に係る電池パックを二次電池の中心軸線と直交する平面で切断したときの断面形状を示す図である。
図8は、図7に示すVIII-VIII線に沿う電池パックの断面形状を示す図である。
【発明を実施するための形態】
【0009】
以下に、実施の形態を図面に基づいて詳細に説明する。なお、この実施の形態により本開示が限定されるものではない。各実施の形態は例示であり、異なる実施の形態で示した構成の部分的な置換又は組み合わせが可能であることは言うまでもない。
【0010】
図面で示すX方向は電池パック1の幅方向に相当し、Y方向は電池パック1の奥行方向に相当し、Z方向は電池パック1の高さ方向に相当する。X方向、Y方向およびZ方向は、互いに直交する。また、X方向において、矢印が指す側を+X側とし、+X側と反対側を-X側とする。Y方向において、矢印が指す側を+Y側とし、+Y側と反対側を-Y側とする。Z方向において、矢印が指す側を+Z側とし、+Z側と反対側を-Z側とする。なお、X、Y、Zの方向は一例であって、本開示はこれらの方向に限定されない。
(【0011】以降は省略されています)
この特許をJ-PlatPat(特許庁公式サイト)で参照する
関連特許
株式会社村田製作所
電子部品
9日前
株式会社村田製作所
測定装置
4日前
株式会社村田製作所
移相回路
2日前
株式会社村田製作所
電子聴診器
2日前
株式会社村田製作所
噴霧ノズル
11日前
株式会社村田製作所
高周波回路
3日前
株式会社村田製作所
コイル部品
2日前
株式会社村田製作所
コイル部品
2日前
株式会社村田製作所
電池パック
4日前
株式会社村田製作所
ネブライザ
2日前
株式会社村田製作所
フィルタ回路
13日前
株式会社村田製作所
フィルタ装置
3日前
株式会社村田製作所
圧力センサ装置
4日前
株式会社村田製作所
複合型電子部品
9日前
株式会社村田製作所
積層インダクタ
13日前
株式会社村田製作所
電池モジュール
2日前
株式会社村田製作所
呼吸検出システム
13日前
株式会社村田製作所
電子部品包装装置
4日前
株式会社村田製作所
ファブリペロー干渉計
3日前
株式会社村田製作所
コンデンサモジュール
2日前
株式会社村田製作所
造粒粉及びインダクタ
3日前
株式会社村田製作所
積層セラミック電子部品
9日前
株式会社村田製作所
積層セラミック電子部品
10日前
株式会社村田製作所
積層セラミック電子部品
3日前
株式会社村田製作所
積層セラミック電子部品
10日前
株式会社村田製作所
積層セラミック電子部品
3日前
株式会社村田製作所
積層セラミック電子部品
3日前
株式会社村田製作所
光学的パターン表示物品
9日前
株式会社村田製作所
濾過装置および濾過方法
3日前
株式会社村田製作所
積層セラミックコンデンサ
10日前
株式会社村田製作所
タブおよび電池モジュール
9日前
株式会社村田製作所
積層セラミックコンデンサ
11日前
株式会社村田製作所
タブおよび電池モジュール
9日前
株式会社村田製作所
積層セラミックコンデンサ
13日前
株式会社村田製作所
積層インダクタの製造方法
9日前
株式会社村田製作所
電池および電池の製造方法
9日前
続きを見る
他の特許を見る