TOP
|
特許
|
意匠
|
商標
特許ウォッチ
Twitter
他の特許を見る
10個以上の画像は省略されています。
公開番号
2025145826
公報種別
公開特許公報(A)
公開日
2025-10-03
出願番号
2024046276
出願日
2024-03-22
発明の名称
積層セラミック電子部品
出願人
株式会社村田製作所
代理人
個人
,
個人
主分類
H01G
4/30 20060101AFI20250926BHJP(基本的電気素子)
要約
【課題】たわみ耐性の向上が可能な積層セラミック電子部品を提供する。
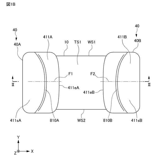
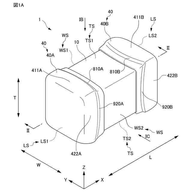
【解決手段】内部電極層30を含む積層体10と、積層体10の両端部に配置された一対の外部電極40とを備え、外部電極40は、主面側外部電極411Aを含み、主面側外部電極411Aは、主面TSに相対する表面411sAを有し、表面411sAは、主面TSから表面411sAまでの高さにおいて、積層体10の長さ方向Lの中央側の表面411sAの高さを、積層体10の長さ方向Lの外側の表面411sAよりも低くする段差部900を有し、段差部900は、長さ方向Lの中央に向かって凸となる湾曲形状を有し、かつ、表面411sAにおいて幅方向Wにわたって延在する。
【選択図】図2
特許請求の範囲
【請求項1】
高さ方向に交互に積層された複数のセラミック層および複数の内部導体層を含むとともに、前記高さ方向に相対する一対の主面と、前記高さ方向に直交する長さ方向に相対する一対の端面と、前記高さ方向および前記長さ方向に直交する幅方向に相対する一対の側面と、を含む積層体と、
前記積層体の前記長さ方向の両端部のそれぞれに、互いに離間して配置された一対の外部電極と、を備え、
前記主面は、前記高さ方向に相対する第1の主面および第2の主面を含み、
前記端面は、前記長さ方向に相対する第1の端面および第2の端面を含み、
前記側面は、前記幅方向に相対する第1の側面および第2の側面を含み、
前記内部導体層は、前記第1の端面に引き出される第1の内部導体層と、前記第2の端面に引き出される第2の内部導体層と、を含み、
前記外部電極は、前記第1の主面上および前記第2の主面上の少なくとも一方に配置された主面側外部電極を含み、
前記主面側外部電極は、前記主面に相対する表面を有し、
前記表面は、前記主面から前記表面までの高さにおいて、前記積層体の前記長さ方向の中央側の前記表面の高さを、前記積層体の前記長さ方向の外側の前記表面よりも低くする段差部を有し、
前記段差部は、前記長さ方向の中央に向かって凸となる湾曲形状を有し、かつ、前記表面において前記幅方向にわたって延在する、積層セラミック電子部品。
続きを表示(約 450 文字)
【請求項2】
前記外部電極は、前記長さ方向の中央側の端部に、前記長さ方向の中央に向かって凸となる湾曲形状を有し、かつ、前記幅方向にわたって延在する端縁を有し、
前記端縁は、前記段差部の曲率よりも小さい曲率を有する、請求項1に記載の積層セラミック電子部品。
【請求項3】
前記主面側外部電極は、前記主面上に配置された下地電極層と、前記下地電極層よりも上層に配置されためっき層と、前記下地電極層と前記めっき層との間に配置された導電性樹脂層と、を有し、
前記段差部よりも前記積層体の前記長さ方向の中央側においては、前記下地電極層上に前記めっき層が配置され、前記導電性樹脂層は配置されていない、請求項1または2に記載の積層セラミック電子部品。
【請求項4】
前記段差部よりも前記積層体の前記長さ方向の外側の前記めっき層の厚みよりも、前記段差部よりも前記積層体の前記長さ方向の中央側の前記めっき層の厚みが大きい、請求項3に記載の積層セラミック電子部品。
発明の詳細な説明
【技術分野】
【0001】
本発明は、積層セラミック電子部品に関する。
続きを表示(約 1,900 文字)
【背景技術】
【0002】
従来、積層セラミック電子部品として積層セラミックコンデンサが知られている。一般に、積層セラミックコンデンサは、誘電体層と内部電極層とが交互に複数積層された積層体と、積層体の両端面に設けられた外部電極と、を備えている。例えば特許文献1には、上述の構造を有し、かつ、外部電極が、焼き付けにより形成された下地電極層を含む積層セラミックコンデンサが開示されている。
【先行技術文献】
【特許文献】
【0003】
特開2003-243249号公報
【発明の概要】
【発明が解決しようとする課題】
【0004】
ところで、この種の積層セラミックコンデンサにおいては、基板へ実装する際などに、外部電極に発生するたわみ応力が積層体に伝わることによって積層体にクラック等が発生すること懸念されている。したがって、たわみ耐性が向上した積層セラミックコンデンサが求められる。
【0005】
本発明は、たわみ耐性の向上が可能な積層セラミック電子部品を提供することを目的としている。
【課題を解決するための手段】
【0006】
本発明に係る積層セラミックコンデンサは、高さ方向に交互に積層された複数のセラミック層および複数の内部導体層を含むとともに、前記高さ方向に相対する一対の主面と、前記高さ方向に直交する長さ方向に相対する一対の端面と、前記高さ方向および前記長さ方向に直交する幅方向に相対する一対の側面と、を含む積層体と、前記積層体の前記長さ方向の両端部のそれぞれに、互いに離間して配置された一対の外部電極と、を備え、前記主面は、前記高さ方向に相対する第1の主面および第2の主面を含み、前記端面は、前記長さ方向に相対する第1の端面および第2の端面を含み、前記側面は、前記幅方向に相対する第1の側面および第2の側面を含み、前記内部導体層は、前記第1の端面に引き出される第1の内部導体層と、前記第2の端面に引き出される第2の内部導体層と、を含み、前記外部電極は、前記第1の主面上および前記第2の主面上の少なくとも一方に配置された主面側外部電極を含み、前記主面側外部電極は、前記主面に相対する表面を有し、前記表面は、前記主面から前記表面までの高さにおいて、前記積層体の前記長さ方向の中央側の前記表面の高さを、前記積層体の前記長さ方向の外側の前記表面よりも低くする段差部を有し、前記段差部は、前記長さ方向の中央に向かって凸となる湾曲形状を有し、かつ、前記表面において前記幅方向にわたって延在する。
【発明の効果】
【0007】
本発明によれば、たわみ耐性の向上が可能な積層セラミック電子部品を提供できる。
【図面の簡単な説明】
【0008】
実施形態に係る積層セラミックコンデンサの外観斜視図である。
図1AのIB矢視図である。
図1AのIC矢視図である。
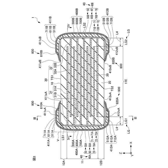
図1Aおよび図1BのII-II線に沿った断面図である。
図1Cおよび図2のIII-III線に沿った断面図である。
図1Cおよび図2のIV-IV線に沿った断面図である。
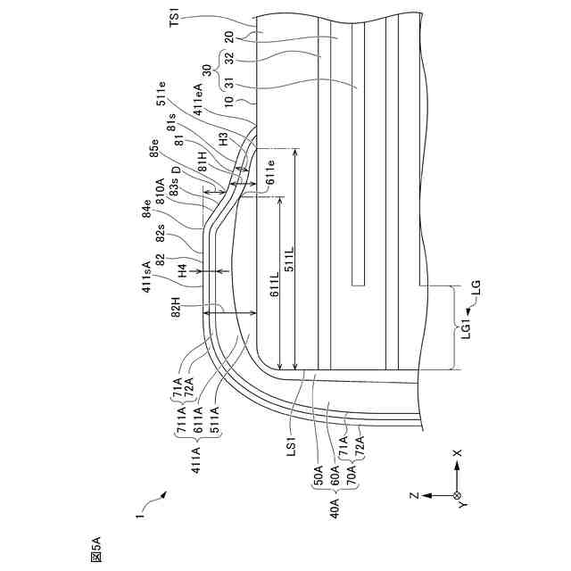
図2のVで示す部分の拡大図であって、第1の主面側外部電極の断面を示す図である。
実施形態の積層セラミックコンデンサの製造方法を示す図であって、積層体に外部電極を形成する第1の工程を示す図である。
実施形態の積層セラミックコンデンサの製造方法を示す図であって、積層体に外部電極を形成する第2の工程を示す図である。
2連構造の積層セラミックコンデンサを示す図である。
3連構造の積層セラミックコンデンサを示す図である。
4連構造の積層セラミックコンデンサを示す図である。
【発明を実施するための形態】
【0009】
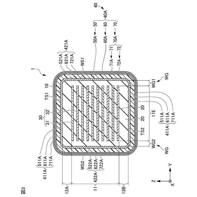
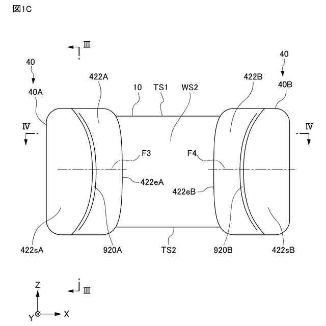
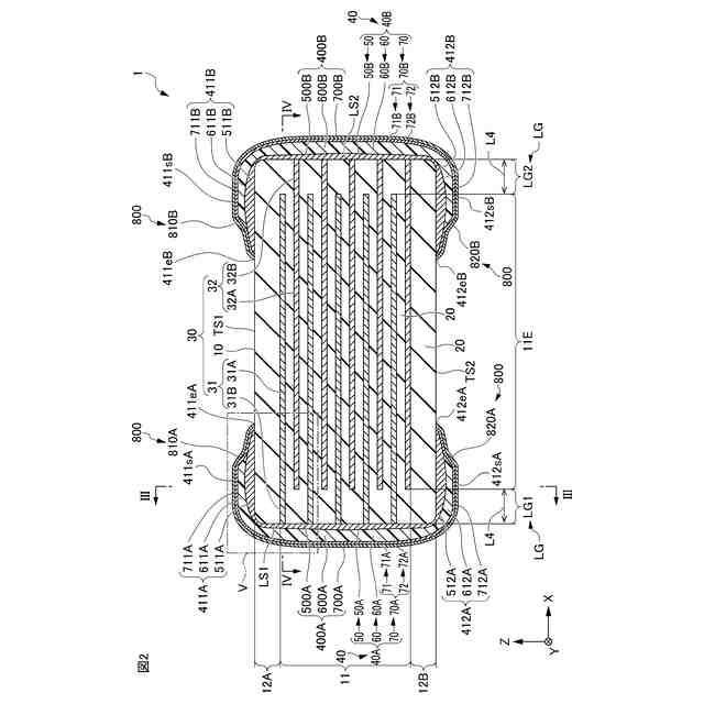
以下、実施形態に係る積層セラミック電子部品としての積層セラミックコンデンサ1について、図1A~図4を用いて説明する。図1Aは、実施形態の積層セラミックコンデンサ1の外観斜視図である。図1Bは、図1AのIB矢視図である。図1Cは、図1AのIC矢視図である。図2は、図1Aおよび図1BのII-II線に沿った断面図である。図3は、図1Cおよび図2のIII-III線に沿った断面図である。図4は、図1Cおよび図2のIV-IV線に沿った断面図である。
【0010】
積層セラミックコンデンサ1は、積層体10と、外部電極40と、を有する。
(【0011】以降は省略されています)
この特許をJ-PlatPat(特許庁公式サイト)で参照する
関連特許
株式会社村田製作所
電池
12日前
株式会社村田製作所
釣り具
11日前
株式会社村田製作所
電子部品
4日前
株式会社村田製作所
コイル部品
18日前
株式会社村田製作所
噴霧ノズル
6日前
株式会社村田製作所
高周波回路
1か月前
株式会社村田製作所
流体制御装置
19日前
株式会社村田製作所
フィルタ回路
8日前
株式会社村田製作所
グラビア印刷版
26日前
株式会社村田製作所
複合型電子部品
4日前
株式会社村田製作所
弾性波フィルタ
18日前
株式会社村田製作所
インダクタ部品
18日前
株式会社村田製作所
積層インダクタ
8日前
株式会社村田製作所
呼吸検出システム
8日前
株式会社村田製作所
多層基板及び電子機器
8日前
株式会社村田製作所
多層基板及び電子機器
8日前
株式会社村田製作所
積層セラミック電子部品
20日前
株式会社村田製作所
積層セラミック電子部品
27日前
株式会社村田製作所
積層セラミック電子部品
5日前
株式会社村田製作所
積層セラミック電子部品
4日前
株式会社村田製作所
光学的パターン表示物品
4日前
株式会社村田製作所
積層セラミック電子部品
5日前
株式会社村田製作所
積層セラミック電子部品
20日前
株式会社村田製作所
積層セラミック電子部品
20日前
株式会社村田製作所
積層セラミックコンデンサ
1か月前
株式会社村田製作所
積層セラミックコンデンサ
20日前
株式会社村田製作所
積層セラミックコンデンサ
11日前
株式会社村田製作所
積層コイル部品の製造方法
20日前
株式会社村田製作所
積層インダクタの製造方法
4日前
株式会社村田製作所
樹脂多層基板及び電子機器
8日前
株式会社村田製作所
積層セラミックコンデンサ
6日前
株式会社村田製作所
電池および電池の製造方法
4日前
株式会社村田製作所
タブおよび電池モジュール
4日前
株式会社村田製作所
タブおよび電池モジュール
4日前
株式会社村田製作所
樹脂多層基板及び電子機器
8日前
株式会社村田製作所
積層セラミックコンデンサ
5日前
続きを見る
他の特許を見る