TOP
|
特許
|
意匠
|
商標
特許ウォッチ
Twitter
他の特許を見る
公開番号
2025142878
公報種別
公開特許公報(A)
公開日
2025-10-01
出願番号
2024042475
出願日
2024-03-18
発明の名称
噴霧ノズル
出願人
株式会社村田製作所
代理人
個人
,
個人
主分類
A61M
11/02 20060101AFI20250924BHJP(医学または獣医学;衛生学)
要約
【課題】洗浄が簡便且つ、カバー部材におけるノズル本体からの浮き上がりを抑制する噴霧ノズルを提供する。
【解決手段】噴霧ノズル100は、ノズル本体110とカバー部材120とを備えている。ノズル本体110の外面及びカバー部材120の内面は、吸い上げ通路131を区画している。ノズル本体110は、ガス噴射通路114と、液体噴出通路115と、を区画している。液噴出口LPは、ガス噴射口GPに対して正方向X1側に位置している。カバー部材120は、ノズル本体110の正方向X1側を向く上面に対して正方向X1側で当該上面に接触し、且つ外部に露出する被せ部を有している。被せ部においてガス噴射口GP側を向く端面のうち、最も負方向X2側に位置する端面は、正方向X1に直交する方向においてガス噴射口GPの縁に対して外側に離れている。
【選択図】図3
特許請求の範囲
【請求項1】
ポンプに接続するノズル本体と、
前記ノズル本体に着脱可能であって、前記ノズル本体の外面を覆うカバー部材と、
を備え、
前記ノズル本体の外面及び前記カバー部材の内面は、液体が流通する吸い上げ通路を区画しており、
前記ノズル本体は、
前記ポンプから圧送される気体が流通するガス噴射通路と、
前記吸い上げ通路に対して下流側で繋がっている液体噴出通路と、を区画しており、
前記ガス噴射通路の下流側の開口であるガス噴射口及び前記液体噴出通路の下流側の開口である液噴出口を含む断面で断面視したとき、前記ガス噴射口から前記液噴出口側に向かう方向を正方向とし、前記正方向と反対方向を負方向としたとき、
前記カバー部材は、前記ノズル本体の前記正方向側を向く上面に対して前記正方向側で当該上面に接触し、且つ外部に露出する被せ部を有し、
前記被せ部において前記ガス噴射口側を向く端面のうち、最も前記負方向側に位置する端面は、前記正方向に直交する方向において前記ガス噴射口の縁に対して外側に離れている
噴霧ノズル。
続きを表示(約 710 文字)
【請求項2】
前記吸い上げ通路と前記液体噴出通路との間に液だまり部を備え、
前記液だまり部の最大流路断面積は、前記吸い上げ通路の最大流路断面積よりも大きくなっている
請求項1に記載の噴霧ノズル。
【請求項3】
前記液だまり部は、前記ノズル本体の外面及び前記カバー部材の内面によって区画されている
請求項2に記載の噴霧ノズル。
【請求項4】
前記ノズル本体は、前記上面として、前記正方向に沿う方向において前記ガス噴射口の前記正方向の端と同じ位置であり、且つ、前記正方向に直交する第1上面を有し、
前記被せ部は、前記第1上面に接触する第1被せ部を有している
請求項1に記載の噴霧ノズル。
【請求項5】
前記ノズル本体は、前記上面として、前記液体噴出通路に対して前記正方向側に位置する第2上面を有し、
前記被せ部は、前記第2上面に接触する第2被せ部を有している
請求項1に記載の噴霧ノズル。
【請求項6】
前記被せ部において前記ガス噴射口側を向く端面の全域が、前記正方向に直交する方向において前記ガス噴射口の縁に対して外側に離れている
請求項1に記載の噴霧ノズル。
【請求項7】
前記ガス噴射通路の前記負方向の端と、前記上面における最も前記ガス噴射口側の端とを通り、且つ前記正方向に交差する仮想直線を引いたとき、
前記被せ部において前記ガス噴射口側を向く端面の全域が、前記正方向に直交する方向において前記仮想直線に対して外側に離れている
請求項1に記載の噴霧ノズル。
発明の詳細な説明
【技術分野】
【0001】
本発明は、噴霧ノズルに関する。
続きを表示(約 1,800 文字)
【背景技術】
【0002】
特許文献1に記載の噴霧ノズルは、ガス噴射通路と、液体噴出通路とを備えている。ガス噴射通路からは、気体が噴射される。液体は、液体噴出通路内を流通可能である。液体噴出通路の中心軸は、ガス噴射通路の中心軸と直交する。ガス噴射通路及び液体噴出通路は、一体成形物である。この噴霧ノズルにおいては、気体の噴射に伴って、液体噴出通路を介して液体が吸い上げられる。そして、吸い上げられた液体は、液体噴出通路外へと噴出される。噴出された液体は、気体と衝突して霧化される。
【先行技術文献】
【特許文献】
【0003】
特開平2-46862号公報
【発明の概要】
【発明が解決しようとする課題】
【0004】
特許文献1に記載の噴霧ノズルのように、液体噴出通路とガス噴射通路とが一体成形物であると、液体噴出通路の内部を洗浄しようとした際、内部を適切に洗浄できない場合がある。この点、例えば、噴霧ノズルを複数のパーツで構成して、当該複数のパーツを分割可能としておけば、洗浄のしやすさは向上し得る。しかしながら、噴霧ノズルを複数のパーツに分割可能とした場合、噴霧ノズルの使用時に各パーツが位置ずれしてしまうおそれがある。
【課題を解決するための手段】
【0005】
上記課題を解決するため、本発明は、ポンプに接続するノズル本体と、前記ノズル本体に着脱可能であって、前記ノズル本体の外面を覆うカバー部材と、を備え、前記ノズル本体の外面及び前記カバー部材の内面は、液体が流通する吸い上げ通路を区画しており、前記ノズル本体は、前記ポンプから圧送される気体が流通するガス噴射通路と、前記吸い上げ通路に対して下流側で繋がっている液体噴出通路と、を区画しており、前記ガス噴射通路の下流側の開口であるガス噴射口及び前記液体噴出通路の下流側の開口である液噴出口を含む断面で断面視したとき、前記ガス噴射口から前記液噴出口側に向かう方向を正方向とし、前記正方向と反対方向を負方向としたとき、前記カバー部材は、前記ノズル本体の前記正方向側を向く上面に対して前記正方向側で当該上面に接触し、且つ外部に露出する被せ部を有し、前記被せ部において前記ガス噴射口側を向く端面のうち、最も前記負方向側に位置する端面は、前記正方向に直交する方向において前記ガス噴射口の縁に対して外側に離れている噴霧ノズルである。
【発明の効果】
【0006】
上記構成によれば、吸い上げ通路の洗浄が簡便になる。さらに、上記構成によれば、カバー部材がノズル本体から浮き上がるような位置ずれを抑制できる。
【図面の簡単な説明】
【0007】
図1は、ネブライザを示す斜視図である。
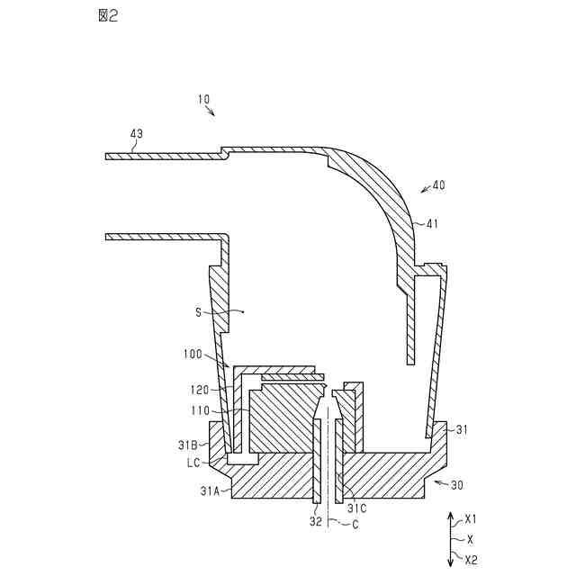
図2は、タンクユニット、噴霧ノズル、及び吐出ユニットの概略端面図である。
図3は、噴霧ノズルの概略端面図である。
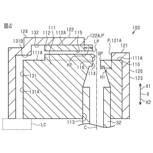
図4は、変更例の噴霧ノズルの概略端面図である。
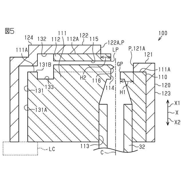
図5は、変更例の噴霧ノズルの概略端面図である。
図6は、変更例の噴霧ノズルの概略端面図である。
図7は、変更例の噴霧ノズルの概略端面図である。
【発明を実施するための形態】
【0008】
以下、噴霧ノズルの一実施形態を説明する。以下の実施形態において、噴霧ノズルはネブライザに適用される。なお、図面は、理解を容易にするために構成要素を拡大して示している場合がある。構成要素の寸法比率は実際のものと、又は別の図面中のものと異なる場合がある。
【0009】
<ネブライザの全体構成について>
図1に示すように、ネブライザ10は、ポンプユニット20、タンクユニット30、及び吐出ユニット40を備えている。
【0010】
ポンプユニット20は、ポンプケース21と、ポンプ22と、を備えている。ポンプケース21は、略円筒状のケースである。ポンプ22は、ポンプケース21の内部に位置している。ポンプ22は、いわゆる圧電ポンプである。ポンプ22は、図示しない圧電素子とダイヤフラムとを有している。圧電素子は、圧電セラミックスである。そして、ポンプ22は、圧電素子の振動によりダイヤフラムが繰り返し撓むことで空気を圧送できる。つまり、ポンプ22は、気体を圧送可能である。
(【0011】以降は省略されています)
この特許をJ-PlatPat(特許庁公式サイト)で参照する
関連特許
株式会社村田製作所
電池
6日前
株式会社村田製作所
釣り具
5日前
株式会社村田製作所
増幅回路
1か月前
株式会社村田製作所
噴霧ノズル
今日
株式会社村田製作所
高周波回路
1か月前
株式会社村田製作所
高周波回路
1か月前
株式会社村田製作所
コイル部品
12日前
株式会社村田製作所
フィルタ回路
2日前
株式会社村田製作所
測定システム
1か月前
株式会社村田製作所
流体制御装置
13日前
株式会社村田製作所
インダクタ部品
1か月前
株式会社村田製作所
圧力センサ装置
1か月前
株式会社村田製作所
インダクタ部品
1か月前
株式会社村田製作所
グラビア印刷版
20日前
株式会社村田製作所
弾性波フィルタ
12日前
株式会社村田製作所
インダクタ部品
12日前
株式会社村田製作所
積層インダクタ
1か月前
株式会社村田製作所
積層インダクタ
2日前
株式会社村田製作所
呼吸検出システム
2日前
株式会社村田製作所
多層基板及び電子機器
2日前
株式会社村田製作所
多層基板及び電子機器
2日前
株式会社村田製作所
積層セラミック電子部品
14日前
株式会社村田製作所
積層セラミック電子部品
14日前
株式会社村田製作所
積層セラミック電子部品
14日前
株式会社村田製作所
積層セラミック電子部品
21日前
株式会社村田製作所
積層セラミックコンデンサ
26日前
株式会社村田製作所
積層セラミックコンデンサ
14日前
株式会社村田製作所
樹脂多層基板及び電子機器
2日前
株式会社村田製作所
積層コイル部品の製造方法
14日前
株式会社村田製作所
積層セラミックコンデンサ
今日
株式会社村田製作所
樹脂多層基板及び電子機器
2日前
株式会社村田製作所
積層セラミックコンデンサ
2日前
株式会社村田製作所
積層セラミックコンデンサ
5日前
株式会社村田製作所
積層セラミックコンデンサ
2日前
株式会社村田製作所
モジュール基板及び電子機器
2日前
株式会社村田製作所
トランス及び高周波モジュール
12日前
続きを見る
他の特許を見る