TOP
|
特許
|
意匠
|
商標
特許ウォッチ
Twitter
他の特許を見る
10個以上の画像は省略されています。
公開番号
2025153514
公報種別
公開特許公報(A)
公開日
2025-10-10
出願番号
2024056032
出願日
2024-03-29
発明の名称
電池モジュール
出願人
株式会社村田製作所
代理人
弁理士法人酒井国際特許事務所
主分類
H01M
50/569 20210101AFI20251002BHJP(基本的電気素子)
要約
【課題】光センサを備える電池モジュールにおいて電池が故障したときに生じる光の検出精度を向上すること。
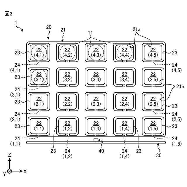
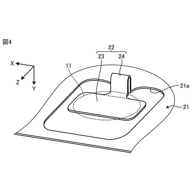
【解決手段】電池モジュール1は、複数の電池10と電気的に接続するリード板20と、光センサ40と、を備える。リード板20は、平面視で電池10の端子11と重なる貫通穴21aが複数配置される板状の本体部21と、複数のタブ部22と、を備える。タブ部22は、本体部21の平面視で貫通穴21aの周縁より内側にあり、端子11と電気的に接続する板状の第1タブ部23と、第1タブ部23と本体部21とを電気的に接続する第2タブ部24と、を備える。第2タブ部24は、本体部21から電池10側とは反対側に突出する形状である。光センサ40は、本体部21を挟んで電池10とは反対側の位置にある。
【選択図】図1
特許請求の範囲
【請求項1】
端子を有する複数の電池と、
前記電池の端子と対向する位置に配置され、複数の前記電池それぞれと電気的に接続するリード板と、
光センサと、を備え、
前記リード板は、
平面視で前記電池の端子と重なる貫通穴が複数配置される板状の本体部と、
複数のタブ部と、を一体に備え、
複数の前記タブ部は、それぞれ、
前記本体部の平面視で前記貫通穴の周縁より内側にあり、前記電池の端子と電気的に接続する板状の第1タブ部と、
前記第1タブ部と前記本体部とを電気的に接続する第2タブ部と、を備え、
前記第2タブ部は、第1端を前記第1タブ部の周縁の一部に電気的に接続され、第2端を前記貫通穴の周縁の一部に電気的に接続され、前記本体部から前記電池側とは反対側に突出する形状であり、
前記光センサは、前記本体部の側面視において前記本体部を挟んで前記電池とは反対側の位置にある、
電池モジュール。
続きを表示(約 960 文字)
【請求項2】
前記第2タブ部が延びる方向と直交する前記第2タブ部の断面積は、前記第1タブ部の厚さ方向に沿う断面積より小さい、
請求項1に記載の電池モジュール。
【請求項3】
前記第2タブ部は、前記本体部から前記電池側とは反対側に突出し且つ前記電池側を開放する断面U字形状である、
請求項1に記載の電池モジュール。
【請求項4】
複数の前記第2タブ部のうち1つの前記第2タブ部を前記光センサから見た場合、前記1つの前記第2タブ部の突出端は、複数の前記第2タブ部のうち前記1つの前記第2タブ部以外の他の前記第2タブ部とは重ならない、
請求項1に記載の電池モジュール。
【請求項5】
複数の前記第2タブ部は、前記光センサとの距離が互いに異なる2つの前記第2タブ部を含み、
前記2つの前記第2タブ部において、前記光センサとの距離が長い方の前記第2タブ部の突出高さは、前記光センサとの距離が短い方の前記第2タブ部の突出高さよりも高い、
請求項1に記載の電池モジュール。
【請求項6】
複数の前記タブ部は、前記本体部の平面視で行方向および列方向それぞれに沿って行列状に並び、
複数の前記第2タブ部の突出高さは、前記列方向において前記光センサから離れるほど高くなる、
請求項1に記載の電池モジュール。
【請求項7】
複数の前記タブ部のうち同じ行の複数の前記タブ部に含まれる複数の前記第2タブ部の突出高さは、互いに等しい、
請求項6に記載の電池モジュール。
【請求項8】
複数の前記第2タブ部の突出高さは、前記行方向において前記光センサから離れるほど高くなる、
請求項6に記載の電池モジュール。
【請求項9】
複数の前記タブ部のうち同じ列の複数の前記タブ部に含まれる複数の前記第2タブ部は、前記行方向において互いに異なる位置にある、
請求項6に記載の電池モジュール。
【請求項10】
複数の前記第2タブ部の突出高さは、互いに等しい、
請求項4に記載の電池モジュール。
(【請求項11】以降は省略されています)
発明の詳細な説明
【技術分野】
【0001】
本開示は、電池モジュールに関する。
続きを表示(約 3,800 文字)
【背景技術】
【0002】
特許文献1には、電池モジュールの一例として、複数のセル、セルの陽極と陰極とが短絡した場合に溶断する複数のヒュージブルリンク、および、ヒュージブルリンクが溶断するときに生じる光を検出する光検出器を備えるバッテリモジュールが開示されている。光検出器が光を検出すると、溶断したヒュージブルリンクに対応するセルの故障が検出される。
【先行技術文献】
【特許文献】
【0003】
特開2023-29826号公報
【発明の概要】
【発明が解決しようとする課題】
【0004】
しかしながら、複数のヒュージブルリンク、および、光検出器(光センサ)の位置関係によっては、セル(電池)が故障したときに生じる光を光センサが検出することが困難であることが考えられる。
【0005】
本開示は、上記に鑑みてなされたものであって、光センサを備える電池モジュールにおいて電池が故障したときに生じる光の検出精度を向上することを目的とする。
【課題を解決するための手段】
【0006】
本開示の電池モジュールは、端子を有する複数の電池と、前記電池の端子と対向する位置に配置され、複数の前記電池それぞれと電気的に接続するリード板と、光センサと、を備え、前記リード板は、平面視で前記電池の端子と重なる貫通穴が複数配置される板状の本体部と、複数のタブ部と、を一体に備え、複数の前記タブ部は、それぞれ、前記本体部の平面視で前記貫通穴の周縁より内側にあり、前記電池の端子と電気的に接続する板状の第1タブ部と、前記第1タブ部と前記本体部とを電気的に接続する第2タブ部と、を備え、前記第2タブ部は、第1端を前記第1タブ部の周縁の一部に電気的に接続され、第2端を前記貫通穴の周縁の一部に電気的に接続され、前記本体部から前記電池側とは反対側に突出する形状であり、前記光センサは、前記本体部の側面視において前記本体部を挟んで前記電池とは反対側の位置にある。
【発明の効果】
【0007】
本開示によれば、光センサを備える電池モジュールにおいて電池が故障したときに生じる光の検出精度を向上することができる。
【図面の簡単な説明】
【0008】
図1は、本開示の第1実施形態に係る電池モジュールの斜視図である。
図2は、図1に示す電池モジュールをX方向に沿って見たときの側面図である。
図3は、図1に示す電池モジュールをY方向に沿って見たときの側面図である。
図4は、図3に示すタブ部の斜視図である。
図5は、図3に示すタブ部の断面形状を示す図である。
図6は、図3に示すリード板を列方向に沿って見たときの側面図である。
図7は、本開示の第1実施形態の第1変形例に係る電池モジュールをY方向に沿って見たときの側面図である。
図8は、図7に示すリード板を列方向に沿って見たときの側面図である。
図9Aは、本開示の第1実施形態の第2変形例に係る電池モジュールが備えるリード板を列方向に沿って見たときの側面図であり、複数の第2タブ部のうち1行目の複数のタブ部に含まれる複数の第2タブ部を実線で示し、他の複数の第2タブ部を破線で示す図である。
図9Bは、図9Aに示すリード板の側面図であり、複数の第2タブ部のうち2行目の複数のタブ部に含まれる複数の第2タブ部を実線で示し、他の複数の第2タブ部を破線で示す図である。
図9Cは、図9Aに示すリード板の側面図であり、複数の第2タブ部のうち3行目の複数のタブ部に含まれる複数の第2タブ部を実線で示し、他の複数の第2タブ部を破線で示す図である。
図9Dは、図9Aに示すリード板の側面図であり、複数の第2タブ部のうち4行目の複数のタブ部に含まれる複数の第2タブ部を実線で示し、他の複数の第2タブ部を破線で示す図である。
図10は、本開示の第2実施形態に係る電池モジュールをY方向に沿って見たときの側面図である。
図11は、図10に示すリード板のタブ部の斜視図である。
図12は、図10に示すリード板を列方向に沿って見たときの側面図である。
図13は、本開示の第2実施形態に係る電池モジュールをY方向に沿って見たときの側面図である。
図14は、図13に示すリード板を列方向に沿って見たときの側面図である。
図15は、本開示の第3実施形態に係る電池モジュールをY方向に沿って見たときの側面図である。
図16は、図15に示すリード板を列方向に沿って見たときの側面図である。
図17Aは、本開示の第3実施形態の変形例に係る電池モジュールが備えるリード板を列方向に沿って見たときの側面図であり、1行目の複数のタブ部に含まれる複数の第2タブ部を実線で示し、他の複数の第2タブ部を破線で示す図である。
図17Bは、図17Aに示すリード板の側面図であり、2行目の複数のタブ部に含まれる複数の第2タブ部を実線で示し、他の複数の第2タブ部を破線で示す図である。
図17Cは、図17Aに示すリード板の側面図であり、3行目の複数のタブ部に含まれる複数の第2タブ部を実線で示し、他の複数の第2タブ部を破線で示す図である。
図17Dは、図17Aに示すリード板の側面図であり、4行目の複数のタブ部に含まれる複数の第2タブ部を実線で示し、他の複数の第2タブ部を破線で示す図である。
図18は、本開示の第4実施形態に係る電池モジュールをY方向に沿って見たときの側面図である。
図19は、図18に示す電池モジュールをX方向に沿って見たときの側面図である。
図20Aは、図18に示すリード板を光センサから列方向に沿って見たときの側面図であり、3,4行目の複数のタブ部に含まれる複数の第2タブ部を示す図である。
図20Bは、図19に示すリード板を光センサから列方向に沿って見たときの側面図であり、1,2行目の複数のタブ部に含まれる複数の第2タブ部を示す図である。
図21は、本開示の第4実施形態に係る電池モジュールをY方向に沿って見たときの側面図である。
図22Aは、図21に示すリード板を光センサから列方向に沿って見たときの側面図であり、3,4行目の複数のタブ部に含まれる複数の第2タブ部を示す図である。
図22Bは、図21に示すリード板を光センサから列方向に沿って見たときの側面図であり、1,2行目の複数のタブ部に含まれる複数の第2タブ部を示す図である。
図23は、本開示の第4実施形態の第2変形例に係る電池モジュールをY方向に沿って見たときの側面図である。
図24Aは、図23に示すリード板を光センサから列方向に沿って見たときの側面図であり、3,4行目の複数のタブ部に含まれる複数の第2タブ部組を示す図である。
図24Bは、図23に示すリード板を光センサから列方向に沿って見たときの側面図であり、1,2行目の複数のタブ部に含まれる複数の第2タブ部組を示す図である。
図25は、本開示の第5実施形態に係る電池モジュールをY方向に沿って見たときの側面図である。
図26は、図25に示す電池モジュールの部分拡大図である。
図27は、図25に示すリード板を列方向に沿って見たときの側面図である。
図28は、本開示の第5実施形態に係る電池モジュールをY方向に沿って見たときの側面図である。
図29は、本開示の第6実施形態に係る電池モジュールをY方向に沿って見たときの側面図である。
図30は、本開示の第5実施形態に係る電池モジュールをY方向に沿って見たときの側面図である。
図31Aは、本開示の第7実施形態に係る電池モジュールを+Y側から見た斜視図である。
図31Bは、図31Aに示す電池モジュールを-Y側から見た斜視図である。
図32は、本開示の各実施形態の他の変形例に係る電池モジュールのタブ部の斜視図である。
【発明を実施するための形態】
【0009】
以下に、実施形態を図面に基づいて詳細に説明する。なお、この実施形態により本開示が限定されるものではない。各実施形態は例示であり、異なる実施形態で示した構成の部分的な置換又は組み合わせが可能であることは言うまでもない。
【0010】
図面で示すX方向は電池モジュール1の幅方向に相当し、Y方向は電池モジュール1の奥行方向に相当し、Z方向は電池モジュール1の高さ方向に相当する。X方向、Y方向およびZ方向は、互いに直交する。また、X方向において、矢印が指す側を+X側とし、+X側と反対側を-X側とする。Y方向において、矢印が指す側を+Y側とし、+Y側と反対側を-Y側とする。Z方向において、矢印が指す側を+Z側とし、+Z側と反対側を-Z側とする。なお、X、Y、Zの方向は一例であって、本開示はこれらの方向に限定されない。
(【0011】以降は省略されています)
この特許をJ-PlatPat(特許庁公式サイト)で参照する
関連特許
株式会社村田製作所
二次電池
1か月前
株式会社村田製作所
移相回路
1か月前
株式会社村田製作所
コイル部品
1か月前
株式会社村田製作所
電池パック
18日前
株式会社村田製作所
コイル部品
1か月前
株式会社村田製作所
電子聴診器
1か月前
株式会社村田製作所
ネブライザ
1か月前
株式会社村田製作所
コイル部品
1か月前
株式会社村田製作所
外観検査装置
26日前
株式会社村田製作所
フィルタ装置
1か月前
株式会社村田製作所
電力システム
1か月前
株式会社村田製作所
フィルタ装置
20日前
株式会社村田製作所
電力増幅回路
26日前
株式会社村田製作所
インダクタ部品
18日前
株式会社村田製作所
インダクタ部品
28日前
株式会社村田製作所
インダクタ部品
18日前
株式会社村田製作所
インダクタ部品
18日前
株式会社村田製作所
インダクタ部品
18日前
株式会社村田製作所
インダクタ部品
6日前
株式会社村田製作所
指装着デバイス
11日前
株式会社村田製作所
電池モジュール
1か月前
株式会社村田製作所
インダクタ部品
6日前
株式会社村田製作所
インダクタ部品
18日前
株式会社村田製作所
伸縮性コイル部品
1か月前
株式会社村田製作所
積層体の切断装置
20日前
株式会社村田製作所
積層体の切断装置
20日前
株式会社村田製作所
高周波モジュール
26日前
株式会社村田製作所
正極及び二次電池
18日前
株式会社村田製作所
固体電解コンデンサ
13日前
株式会社村田製作所
コンデンサモジュール
1か月前
株式会社村田製作所
ファブリペロー干渉計
1か月前
株式会社村田製作所
濾過装置および濾過方法
1か月前
株式会社村田製作所
積層セラミック電子部品
1か月前
株式会社村田製作所
積層セラミックコンデンサ
18日前
株式会社村田製作所
積層セラミックコンデンサ
18日前
株式会社村田製作所
積層セラミックコンデンサ
1か月前
続きを見る
他の特許を見る