TOP
|
特許
|
意匠
|
商標
特許ウォッチ
Twitter
他の特許を見る
公開番号
2025152119
公報種別
公開特許公報(A)
公開日
2025-10-09
出願番号
2024053865
出願日
2024-03-28
発明の名称
積層セラミックコンデンサ
出願人
株式会社村田製作所
代理人
個人
,
個人
主分類
H01G
4/30 20060101AFI20251002BHJP(基本的電気素子)
要約
【課題】高耐圧仕様の積層セラミックコンデンサにおいて、電歪効果によるクラックや音鳴きの発生を抑制することが可能な積層セラミックコンデンサを提供する。
【解決手段】積層セラミックコンデンサ1であって、内層部11は、第1の内部電極層31、第2の内部電極層32および中間電極層33のうちの2層が誘電体層20を挟んで交互に積層されたコンデンサ有効部11E1と、誘電体層20と中間電極層33とが交互に積層された直列接続領域MGと、を有し、LT断面において、所定領域における内部電極層30の長さ方向の直線距離L0に対する、所定領域における内部電極層の断面形状に沿って測定した長さL1の比率(L1/L0)をうねり量とした場合に、直列接続領域MGにおける中間電極層33のうねり量は、コンデンサ有効部11E1における第1の内部電極層31、第2の内部電極層32および中間電極層33のうねり量よりも大きい。
【選択図】図5
特許請求の範囲
【請求項1】
積層された複数の誘電体層と積層された複数の内部電極層とを含み、積層方向に相対する第1の主面および第2の主面と、積層方向に直交する幅方向に相対する第1の側面および第2の側面と、積層方向および幅方向に直交する長さ方向に相対する第1の端面および第2の端面と、を含む積層体と、
前記第1の端面上に配置される第1の外部電極と、
前記第2の端面上に配置される第2の外部電極と、を有する積層セラミックコンデンサであって、
前記複数の内部電極層は、第1の内部電極層と、第2の内部電極層と、中間電極層とを含み、
前記第1の内部電極層は、その一方端部が前記第1の端面に引き出されて前記第1の外部電極と接続する第1の引き出し部と、前記第1の引き出し部に接続され、積層方向に隣り合って配置された内部電極層と対向する第1の対向部とを有し、
前記第2の内部電極層は、その一方端部が前記第2の端面に引き出されて前記第2の外部電極と接続する第2の引き出し部と、前記第2の引き出し部に接続され、積層方向に隣り合って配置された内部電極層と対向する第2の対向部とを有し、
前記中間電極層は、前記第1の外部電極にも前記第2の外部電極にも接続されておらず、前記第1の内部電極層および前記第2の内部電極層と共に直列接続のコンデンサ素子を形成する内部電極層であり、
前記積層体は、前記誘電体層と前記内部電極層とが交互に積層された内層部と、前記内層部の前記第1の側面側に配置され、前記誘電体層のみが積層された第1の側面側外層部と、前記内層部の前記第2の側面側に配置され、前記誘電体層のみが積層された第2の側面側外層部と、を有し、
前記内層部は、前記第1の内部電極層、前記第2の内部電極層および前記中間電極層のうちの2層が前記誘電体層を挟んで交互に積層された有効層部と、
前記内層部の前記第1の端面側に配置され、前記誘電体層と前記第1の内部電極層とが交互に積層された第1の端面側外層部と、前記内層部の前記第2の端面側に配置され、前記誘電体層と前記第2の内部電極層とが交互に積層された第2の端面側外層部と、前記誘電体層と前記中間電極層とが交互に積層された中間ギャップと、を有し、
長さ方向および積層方向に平行な面での断面において、
所定領域における内部電極層の長さ方向の直線距離(L0)に対する、所定領域における内部電極層の断面形状に沿って測定した長さ(L1)の比率(L1/L0)をうねり量とした場合に、
前記中間ギャップにおける前記中間電極層のうねり量は、前記有効層部における前記第1の内部電極層、前記第2の内部電極層および前記中間電極層のうねり量よりも大きい、積層セラミックコンデンサ。
続きを表示(約 1,400 文字)
【請求項2】
前記中間ギャップにおける前記中間電極層のうねり量は、100.1%以上100.8%以下である、請求項1に記載の積層セラミックコンデンサ。
【請求項3】
前記有効層部における前記第1の内部電極層、前記第2の内部電極層および前記中間電極層のうねり量は、100.5%以下である、請求項1または請求項2に記載の積層セラミックコンデンサ。
【請求項4】
前記中間ギャップの前記長さ方向の距離は、前記第1の引き出し部および前記第2の引き出し部の前記長さ方向の距離よりも長い、請求項1または請求項2に記載の積層セラミックコンデンサ。
【請求項5】
前記中間電極層は、第1の中間電極層と、第2の中間電極層と、を含み、
前記第1の中間電極層は、積層方向に隣り合って配置された前記第1の内部電極層と対向する第1電極層側対向部と、積層方向に隣り合って配置された前記第2の中間電極層と対向する第1の中間電極層対向部とを有し、
前記第2の中間電極層は、積層方向に隣り合って配置された前記第2の内部電極層と対向する第2電極層側対向部と、積層方向に隣り合って配置された前記第1の中間電極層と対向する第2の中間電極層対向部とを有し、
前記中間ギャップは、前記第1の内部電極層と前記第2の中間電極層との間に位置する第1の中間ギャップと、前記第2の内部電極層と前記第1の中間電極層との間に位置する第2の中間ギャップと、を有し、
前記第1の中間ギャップおよび前記第2の中間ギャップにおける前記中間電極層のうねり量は、前記有効層部における前記第1の内部電極層、前記第2の内部電極層および前記中間電極層のうねり量よりも大きい、請求項1に記載の積層セラミックコンデンサ。
【請求項6】
前記中間電極層は、第1の中間電極層と、第2の中間電極層と、第3の中間電極層と、を含み、
前記第1の中間電極層は、積層方向に隣り合って配置された前記第1の内部電極層と対向する第1電極層側対向部と、積層方向に隣り合って配置された前記第3の中間電極層と対向する第1の中間電極層対向部とを有し、
前記第2の中間電極層は、積層方向に隣り合って配置された前記第2の内部電極層と対向する第2電極層側対向部と、積層方向に隣り合って配置された前記第3の中間電極層と対向する第2の中間電極層対向部とを有し、
前記第3の中間電極層は、積層方向に隣り合って配置された前記第1の中間電極層と対向する第3の中間電極層対向部と、積層方向に隣り合って配置された前記第2の中間電極層と対向する第4の中間電極層対向部とを有し、
前記中間ギャップは、前記第1の内部電極層と前記第3の中間電極層との間に位置する第1の中間ギャップと、前記第2の内部電極層と前記第3の中間電極層との間に位置する第2の中間ギャップと、前記第1の中間電極層と前記第2の中間電極層との間に位置する第3の中間ギャップと、を有し、
前記第1の中間ギャップ、前記第2の中間ギャップおよび前記第3の中間ギャップにおける前記中間電極層のうねり量は、前記有効層部における前記第1の内部電極層、前記第2の内部電極層および前記中間電極層のうねり量よりも大きい、請求項1に記載の積層セラミックコンデンサ。
発明の詳細な説明
【技術分野】
【0001】
本発明は、積層セラミックコンデンサに関する。
続きを表示(約 2,800 文字)
【背景技術】
【0002】
積層セラミックコンデンサにおいては、高耐圧化が求められる場合がある。高耐圧化を実現する積層セラミックコンデンサとして、直列接続の複数のコンデンサ部が形成された構造、いわゆるシリーズ構造の積層セラミックコンデンサが知られている。(特許文献1参照)。
【先行技術文献】
【特許文献】
【0003】
特開2012-209495号公報
【発明の概要】
【発明が解決しようとする課題】
【0004】
シリーズ構造の積層セラミックコンデンサにおいては、直列接続の複数のコンデンサ部が形成される分、静電容量は低下する。静電容量を高めるためには、内部電極層の積層枚数を増やす必要があるが、内部電極層の積層枚数を増やすと、誘電体に電界をかけたときにひずみを生じる現象である電歪効果によるクラックや音鳴きが発生しやすくなるという課題があった。
【0005】
本発明は、高耐圧仕様の積層セラミックコンデンサにおいて、電歪効果によるクラックや音鳴きの発生を抑制することが可能な積層セラミックコンデンサを提供することを目的とする。
【課題を解決するための手段】
【0006】
本発明の積層セラミックコンデンサは、積層された複数の誘電体層と積層された複数の内部電極層とを含み、積層方向に相対する第1の主面および第2の主面と、積層方向に直交する幅方向に相対する第1の側面および第2の側面と、積層方向および幅方向に直交する長さ方向に相対する第1の端面および第2の端面と、を含む積層体と、前記第1の端面上に配置される第1の外部電極と、前記第2の端面上に配置される第2の外部電極と、を有する積層セラミックコンデンサであって、前記複数の内部電極層は、第1の内部電極層と、第2の内部電極層と、中間電極層と、を含み、前記第1の内部電極層は、その一方端部が前記第1の端面に引き出されて前記第1の外部電極と接続する第1の引き出し部と、前記第1の引き出し部に接続され、積層方向に隣り合って配置された内部電極層と対向する第1の対向部とを有し、前記第2の内部電極層は、その一方端部が前記第2の端面に引き出されて前記第2の外部電極と接続する第2の引き出し部と、前記第2の引き出し部に接続され、積層方向に隣り合って配置された内部電極層と対向する第2の対向部とを有し、前記中間電極層は、前記第1の外部電極にも前記第2の外部電極にも接続されておらず、前記第1の内部電極層および前記第2の内部電極層と共に直列接続のコンデンサ素子を形成する内部電極層であり、前記積層体は、前記誘電体層と前記内部電極層とが交互に積層された内層部と、前記内層部の前記第1の側面側に配置され、前記誘電体層のみが積層された第1の側面側外層部と、前記内層部の前記第2の側面側に配置され、前記誘電体層のみが積層された第2の側面側外層部と、を有し、前記内層部は、前記第1の内部電極層、前記第2の内部電極層および前記中間電極層のうちの2層が前記誘電体層を挟んで交互に積層された有効層部と、前記内層部の前記第1の端面側に配置され、前記誘電体層と前記第1の内部電極層とが交互に積層された第1の端面側外層部と、前記内層部の前記第2の端面側に配置され、前記誘電体層と前記第2の内部電極層とが交互に積層された第2の端面側外層部と、前記誘電体層と前記中間電極層とが交互に積層された中間ギャップと、を有し、長さ方向および積層方向に平行な面での断面において、所定領域における内部電極層の長さ方向の直線距離(L0)に対する、所定領域における内部電極層の断面形状に沿って測定した長さ(L1)の比率(L1/L0)をうねり量とした場合に、前記中間ギャップにおける前記中間電極層のうねり量は、前記有効層部における前記第1の内部電極層、前記第2の内部電極層および前記中間電極層のうねり量よりも大きい。
【発明の効果】
【0007】
本発明によれば、高耐圧仕様の積層セラミックコンデンサにおいて、電歪効果によるクラックや音鳴きの発生を抑制することが可能な積層セラミックコンデンサを提供できる。
【図面の簡単な説明】
【0008】
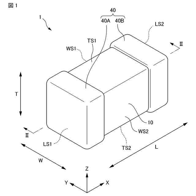
第1の実施形態に係る2連構造の積層セラミックコンデンサの外観斜視図である。
図1のII-II断面図であって、第1の実施形態に係る2連構造の積層体の概略構成を説明するための図である。
図2のIII-III断面図である。
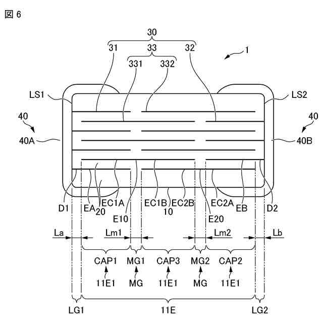
図2のIVA-IVA断面図であって、第1の内部電極層および第2の内部電極層に沿った断面図である。
図2のIVB-IVB断面図であって、中間電極層に沿った断面図である。
直列接続領域MGにおける中間電極層を模式的に示した断面図である。
第2の実施形態に係る3連構造の積層セラミックコンデンサの概略構成を説明するための模式図である。
第3の実施形態に係る4連構造の積層セラミックコンデンサの概略構成を説明するための模式図である。
【発明を実施するための形態】
【0009】
<第1の実施形態>
図面を参照しながら本開示の第1の実施形態に係る2連構造の積層セラミック電子部品としての積層セラミックコンデンサ1について説明する。図1は、第1の実施形態に係る2連構造の積層セラミックコンデンサ1の外観斜視図である。図2は、図1のII-II断面図であって、第1の実施形態に係る2連構造の積層体の概略構成を説明するための図である。図3は、図2のIII-III断面図である。図4Aは、図2のIVA-IVA断面図であって、第1の内部電極層および第2の内部電極層に沿った断面図である。図4Bは、図2のIVB-IVB断面図であって、中間電極層に沿った断面図である。
【0010】
なお、図面は、発明の内容を説明するため、模式的に簡略化して描画している場合があり、描画された構成要素または構成要素間の寸法の比率が、明細書に記載されたそれらの寸法の比率と一致していない場合がある。また、明細書に記載されている構成要素が、図面において省略されている場合や、個数を省略して描画されている場合などがある。例えば、図2、図3に記述される内部電極層の数は、説明の便宜上、7層となっているが、これは、実際の内部電極層30の数を示すものではない。なお、本発明において用いる、形状や幾何学的条件、および、それらの程度を特定する用語、例えば、「平行」、「直交」、「同一」等の用語や長さや角度の値等については、厳密な意味に縛られることなく、同様の機能を期待し得る程度の範囲を含めて解釈することとする。
(【0011】以降は省略されています)
この特許をJ-PlatPat(特許庁公式サイト)で参照する
関連特許
株式会社村田製作所
電池
1か月前
株式会社村田製作所
釣り具
1か月前
株式会社村田製作所
測定装置
29日前
株式会社村田製作所
二次電池
21日前
株式会社村田製作所
移相回路
27日前
株式会社村田製作所
電子部品
1か月前
株式会社村田製作所
電池パック
29日前
株式会社村田製作所
コイル部品
15日前
株式会社村田製作所
コイル部品
27日前
株式会社村田製作所
コイル部品
27日前
株式会社村田製作所
高周波回路
28日前
株式会社村田製作所
電子聴診器
27日前
株式会社村田製作所
ネブライザ
27日前
株式会社村田製作所
噴霧ノズル
1か月前
株式会社村田製作所
電力増幅回路
7日前
株式会社村田製作所
フィルタ装置
28日前
株式会社村田製作所
フィルタ回路
1か月前
株式会社村田製作所
フィルタ装置
1日前
株式会社村田製作所
電力システム
16日前
株式会社村田製作所
外観検査装置
7日前
株式会社村田製作所
圧力センサ装置
29日前
株式会社村田製作所
複合型電子部品
1か月前
株式会社村田製作所
積層インダクタ
1か月前
株式会社村田製作所
電池モジュール
27日前
株式会社村田製作所
インダクタ部品
1か月前
株式会社村田製作所
弾性波フィルタ
1か月前
株式会社村田製作所
インダクタ部品
9日前
株式会社村田製作所
伸縮性コイル部品
14日前
株式会社村田製作所
積層体の切断装置
1日前
株式会社村田製作所
呼吸検出システム
1か月前
株式会社村田製作所
高周波モジュール
7日前
株式会社村田製作所
電子部品包装装置
29日前
株式会社村田製作所
積層体の切断装置
1日前
株式会社村田製作所
コンデンサモジュール
27日前
株式会社村田製作所
造粒粉及びインダクタ
28日前
株式会社村田製作所
ファブリペロー干渉計
28日前
続きを見る
他の特許を見る