TOP
|
特許
|
意匠
|
商標
特許ウォッチ
Twitter
他の特許を見る
公開番号
2025138203
公報種別
公開特許公報(A)
公開日
2025-09-25
出願番号
2024037148
出願日
2024-03-11
発明の名称
電池
出願人
株式会社村田製作所
代理人
弁理士法人酒井国際特許事務所
主分類
H01M
50/184 20210101AFI20250917BHJP(基本的電気素子)
要約
【課題】電池の容量の増加を図ること。
【解決手段】電池1は、正極端子11および負極端子12が位置する第1面を有する電極体10と、電極体10を収容する外装部材20と、を備える。外装部材20は、第1面と対向し且つ貫通穴31aを有する平板状の第1側部31、第1側部31と反対側に位置する平板状の第2側部32、および、第1側部31と第2側部32とを接続する平板状の第3側部33を有する箱状であり、負極端子12と電気的に接続する箱部材30と、第1側部31側から見た平面視において、貫通穴31aの内側に第1側部31から離間した状態で配置され、正極端子11と電気的に接続する板部材40と、第1側部31側から見た平面視において、第1側部31、板部材40、および、第1側部31と板部材40と間の隙間Gと重なり、隙間Gを封止する封止体50と、を備える。
【選択図】図2
特許請求の範囲
【請求項1】
正極端子および負極端子が位置する第1面を有する電極体と、
前記電極体を収容する外装部材と、を備え、
前記外装部材は、
前記第1面と対向し且つ貫通穴を有する平板状の第1側部、前記電極体を挟んで前記第1側部と反対側に位置する平板状の第2側部、および、前記第1側部と前記第2側部とを接続する平板状の第3側部を有する箱状であり、前記負極端子と電気的に接続する箱部材と、
前記第1側部側から見た平面視において、前記貫通穴の内側に前記第1側部から離間した状態で配置され、前記正極端子と電気的に接続する板部材と、
前記第1側部側から見た平面視において、前記第1側部、前記板部材、および、前記第1側部と前記板部材と間の隙間と重なり、前記隙間を封止する封止体と、を備える、
電池。
続きを表示(約 270 文字)
【請求項2】
前記封止体は、
基材層と、
前記基材層と重なり、前記第1側部および前記板部材と前記基材層とを接合する接合層と、を有する、
請求項1に記載の電池。
【請求項3】
前記接合層の材料は、熱可塑性樹脂である、
請求項2に記載の電池。
【請求項4】
前記封止体は、前記第1側部の外表面に配置される、
請求項1に記載の電池。
【請求項5】
前記外装部材の内圧が所定圧力以上である場合、前記封止体は開裂する、
請求項1に記載の電池。
発明の詳細な説明
【技術分野】
【0001】
本開示は、電池に関する。
続きを表示(約 1,300 文字)
【背景技術】
【0002】
特許文献1には、電池の一例として、開口部を有する電池ケース、開口部を封止する封口板、電池ケースに収容される極板群を備える角型電池が開示されている。極板群の正極リードは、封口板に電気的に接続される。極板群の負極リードは、封口板と電気的に絶縁された状態で封口板を貫通する外部端子に内部端子を介して電気的に接続される。また、特許文献1の角型電池は、外部端子および内部端子と封口板とを電気的に絶縁するガスケットおよび絶縁体枠をさらに備える。
【先行技術文献】
【特許文献】
【0003】
特開2003-242957号公報
【発明の概要】
【発明が解決しようとする課題】
【0004】
特許文献1の電池において、極板群(電極体)が収容される電池ケースの内側に内部端子および絶縁体枠が配置される。この場合、電池ケースの容積に対して電極体の体積が小さくなり、電池の容量が小さくなる。一方で、電池の容量を増加させたい要望がある。
【0005】
本開示は、上記に鑑みてなされたものであって、電池の容量の増加を図ることを目的とする。
【課題を解決するための手段】
【0006】
本開示の電池は、正極端子および負極端子が位置する第1面を有する電極体と、前記電極体を収容する外装部材と、を備え、前記外装部材は、前記第1面と対向し且つ貫通穴を有する平板状の第1側部、前記電極体を挟んで前記第1側部と反対側に位置する平板状の第2側部、および、前記第1側部と前記第2側部とを接続する平板状の第3側部を有する箱状であり、前記負極端子と電気的に接続する箱部材と、前記第1側部側から見た平面視において、前記貫通穴の内側に前記第1側部から離間した状態で配置され、前記正極端子と電気的に接続する板部材と、前記第1側部側から見た平面視において、前記第1側部、前記板部材、および、前記第1側部と前記板部材と間の隙間と重なり、前記隙間を封止する封止体と、を備える。
【発明の効果】
【0007】
本開示の電池によれば、電池の容量の増加を図ることができる。
【図面の簡単な説明】
【0008】
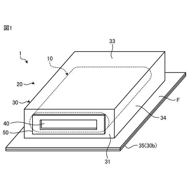
図1は、本開示の実施形態に係る電池の斜視図である。
図2は、図1に示す電池の分解斜視図である。
図3は、図1に示す電池の断面図である。
図4は、第1側部側から見た電池の平面視を示す図である。
図5は、図3に示す封止体の部分拡大断面図である。
図6は、本開示の実施形態の変形例に係る電池の分解斜視図である。
【発明を実施するための形態】
【0009】
以下に、実施の形態を図面に基づいて詳細に説明する。なお、この実施の形態により本開示が限定されるものではない。各実施の形態は例示であり、異なる実施の形態で示した構成の部分的な置換又は組み合わせが可能であることは言うまでもない。
【0010】
図1は、本開示の実施形態に係る電池1の斜視図である。図2は、図1に示す電池1の分解斜視図である。図3は、図1に示す電池1の断面図である。
(【0011】以降は省略されています)
この特許をJ-PlatPat(特許庁公式サイト)で参照する
関連特許
株式会社村田製作所
二次電池
22日前
株式会社村田製作所
電池パック
今日
株式会社村田製作所
コイル部品
16日前
株式会社村田製作所
電子聴診器
28日前
株式会社村田製作所
ネブライザ
28日前
株式会社村田製作所
電力システム
17日前
株式会社村田製作所
外観検査装置
8日前
株式会社村田製作所
電力増幅回路
8日前
株式会社村田製作所
フィルタ装置
2日前
株式会社村田製作所
インダクタ部品
10日前
株式会社村田製作所
インダクタ部品
今日
株式会社村田製作所
インダクタ部品
今日
株式会社村田製作所
インダクタ部品
今日
株式会社村田製作所
インダクタ部品
今日
株式会社村田製作所
インダクタ部品
今日
株式会社村田製作所
正極及び二次電池
今日
株式会社村田製作所
高周波モジュール
8日前
株式会社村田製作所
伸縮性コイル部品
15日前
株式会社村田製作所
積層体の切断装置
2日前
株式会社村田製作所
積層体の切断装置
2日前
株式会社村田製作所
積層セラミック電子部品
14日前
株式会社村田製作所
積層セラミックコンデンサ
今日
株式会社村田製作所
積層セラミックコンデンサ
今日
株式会社村田製作所
熱拡散デバイス及び電子機器
2日前
株式会社村田製作所
二次電池用負極および二次電池
15日前
株式会社村田製作所
コイル部品およびその製造方法
今日
株式会社村田製作所
高周波モジュール及び通信装置
8日前
株式会社村田製作所
インダクタ部品およびバックコンバータ
今日
株式会社村田製作所
聴診デバイスおよび聴診システムに関する。
28日前
株式会社村田製作所
積層セラミックコンデンサおよびその製造方法
3日前
株式会社村田製作所
筋振動検知センサ、電気刺激装置及び筋振動検知方法
3日前
株式会社村田製作所
電子部品
2日前
株式会社村田製作所
光変調器
2日前
株式会社村田製作所
二次電池
24日前
株式会社村田製作所
光変調器
2日前
株式会社村田製作所
光変調器
2日前
続きを見る
他の特許を見る