TOP
|
特許
|
意匠
|
商標
特許ウォッチ
Twitter
他の特許を見る
10個以上の画像は省略されています。
公開番号
2025167835
公報種別
公開特許公報(A)
公開日
2025-11-07
出願番号
2024072783
出願日
2024-04-26
発明の名称
積層セラミックコンデンサ
出願人
株式会社村田製作所
代理人
弁理士法人深見特許事務所
主分類
H01G
4/30 20060101AFI20251030BHJP(基本的電気素子)
要約
【課題】実装後の信頼性の向上が図られた積層セラミックコンデンサを提供する。
【解決手段】積層セラミックコンデンサ100において、第1外部電極120は、端面側第1外部電極、主面側第1外部電極、側面側第1外部電極及び稜線部側第1外部電極124と、を含む。主面側第1外部電極及び側面側第1外部電極のうちの少なくとも一方は、長さ方向Lにおける素体部110の中央部側に向けて稜線部側第1外部電極124よりも突出した第1突出部122a1を有している。第1主面111と第2主面との間の最大距離をT0とした場合、T0は2.5mm以上である。第1側面113と第2側面114との間の最大距離をW0とした場合、W0は2.5mm以上である。第1突出部122a1の最大突出長さをP1とした場合、下記式(1)及び(2)を充足する。
0.01×T0≦P1≦0.06×T0・・・(1)
0.01×W0≦P1≦0.06×W0・・・(2)
【選択図】図4
特許請求の範囲
【請求項1】
積層方向に積層された複数の誘電体層および複数の内部電極層を含み、かつ、前記積層方向に相対する第1主面および第2主面、前記積層方向に直交する幅方向に相対する第1側面および第2側面、ならびに、前記積層方向および前記幅方向に直交する長さ方向に相対する第1端面および第2端面を有する素体部と、
前記第1端面から前記第1主面、前記第2主面、前記第1側面および前記第2側面の各々に延設され、前記複数の内部電極層のうちの一部の内部電極層と電気的に接続された第1外部電極とを備え、
前記素体部は、前記第1主面、前記第2主面、前記第1側面および前記第2側面のうちの互いに隣り合う2つの面が交わる部分である稜線部を含み、
前記第1外部電極は、
前記第1端面を覆う端面側第1外部電極と、
前記端面側第1外部電極に接続され、前記第1主面の一部および前記第2主面の一部を覆う主面側第1外部電極と、
前記端面側第1外部電極に接続され、前記第1側面の一部および前記第2側面の一部を覆う側面側第1外部電極と、
前記端面側第1外部電極に接続され、前記稜線部を覆う稜線部側第1外部電極とを含み、
前記主面側第1外部電極および前記側面側第1外部電極のうちの少なくとも一方は、前記長さ方向における前記素体部の中央部側に向けて前記稜線部側第1外部電極よりも突出した第1突出部を有し、
前記第1主面と前記第2主面との間の最大距離をT0とした場合に、前記T0は2.5mm以上であり、
前記第1側面と前記第2側面との間の最大距離をW0とした場合に、前記W0は2.5mm以上であり、
前記第1突出部の最大突出長さをP1とした場合に、下記式(1)および(2)を充足する、積層セラミックコンデンサ。
0.01×T0≦P1≦0.06×T0・・・(1)
0.01×W0≦P1≦0.06×W0・・・(2)
続きを表示(約 1,000 文字)
【請求項2】
前記第1端面と前記第2端面との間の最大距離をL0とし、前記端面側第1外部電極の最大厚みをt1とした場合に、t1≦0.008×L0の条件を満たす、請求項1に記載の積層セラミックコンデンサ。
【請求項3】
前記主面側第1外部電極の最大厚みをt2とし、前記側面側第1外部電極の最大厚みをt3とした場合に、下記式(3)および(4)のうちの少なくとも一方を充足する、請求項1に記載の積層セラミックコンデンサ。
0.008×T0≦t2・・・(3)
0.008×W0≦t3・・・(4)
【請求項4】
前記主面側第1外部電極を前記幅方向において4等分してなる前記主面側第1外部電極の4つの部分の各々の前記長さ方向の平均寸法において互いに隣り合う部分同士の前記平均寸法を比較した際の変化率は、20%以下である、請求項1に記載の積層セラミックコンデンサ。
【請求項5】
前記側面側第1外部電極を前記積層方向において4等分してなる前記側面側第1外部電極の4つの部分の各々の前記長さ方向の平均寸法において互いに隣り合う部分同士の前記平均寸法を比較した際の変化率は、20%以下である、請求項1に記載の積層セラミックコンデンサ。
【請求項6】
前記第2端面から前記第1主面、前記第2主面、前記第1側面および前記第2側面の各々に延設され、前記複数の内部電極層のうちの他の一部の内部電極層と電気的に接続された第2外部電極をさらに備え、
前記第2外部電極は、
前記第2端面を覆う端面側第2外部電極と、
前記端面側第2外部電極に接続され、前記第1主面の一部および前記第2主面の一部を覆う主面側第2外部電極と、
前記端面側第2外部電極に接続され、前記第1側面の一部および前記第2側面の一部を覆う側面側第2外部電極と、
前記端面側第2外部電極に接続され、前記稜線部を覆う稜線部側第2外部電極とを含み、
前記主面側第2外部電極および前記側面側第2外部電極のうちの少なくとも一方は、前記長さ方向における前記素体部の前記中央部側に向けて前記稜線部側第2外部電極よりも突出した第2突出部を有し、
前記第2突出部の最大突出長さをP2とした場合に、前記P1および前記P2のうちの一方が他方よりも小さい、請求項1に記載の積層セラミックコンデンサ。
【請求項7】
前記第1端面および前記第2端面の各々の中央部は凹んでいる、請求項1に記載の積層セラミックコンデンサ。
発明の詳細な説明
【技術分野】
【0001】
本発明は、積層セラミックコンデンサに関する。
続きを表示(約 2,300 文字)
【背景技術】
【0002】
積層セラミックコンデンサの構成が開示された先行技術文献として、特開2005-19921号公報(特許文献1)がある。当該特許文献1に記載された積層セラミックコンデンサは、誘電体層と内部電極層とが交互に複数層積層された略直方体形状の素体部と、素体部の長さ方向における一対の端面に設けられた外部電極とを備えている。
【0003】
外部電極は、素体部の端面を覆うだけでなく、この端面から素体部の4つの外周面の各々に延設されている。積層セラミックコンデンサは、外部電極に接合される半田を介して絶縁基板に実装される。
【先行技術文献】
【特許文献】
【0004】
特開2005-19921号
【発明の概要】
【発明が解決しようとする課題】
【0005】
ここで、絶縁基板に実装された積層セラミックコンデンサにあっては、外部から印加される熱等の影響によって絶縁基板に反りが生じた場合に、外部電極に応力が発生する。この応力は、特に、素体部の外周面に延設された部分の外部電極のうちの、上記長さ方向における素体部の中央部側に位置する端部に集中し易い。
【0006】
その結果、積層セラミックコンデンサにあっては、上記端部を起点とした破損が生じてしまう問題が発生し得る。この問題は、素体部の端面が相当程度に大きく構成された積層セラミックコンデンサにおいて特に顕著となる。
【0007】
したがって、本発明は、上述した問題を解決すべくなされたものであり、実装後の信頼性の向上が図られた積層セラミックコンデンサを提供することを目的とする。
【課題を解決するための手段】
【0008】
本発明に基づく積層セラミックコンデンサは、素体部と、第1外部電極とを備えている。上記素体部は、積層方向に積層された複数の誘電体層および複数の内部電極層を含んでいる。上記素体部は、上記積層方向に相対する第1主面および第2主面、上記積層方向に直交する幅方向に相対する第1側面および第2側面、ならびに、上記積層方向および上記幅方向に直交する長さ方向に相対する第1端面および第2端面を有している。上記第1外部電極は、上記第1端面から上記第1主面、上記第2主面、上記第1側面および上記第2側面の各々に延設されている。上記第1外部電極は、上記複数の内部電極層のうちの一部の内部電極層と電気的に接続されている。上記素体部は、上記第1主面、上記第2主面、上記第1側面および上記第2側面のうちの互いに隣り合う2つの面が交わる部分である稜線部を含んでいる。上記第1外部電極は、端面側第1外部電極と、主面側第1外部電極と、側面側第1外部電極と、稜線部側第1外部電極とを含んでいる。上記端面側第1外部電極は、上記第1端面を覆っている。上記主面側第1外部電極は、上記端面側第1外部電極に接続され、上記第1主面の一部および上記第2主面の一部を覆っている。上記側面側第1外部電極は、上記端面側第1外部電極に接続され、上記第1側面の一部および上記第2側面の一部を覆っている。上記稜線部側第1外部電極は、上記端面側第1外部電極に接続され、上記稜線部を覆っている。上記主面側第1外部電極および上記側面側第1外部電極のうちの少なくとも一方は、上記長さ方向における上記素体部の中央部側に向けて上記稜線部側第1外部電極よりも突出した第1突出部を有している。上記第1主面と上記第2主面との間の最大距離をT0とした場合に、上記T0は2.5mm以上である。上記第1側面と上記第2側面との間の最大距離をW0とした場合に、上記W0は2.5mm以上である。上記第1突出部の最大突出長さをP1とした場合に、下記式(1)および(2)を充足する。
0.01×T0≦P1≦0.06×T0・・・(1)
0.01×W0≦P1≦0.06×W0・・・(2)
【発明の効果】
【0009】
本発明によれば、実装後の信頼性の向上が図られた積層セラミックコンデンサを提供することができる。
【図面の簡単な説明】
【0010】
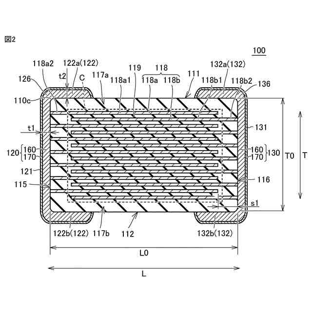
実施の形態に係る積層セラミックコンデンサの外観を模式的に示す斜視図である。
図1に示す積層セラミックコンデンサのII-II線に沿った模式断面図である。
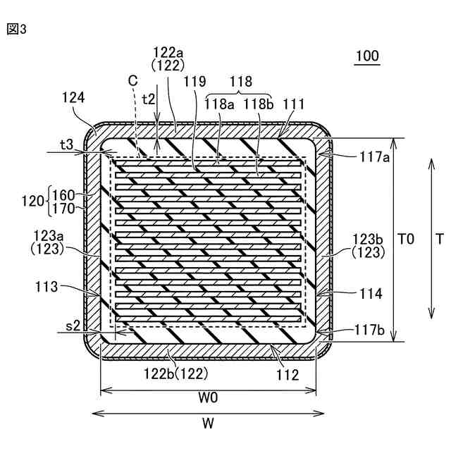
図1に示す積層セラミックコンデンサのIII-III線に沿った模式断面図である。
図1中に示す矢印IV方向から見た積層セラミックコンデンサの模式平面図である。
図4に示す積層セラミックコンデンサの一部を拡大した部分拡大図である。
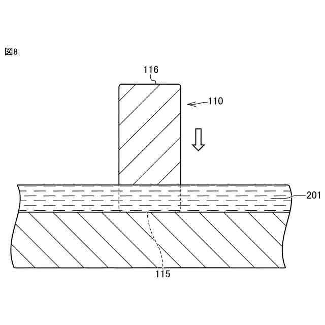
実施の形態に係る積層セラミックコンデンサの製造方法を示すフロー図である。
図6に示す製造フローの工程S81を説明するための模式断面図である。
図6に示す製造フローの工程S81を説明するための模式断面図である。
図6に示す製造フローの工程S81を説明するための模式断面図である。
図6に示す製造フローの工程S82を説明するための模式断面図である。
図6に示す製造フローの工程S82を説明するための模式断面図である。
第1変形例に係る積層セラミックコンデンサの模式断面図である。
第2変形例に係る積層セラミックコンデンサの模式平面図である。
【発明を実施するための形態】
(【0011】以降は省略されています)
この特許をJ-PlatPat(特許庁公式サイト)で参照する
関連特許
株式会社村田製作所
二次電池
1か月前
株式会社村田製作所
切断装置
1日前
株式会社村田製作所
移相回路
1か月前
株式会社村田製作所
電池パック
1か月前
株式会社村田製作所
コイル部品
1か月前
株式会社村田製作所
電池パック
22日前
株式会社村田製作所
コイル部品
1か月前
株式会社村田製作所
弾性波装置
2日前
株式会社村田製作所
ネブライザ
1か月前
株式会社村田製作所
電子聴診器
1か月前
株式会社村田製作所
高周波回路
1か月前
株式会社村田製作所
コイル部品
1か月前
株式会社村田製作所
フィルタ装置
24日前
株式会社村田製作所
電力システム
1か月前
株式会社村田製作所
電力増幅回路
1か月前
株式会社村田製作所
外観検査装置
1か月前
株式会社村田製作所
フィルタ装置
1か月前
株式会社村田製作所
超音波ノズル
1日前
株式会社村田製作所
インダクタ部品
22日前
株式会社村田製作所
インダクタ部品
1か月前
株式会社村田製作所
インダクタ部品
22日前
株式会社村田製作所
インダクタ部品
22日前
株式会社村田製作所
インダクタ部品
22日前
株式会社村田製作所
インダクタ部品
22日前
株式会社村田製作所
指装着デバイス
15日前
株式会社村田製作所
インダクタ部品
10日前
株式会社村田製作所
インダクタ部品
10日前
株式会社村田製作所
電池モジュール
1か月前
株式会社村田製作所
高周波電力増幅器
1日前
株式会社村田製作所
伸縮性コイル部品
1か月前
株式会社村田製作所
積層体の切断装置
24日前
株式会社村田製作所
健康管理システム
3日前
株式会社村田製作所
積層体の切断装置
24日前
株式会社村田製作所
高周波モジュール
1か月前
株式会社村田製作所
正極及び二次電池
22日前
株式会社村田製作所
高周波電力増幅器
1日前
続きを見る
他の特許を見る