TOP
|
特許
|
意匠
|
商標
特許ウォッチ
Twitter
他の特許を見る
10個以上の画像は省略されています。
公開番号
2025167296
公報種別
公開特許公報(A)
公開日
2025-11-07
出願番号
2024071775
出願日
2024-04-25
発明の名称
インダクタ部品
出願人
株式会社村田製作所
代理人
個人
,
個人
主分類
H01F
17/00 20060101AFI20251030BHJP(基本的電気素子)
要約
【課題】被覆絶縁層の破損を抑制しつつ直流抵抗を低減可能なインダクタ部品を提供する。
【解決手段】インダクタ部品は、基部上面を有する基部絶縁層と、基部上面に設けられ、上下方向に沿った旋回軸の周りに延びる第1壁部と、基部上面に設けられ、旋回軸の周りに第1壁部に並行して延びる第2壁部と、基部上面において第1壁部と第2壁部との間に位置し、上下方向において基部絶縁層に接触する面に対する反対面である導体上面を有する配線導体と、導体上面に積層された被覆絶縁層と、磁性体とを備える。被覆絶縁層は、平面視において配線導体に重なっている被覆部と、旋回軸に対する径方向において、第1壁部に対して被覆部とは反対側に位置する突出部とを有する。突出部の厚みは、被覆部の厚みよりも大きい。
【選択図】図2
特許請求の範囲
【請求項1】
基部上面を有する基部絶縁層と、
前記基部上面に設けられ、前記基部上面に交差する上下方向に沿った旋回軸の周りに延びる第1壁部と、
前記基部上面に設けられ、前記旋回軸の周りに前記第1壁部に並行して延びる第2壁部と、
前記基部上面において前記第1壁部と前記第2壁部との間に位置し、前記上下方向において前記基部絶縁層に接触する面に対する反対面である導体上面を有する配線導体と、
前記導体上面に積層された被覆絶縁層と、
前記基部絶縁層、前記第1壁部、前記第2壁部、前記配線導体、及び前記被覆絶縁層を覆う磁性体と、
を備え、
前記被覆絶縁層は、
前記上下方向から見た平面視において前記配線導体に重なっている被覆部と、
前記旋回軸に対する径方向において、前記第1壁部に対して前記被覆部とは反対側に位置する突出部と、
を有し、
前記突出部の前記上下方向における寸法である厚みは、前記被覆部の前記厚みよりも大きい、
インダクタ部品。
続きを表示(約 1,400 文字)
【請求項2】
前記第1壁部及び前記第2壁部の前記厚みは、前記配線導体の前記厚みよりも大きい、請求項1に記載のインダクタ部品。
【請求項3】
前記第1壁部は、前記配線導体に接触する内壁面と、前記内壁面に対する反対面であって前記磁性体に接触する外壁面とを有し、
前記被覆絶縁層は、前記径方向を向く面であって、前記径方向において前記外壁面よりも前記第2壁部の近くに位置する被覆側面を有する、
請求項1又は2に記載のインダクタ部品。
【請求項4】
前記被覆絶縁層は、前記上下方向において前記基部絶縁層を向く被覆下面と、前記被覆下面に対する反対面である被覆上面とを有し、
前記被覆上面は、前記被覆下面よりも平滑である、
請求項1又は2に記載のインダクタ部品。
【請求項5】
前記被覆部は、前記配線導体に接触する被覆部下面を有し、
前記突出部は、前記上下方向において前記基部絶縁層を向く突出部下面を有し、
前記被覆部下面の表面粗さは、前記突出部下面の表面粗さとは異なる、
請求項4に記載のインダクタ部品。
【請求項6】
前記突出部は、前記径方向を向く突出部側面を有し、
前記突出部側面は、前記配線導体が延びる方向に対して交差する断面において、傾きの異なる複数の直線部を有する、
請求項1又は2に記載のインダクタ部品。
【請求項7】
前記突出部は、前記径方向を向く突出部側面を有し、
前記突出部側面は、前記配線導体が延びる方向に対して交差する断面において、直線部と曲線部とを有する、
請求項1又は2に記載のインダクタ部品。
【請求項8】
前記突出部は、前記上下方向において前記基部絶縁層を向く突出部下面を有し、
前記突出部下面は、前記配線導体が延びる方向に対して交差する断面において、前記径方向において前記第1壁部に近づくに従って上向きに傾斜した傾斜部を有する、
請求項1又は2に記載のインダクタ部品。
【請求項9】
前記被覆絶縁層は、前記上下方向において前記基部絶縁層を向く被覆下面と、前記被覆下面に対する反対面である被覆上面とを有し、
前記被覆上面に設けられ、前記旋回軸の周りに延びる第3壁部と、
前記被覆上面に設けられ、前記旋回軸の周りに前記第3壁部に並行して延びる第4壁部と、
前記被覆上面において前記第3壁部と前記第4壁部との間に位置し、前記上下方向において前記被覆絶縁層に接触する面に対する反対面である上部導体上面を有する上部配線導体と、
を更に備え、
前記被覆絶縁層は、無機フィラーを含み、
前記被覆絶縁層の透明度は、前記第1壁部の透明度及び前記第2壁部の透明度よりも低く、
前記被覆絶縁層の前記厚みは、前記第1壁部の前記厚み及び前記第2壁部の前記厚みよりも小さい、
請求項1又は2に記載のインダクタ部品。
【請求項10】
前記磁性体の外面に設けられた外部端子と、
前記磁性体に設けられ、前記上下方向に沿って延び、前記外部端子と前記配線導体とを接続する接続配線と、
を更に備え、
前記配線導体の前記平面視における端部には、前記接続配線に接続されるパッド部が設けられる、
請求項1又は2に記載のインダクタ部品。
(【請求項11】以降は省略されています)
発明の詳細な説明
【技術分野】
【0001】
本開示は、インダクタ部品に関する。
続きを表示(約 2,300 文字)
【背景技術】
【0002】
特許文献1は、第1、第2、及び第3の磁性部材と、第1の磁性部材と第2の磁性部材との間に配置された複数の導体層と、複数の導体層の間にそれぞれ設けられた複数の絶縁樹脂層とを備える。複数の導体層は、それぞれスパイラル状に巻回されたスパイラルパターンを含む。第3の磁性部材は、スパイラルパターンの内径領域に埋め込まれている。複数の絶縁樹脂層は、内径領域に突出する突出部を有する。
【先行技術文献】
【特許文献】
【0003】
特開2022-152043号公報
【発明の概要】
【発明が解決しようとする課題】
【0004】
特許文献1のコイル部品には、被覆絶縁層の破損を抑制しつつ直流抵抗を低減させる点において、未だ改善の余地がある。
【0005】
本開示は、被覆絶縁層の破損を抑制しつつ直流抵抗を低減させることが可能なインダクタ部品を提供することを目的とする。
【課題を解決するための手段】
【0006】
本開示の一態様のインダクタ部品は、
基部上面を有する基部絶縁層と、
前記基部上面に設けられ、前記基部上面に交差する上下方向に沿った旋回軸の周りに延びる第1壁部と、
前記基部上面に設けられ、前記旋回軸の周りに前記第1壁部に並行して延びる第2壁部と、
前記基部上面において前記第1壁部と前記第2壁部との間に位置し、前記上下方向において前記基部絶縁層に接触する面に対する反対面である導体上面を有する配線導体と、
前記導体上面に積層された被覆絶縁層と、
前記基部絶縁層、前記第1壁部、前記第2壁部、前記配線導体、及び前記被覆絶縁層を覆う磁性体と、
を備え、
前記被覆絶縁層は、
前記上下方向から見た平面視において前記配線導体に重なっている被覆部と、
前記旋回軸に対する径方向において、前記第1壁部に対して前記被覆部とは反対側に位置する突出部と、
を有し、
前記突出部の厚みは、前記被覆部の厚みよりも大きい。
【発明の効果】
【0007】
前記態様のインダクタ部品によれば、被覆絶縁層の破損を抑制しつつ直流抵抗を低減させることができる。
【図面の簡単な説明】
【0008】
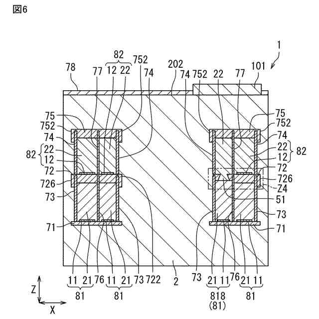
本開示の一態様のインダクタ部品を示す平面図。
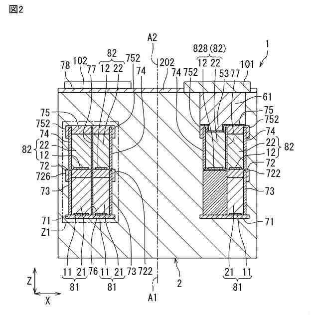
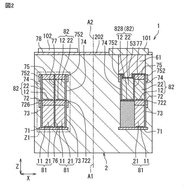
図1のII-II線に沿った断面図。
図1のインダクタ部品の第1インダクタ配線及び第3インダクタ配線の層を説明するための平面模式図。
図1のインダクタ部品の第2インダクタ配線及び第4インダクタ配線の層を説明するための平面模式図。
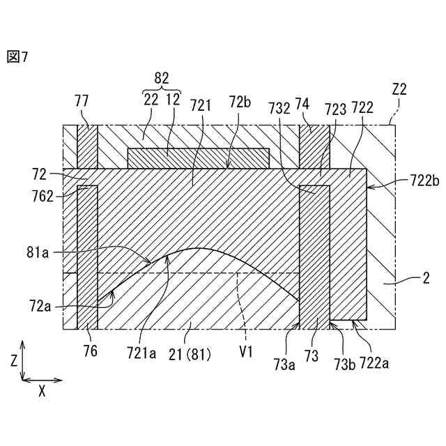
図2に示すZ1領域を拡大した断面図。
図1のVI-VI線に沿った断面図。
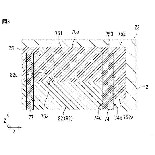
図5に示すZ2領域を拡大した断面図。
図5に示すZ3領域を拡大した断面図。
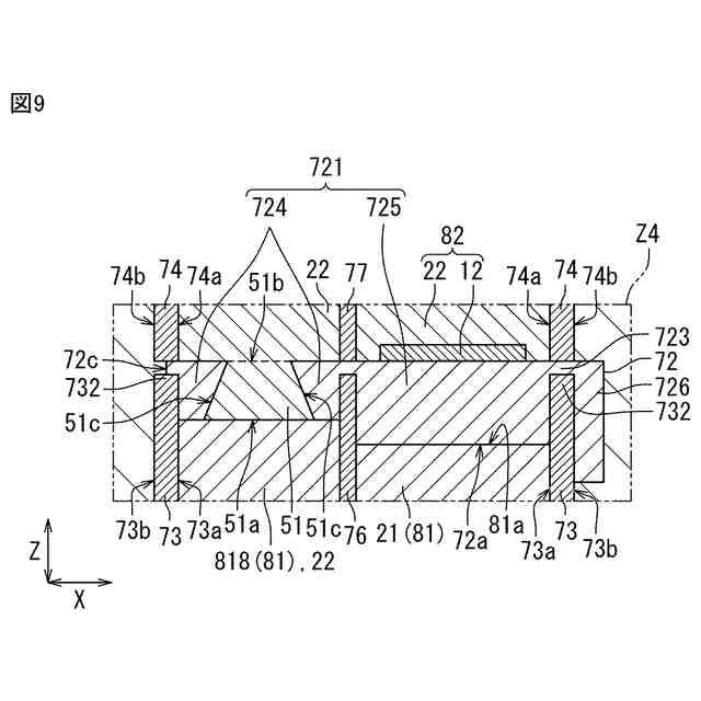
図6に示すZ4領域を拡大した断面図。
図1のインダクタ部品の第1の変形例を示す断面図。
図1のインダクタ部品の第2の変形例を示す断面図。
図1のインダクタ部品の第3の変形例を示す断面図。
図1のインダクタ部品の製造方法の一例を説明するための第1の図。
図1のインダクタ部品の製造方法の一例を説明するための第2の図。
図1のインダクタ部品の製造方法の一例を説明するための第3の図。
図1のインダクタ部品の製造方法の一例を説明するための第4の図。
図1のインダクタ部品の製造方法の一例を説明するための第5の図。
図1のインダクタ部品の製造方法の一例を説明するための第6の図。
図1のインダクタ部品の製造方法の一例を説明するための第7の図。
図1のインダクタ部品の製造方法の一例を説明するための第8の図。
図1のインダクタ部品の製造方法の一例を説明するための第9の図。
図1のインダクタ部品の製造方法の一例を説明するための第10の図。
【発明を実施するための形態】
【0009】
本開示の種々の態様について説明する。
【0010】
本開示の第1態様によれば、
基部上面を有する基部絶縁層と、
前記基部上面に設けられ、前記基部上面に交差する上下方向に沿った旋回軸の周りに延びる第1壁部と、
前記基部上面に設けられ、前記旋回軸の周りに前記第1壁部に並行して延びる第2壁部と、
前記基部上面において前記第1壁部と前記第2壁部との間に位置し、前記上下方向において前記基部絶縁層に接触する面に対する反対面である導体上面を有する配線導体と、
前記導体上面に積層された被覆絶縁層と、
前記基部絶縁層、前記第1壁部、前記第2壁部、前記配線導体、及び前記被覆絶縁層を覆う磁性体と、
を備え、
前記被覆絶縁層は、
前記上下方向から見た平面視において前記配線導体に重なっている被覆部と、
前記旋回軸に対する径方向において、前記第1壁部に対して前記被覆部とは反対側に位置する突出部と、
を有し、
前記突出部の前記上下方向における寸法である厚みは、前記被覆部の前記厚みよりも大きい、
インダクタ部品を提供する。
(【0011】以降は省略されています)
この特許をJ-PlatPat(特許庁公式サイト)で参照する
関連特許
株式会社村田製作所
二次電池
1か月前
株式会社村田製作所
切断装置
1日前
株式会社村田製作所
移相回路
1か月前
株式会社村田製作所
電子聴診器
1か月前
株式会社村田製作所
コイル部品
1か月前
株式会社村田製作所
電池パック
22日前
株式会社村田製作所
弾性波装置
2日前
株式会社村田製作所
コイル部品
1か月前
株式会社村田製作所
高周波回路
1か月前
株式会社村田製作所
ネブライザ
1か月前
株式会社村田製作所
コイル部品
1か月前
株式会社村田製作所
電力増幅回路
1か月前
株式会社村田製作所
外観検査装置
1か月前
株式会社村田製作所
電力システム
1か月前
株式会社村田製作所
フィルタ装置
24日前
株式会社村田製作所
フィルタ装置
1か月前
株式会社村田製作所
超音波ノズル
1日前
株式会社村田製作所
電池モジュール
1か月前
株式会社村田製作所
インダクタ部品
22日前
株式会社村田製作所
インダクタ部品
10日前
株式会社村田製作所
インダクタ部品
10日前
株式会社村田製作所
指装着デバイス
15日前
株式会社村田製作所
インダクタ部品
1か月前
株式会社村田製作所
インダクタ部品
22日前
株式会社村田製作所
インダクタ部品
22日前
株式会社村田製作所
インダクタ部品
22日前
株式会社村田製作所
インダクタ部品
22日前
株式会社村田製作所
高周波電力増幅器
1日前
株式会社村田製作所
高周波モジュール
1か月前
株式会社村田製作所
高周波電力増幅器
1日前
株式会社村田製作所
伸縮性コイル部品
1か月前
株式会社村田製作所
正極及び二次電池
22日前
株式会社村田製作所
健康管理システム
3日前
株式会社村田製作所
積層体の切断装置
24日前
株式会社村田製作所
積層体の切断装置
24日前
株式会社村田製作所
固体電解コンデンサ
17日前
続きを見る
他の特許を見る