TOP
|
特許
|
意匠
|
商標
特許ウォッチ
Twitter
他の特許を見る
公開番号
2025148622
公報種別
公開特許公報(A)
公開日
2025-10-08
出願番号
2022108535
出願日
2022-07-05
発明の名称
圧力センサ装置
出願人
株式会社村田製作所
代理人
個人
,
個人
主分類
G01L
9/00 20060101AFI20251001BHJP(測定;試験)
要約
【課題】液体の検出部への到達を低減することができる圧力センサ装置を提供する。
【解決手段】本発明に係る圧力センサ装置は、ベース基板と、ベース基板の上面に実装され、圧力を検出する検出部を有する検出素子と、ベース基板の上面に設けられ、検出素子が埋設され、検出部を上方へ露出させる露出穴を有する樹脂パッケージと、露出穴を塞ぐように配置された開閉弁と、を備える。開閉弁は、圧力センサ装置の外部に面した外面を有するメンブレンと、外面の裏面である内面によって一部を構成され且つ検出部を圧力センサ装置の外部と連通させる連通路と、を備える。メンブレンが外面に作用する圧力によって撓むことにより、内面が連通路を閉塞する。
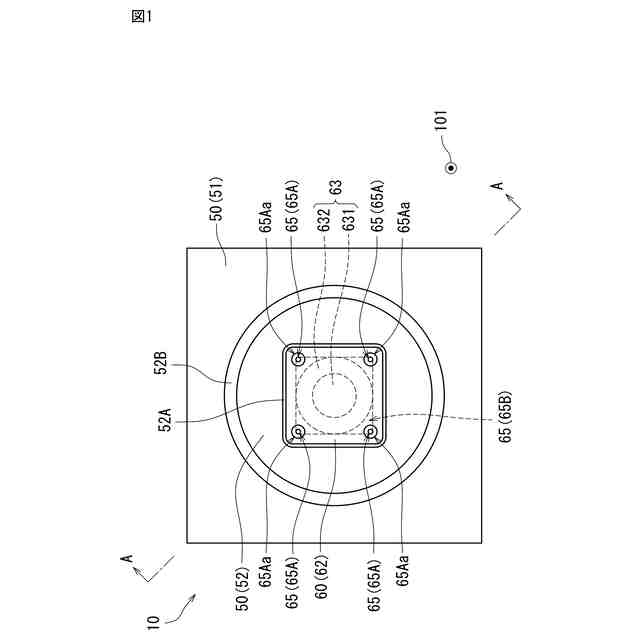
【選択図】図2
特許請求の範囲
【請求項1】
ベース基板と、
前記ベース基板の上面に実装され、圧力を検出する検出部を有する検出素子と、
前記ベース基板の上面に設けられ、前記検出素子が埋設され、前記検出部を上方へ露出させる露出穴を有する樹脂パッケージと、を備える圧力センサ装置であって、
前記露出穴を塞ぐように配置された開閉弁を備え、
前記開閉弁は、
前記圧力センサ装置の外部に面した外面を有するメンブレンと、
前記外面の裏面である内面によって一部を構成され且つ前記検出部を前記圧力センサ装置の外部と連通させる連通路と、を備え、
前記メンブレンが前記外面に作用する圧力によって撓むことにより、前記内面が前記連通路を閉塞する圧力センサ装置。
続きを表示(約 1,200 文字)
【請求項2】
前記開閉弁は、
前記検出素子と上下方向に対向する下部分と、
前記下部分の上方に設けられて前記圧力センサ装置の外部に面し、前記メンブレンを有する上部分と、を備え、
前記連通路は、
前記上下方向から見て前記上部分における前記メンブレンの外側に形成され、前記圧力センサ装置の外部へ向けて開口され、前記上部分を前記上下方向に貫通する上貫通穴と、
前記メンブレン及び前記下部分の間に形成されて前記上貫通穴と連通する内部空間と、
前記下部分を前記上下方向に貫通し、前記メンブレンと前記上下方向に対向する位置において前記内部空間に開口された上側開口と前記検出素子へ向けて開口された下側開口とを有する下貫通穴と、を備え、
前記メンブレンが前記外面に作用する圧力によって撓むことにより、前記内面が前記下貫通穴の前記上側開口を塞ぐ請求項1に記載の圧力センサ装置。
【請求項3】
前記メンブレンは、
上下方向から見て前記メンブレンの中央部に位置する膜厚部と、
前記上下方向から見て前記膜厚部を囲むように設けられ前記膜厚部より薄い膜薄部と、を備え、
前記メンブレンの前記内面のうち前記膜厚部に位置する前記内面が前記連通路を閉塞する請求項1または2に記載の圧力センサ装置。
【請求項4】
前記圧力センサ装置の外部から前記開閉弁に接触した液体が前記連通路に浸入したときに、前記内面による前記連通路の閉塞位置に前記液体が到達するよりも早く、前記液体から前記外面に圧力が作用することによって撓んだ前記メンブレンの前記内面が前記連通路を閉塞する請求項1または2に記載の圧力センサ装置。
【請求項5】
前記圧力センサ装置の外部への前記連通路の開口を塞ぎ、気体を通し且つ液体を通さない閉塞膜を更に備える請求項1または2に記載の圧力センサ装置。
【請求項6】
前記検出素子及び前記開閉弁は、MEMS(Micro Electro Mechanical Systems)である請求項1または2に記載の圧力センサ装置。
【請求項7】
前記開閉弁は、前記露出穴の上部に配置されており、前記露出穴の下部を介して前記検出部と対向している請求項1または2に記載の圧力センサ装置。
【請求項8】
前記樹脂パッケージは、
前記ベース基板の上面に設けられた基部と、
前記基部から上方へ突出し、前記露出穴を有する筒部と、を備え、
上下方向から見て、前記基部は、前記筒部の外側面より外側へ延出し、
前記開閉弁は、
前記露出穴の内部に位置する内部分と、
前記露出穴より上方に位置し、前記筒部に支持された外部分と、を備え、
前記上下方向から見て、前記外部分の少なくとも一部は、前記筒部の外側面より外側へ延出している請求項1または2に記載の圧力センサ装置。
発明の詳細な説明
【技術分野】
【0001】
本発明は、圧力を検出する圧力センサ装置に関する。
続きを表示(約 1,700 文字)
【背景技術】
【0002】
特許文献1には、圧力を検出する半導体装置が開示されている。半導体装置は、ベース基板上に設けられた検出素子と、ベース基板上に設けられて検出素子を埋設する樹脂パッケージとを備える。検出素子は、圧力を検出する検出部を有する。樹脂パッケージは、検出部を外部に露出させる露出穴を備える。検出部が露出穴を介して外部に露出しているため、検出部は外部から作用する圧力を検出することができる。
【先行技術文献】
【特許文献】
【0003】
国際公開第2019/208127号公報
【発明の概要】
【発明が解決しようとする課題】
【0004】
特許文献1に開示された半導体装置では、検出部が露出穴を介して外部に露出しているため、水等の液体が露出穴を介して検出部に到達するおそれがある。検出部に到達した液体が乾燥すると残渣が検出部上に残る。この残渣によって検出部が検出する圧力の精度が低下するおそれがある。例えば、検出部は作用する圧力による撓み量に応じて圧力を検出するものであるが、検出部上に残渣が存在すると、圧力が作用していない状態であっても検出部が撓んだ状態となる。そのため、検出される圧力の特性が適正な特性に対してシフトするおそれがある。また、例えば、検出部上の残渣が検出部の変形を拘束するおそれがある。この場合、作用する圧力に対する検出部の感度が変化してしまうおそれがある。
【0005】
従って、本発明の目的は、前記課題を解決することにあって、液体の検出部への到達を低減することができる圧力センサ装置を提供することにある。
【課題を解決するための手段】
【0006】
前記目的を達成するために、本発明は以下のように構成する。
本発明の一態様に係る圧力センサ装置は、
ベース基板と、
前記ベース基板の上面に実装され、圧力を検出する検出部を有する検出素子と、
前記ベース基板の上面に設けられ、前記検出素子が埋設され、前記検出部を上方へ露出させる露出穴を有する樹脂パッケージと、を備える圧力センサ装置であって、
前記露出穴を塞ぐように配置された開閉弁を備え、
前記開閉弁は、
前記圧力センサ装置の外部に面した外面を有するメンブレンと、
前記外面の裏面である内面によって一部を構成され且つ前記検出部を前記圧力センサ装置の外部と連通させる連通路と、を備え、
前記メンブレンが前記外面に作用する圧力によって撓むことにより、前記内面が前記連通路を閉塞する。
【発明の効果】
【0007】
本発明によれば、液体の検出部への到達を抑制することができる。
【図面の簡単な説明】
【0008】
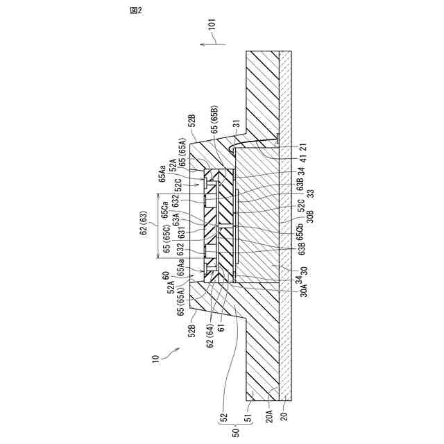
本発明の第1実施形態に係る圧力センサ装置の平面図。
図1のA-A線に沿った断面図。
本発明の第2実施形態に係る圧力センサ装置の図1のA-A線に対応する断面図。
本発明の第3実施形態に係る圧力センサ装置の平面図。
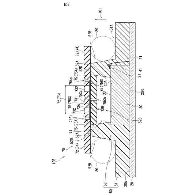
図4のB-B線に沿った断面図。
本発明の第4実施形態に係る圧力センサ装置における図4のB-B線に沿った位置に対応する断面図。
【発明を実施するための形態】
【0009】
<第1実施形態>
図1は、本発明の第1実施形態に係る圧力センサ装置の平面図である。図2は、図1のA-A線に沿った断面図である。以下では、説明の便宜上、「上」、「下」等の方向を示す用語が用いられるが、これらの用語は、本発明に係る圧力センサ装置の使用状態等を限定するものではない。
【0010】
圧力センサ装置10は、圧力を検出する素子である。図1及び図2に示すように、圧力センサ装置10は、ベース基板20と、ベース基板20の上面20Aに実装され、圧力を検出する検出素子30と、ベース基板20の上面20Aに設けられ、検出素子30の一部を覆う樹脂パッケージ50とを備える。
(【0011】以降は省略されています)
この特許をJ-PlatPat(特許庁公式サイト)で参照する
関連特許
株式会社村田製作所
二次電池
20日前
株式会社村田製作所
ネブライザ
26日前
株式会社村田製作所
コイル部品
14日前
株式会社村田製作所
フィルタ装置
今日
株式会社村田製作所
電力システム
15日前
株式会社村田製作所
電力増幅回路
6日前
株式会社村田製作所
外観検査装置
6日前
株式会社村田製作所
インダクタ部品
8日前
株式会社村田製作所
伸縮性コイル部品
13日前
株式会社村田製作所
積層体の切断装置
今日
株式会社村田製作所
積層体の切断装置
今日
株式会社村田製作所
高周波モジュール
6日前
株式会社村田製作所
積層セラミック電子部品
12日前
株式会社村田製作所
熱拡散デバイス及び電子機器
今日
株式会社村田製作所
高周波モジュール及び通信装置
6日前
株式会社村田製作所
二次電池用負極および二次電池
13日前
株式会社村田製作所
聴診デバイスおよび聴診システムに関する。
26日前
株式会社村田製作所
積層セラミックコンデンサおよびその製造方法
1日前
株式会社村田製作所
筋振動検知センサ、電気刺激装置及び筋振動検知方法
1日前
株式会社村田製作所
二次電池
22日前
株式会社村田製作所
光変調器
今日
株式会社村田製作所
光変調器
今日
株式会社村田製作所
電子部品
今日
株式会社村田製作所
光変調器
今日
株式会社村田製作所
積層型コイル部品
8日前
株式会社村田製作所
押圧位置推定システム、押圧位置推定方法、及び押圧位置推定プログラム
26日前
株式会社村田製作所
スイッチ付き同軸コネクタおよび該スイッチ付き同軸コネクタを備える同軸コネクタセット
6日前
株式会社村田製作所
スイッチ付き同軸コネクタおよび該スイッチ付き同軸コネクタを備える同軸コネクタセット
6日前
個人
メジャー文具
29日前
個人
採尿及び採便具
6日前
日本精機株式会社
検出装置
今日
個人
高精度同時多点測定装置
21日前
個人
アクセサリー型テスター
22日前
株式会社ミツトヨ
測定器
12日前
ユニパルス株式会社
ロードセル
28日前
甲神電機株式会社
電流検出装置
今日
続きを見る
他の特許を見る