TOP
|
特許
|
意匠
|
商標
特許ウォッチ
Twitter
他の特許を見る
公開番号
2025153361
公報種別
公開特許公報(A)
公開日
2025-10-10
出願番号
2024055807
出願日
2024-03-29
発明の名称
液体導電率測定装置
出願人
住鉱潤滑剤株式会社
代理人
個人
主分類
G01N
27/06 20060101AFI20251002BHJP(測定;試験)
要約
【課題】液体の導電率を測定する作業における安全性の向上を図ることのできる液体導電率測定装置を提供する。
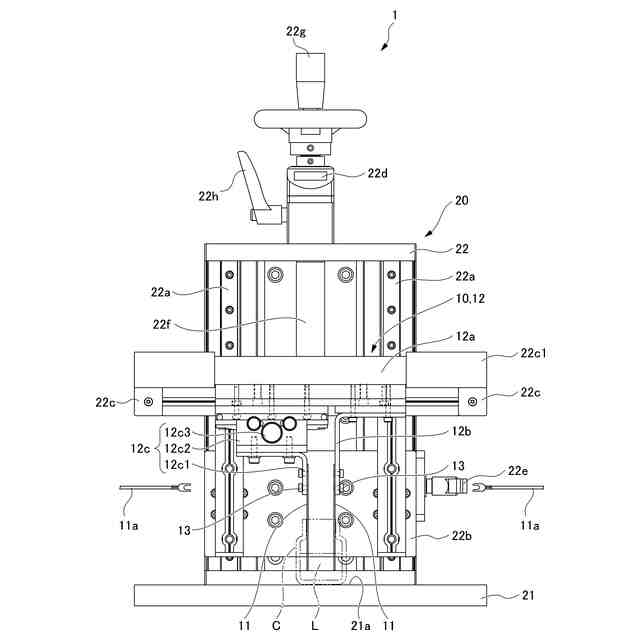
【解決手段】液体Lの導電率を測定する液体導電率測定装置1であって、上部が開口された容器Cに収容された測定対象の液体Lに上方から挿入される一対の電極11を有し、液体Lの導電率を測定する測定部10と、測定部10を支持する支持台20と、を備え、支持台20は、測定部10を上下方向に移動させる昇降機構22を有している。
【選択図】図1
特許請求の範囲
【請求項1】
液体の導電率を測定する液体導電率測定装置であって、
上部が開口された容器に収容された測定対象の液体に上方から挿入される一対の電極を有し、液体の導電率を測定する測定部と、
前記測定部を支持する支持台と、を備え、
前記支持台は、前記測定部を上下方向に移動させる昇降機構を有している
液体導電率測定装置。
続きを表示(約 210 文字)
【請求項2】
一対の前記電極の間隔を調整する電極間隔調整機構を備えた
請求項1に記載の液体導電率測定装置。
【請求項3】
前記支持台は、前記容器を載置する載置部を有している
請求項1に記載の液体導電率測定装置。
【請求項4】
前記測定部は、一対の前記電極のそれぞれを、一の操作によって着脱可能とする着脱機構を有している
請求項1に記載の液体導電率測定装置。
発明の詳細な説明
【技術分野】
【0001】
本発明は、液体の導電率の測定に用いられる液体導電率測定装置に関するものである。
続きを表示(約 1,000 文字)
【背景技術】
【0002】
従来、液体導電率測定装置としては、一対の電極を有する測定部を備え、測定部の一対の電極を、上部が開口された容器に収容された測定対象の液体に上方から挿入し、一対の電極間の電流値を測定することによって、容器に収容された液体の導電率を測定するものが知られている(例えば、特許文献1参照)。
【先行技術文献】
【特許文献】
【0003】
特開2019-2703号公報
【発明の概要】
【発明が解決しようとする課題】
【0004】
従来の液体導電率測定装置は、液体の導電率を測定する作業を行う作業者が、測定部を把持した状態で、容器に収容された液体に一対の電極を接触させている。
【0005】
液体は、種類に応じて導電率の大きさが異なるため、導電率が小さい液体の導電率を測定する場合には、大電流の電気を流すことによって導電率を測定することになる。大電流の電気を流すことによって液体の導電率を測定する場合には、液体の導電率を測定する作業者の人体に悪影響を及ぼす可能性がある。
【0006】
本発明の目的とするところは、液体の導電率を測定する作業における安全性の向上を図ることのできる液体導電率測定装置を提供することにある。
【課題を解決するための手段】
【0007】
本発明の液体導電率測定装置は、液体の導電率を測定する液体導電率測定装置であって、上部が開口された容器に収容された測定対象の液体に上方から挿入される一対の電極を有し、液体の導電率を測定する測定部と、前記測定部を支持する支持台と、を備え、前記支持台は、前記測定部を上下方向に移動させる昇降機構を有している。
【0008】
また、本発明の液体導電率測定装置は、一対の前記電極の間隔を調整する電極間隔調整機構を備えている、ことが好ましい。
【0009】
また、本発明の液体導電率測定装置は、前記支持台が、前記容器を載置する載置部を有している、ことが好ましい。
【発明の効果】
【0010】
本発明によれば、昇降機構の操作によって測定部を上下方向に移動させることが可能となるので、液体の導電率の測定を自動化することが可能となり、液体の導電率を測定する作業における安全性の向上を図ることが可能となる。
【図面の簡単な説明】
(【0011】以降は省略されています)
この特許をJ-PlatPat(特許庁公式サイト)で参照する
関連特許
住鉱潤滑剤株式会社
液体導電率測定装置
28日前
個人
採尿及び採便具
8日前
日本精機株式会社
検出装置
2日前
個人
高精度同時多点測定装置
23日前
個人
アクセサリー型テスター
24日前
株式会社ミツトヨ
測定器
14日前
甲神電機株式会社
電流検出装置
2日前
アズビル株式会社
電磁流量計
17日前
ダイキン工業株式会社
監視装置
28日前
個人
非接触による電磁パルスの測定方法
今日
日本信号株式会社
距離画像センサ
今日
双庸電子株式会社
誤配線検査装置
3日前
愛知時計電機株式会社
ガスメータ
14日前
ローム株式会社
半導体装置
22日前
長崎県
形状計測方法
24日前
ローム株式会社
半導体装置
22日前
個人
システム、装置及び実験方法
17日前
大和製衡株式会社
組合せ計量装置
11日前
大和製衡株式会社
組合せ計量装置
11日前
愛知電機株式会社
軸部材の外観検査装置
11日前
日本特殊陶業株式会社
センサ
14日前
日本特殊陶業株式会社
センサ
28日前
日本特殊陶業株式会社
センサ
28日前
日本特殊陶業株式会社
センサ
28日前
日本特殊陶業株式会社
センサ
28日前
日東精工株式会社
振動波形検査装置
3日前
株式会社不二越
X線測定装置
今日
トヨタ自動車株式会社
測定システム
21日前
株式会社デンソー
電流センサ
22日前
中国電力株式会社
電柱管理システム
28日前
日本特殊陶業株式会社
センサ
28日前
アンリツ株式会社
X線検査装置
14日前
株式会社マグネア
磁界検出素子
今日
株式会社電巧社
試験装置及び試験方法
3日前
コイト電工株式会社
座席濡れ検知装置
28日前
住友化学株式会社
電気化学センサ
8日前
続きを見る
他の特許を見る