TOP
|
特許
|
意匠
|
商標
特許ウォッチ
Twitter
他の特許を見る
10個以上の画像は省略されています。
公開番号
2025151884
公報種別
公開特許公報(A)
公開日
2025-10-09
出願番号
2024053506
出願日
2024-03-28
発明の名称
ファブリペロー干渉計
出願人
株式会社村田製作所
代理人
弁理士法人深見特許事務所
主分類
G01B
9/02 20220101AFI20251002BHJP(測定;試験)
要約
【課題】ファブリペロー干渉計を簡易に製造する。
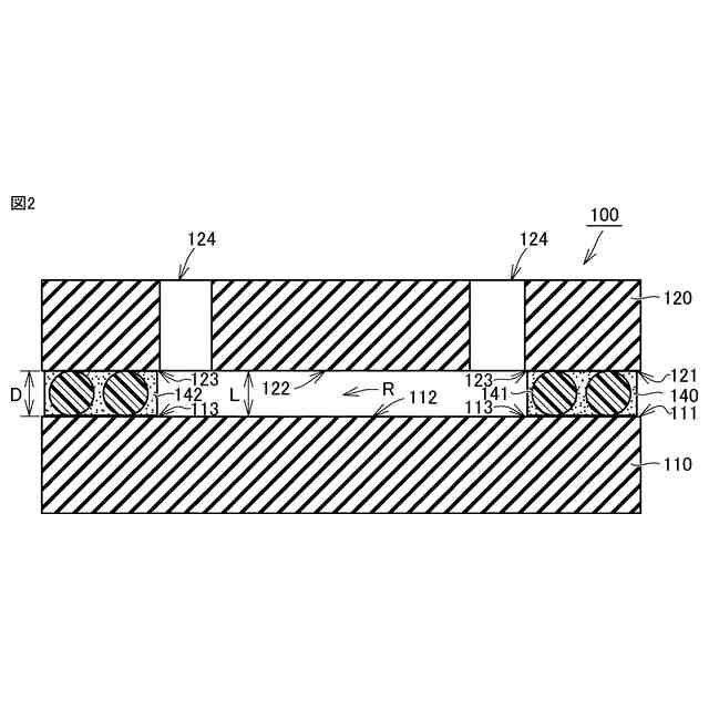
【解決手段】第1基板110は、第1反射面部112および第1反射面部112の周囲に位置する第1基準面部113を第1主面111に有する。第2基板120は、第1反射面部112に間隔Lをあけて対向する第2反射面部122および第2反射面部122の周囲に位置する第2基準面部123を第2主面121に有する。駆動機構部は130、第2反射面部122が第1反射面部112と対向した状態で第2反射面部122を第1反射面部112に対して変位させる。接着層140は、第1基準面部113と第2基準面部123との間に挟まれて第1基準面部113と第2基準面部123との一定間隔Dを規定する少なくとも3つのスペーサ粒子141を含有する。
【選択図】図2
特許請求の範囲
【請求項1】
第1反射面部および該第1反射面部の周囲に位置する第1基準面部を第1主面に有する第1基板と、
前記第1反射面部に間隔をあけて対向する第2反射面部および該第2反射面部の周囲に位置する第2基準面部を第2主面に有する第2基板と、
前記第2反射面部が前記第1反射面部と対向した状態で前記第2反射面部を前記第1反射面部に対して変位させる駆動機構部と、
前記第1基準面部と前記第2基準面部との間に挟まれて前記第1基準面部と前記第2基準面部との一定間隔を規定する少なくとも3つのスペーサ粒子を含有する接着層とを備える、ファブリペロー干渉計。
続きを表示(約 1,200 文字)
【請求項2】
前記接着層は、前記第1反射面部と前記第2反射面部とが互いに対向している対向領域には位置していない、請求項1に記載のファブリペロー干渉計。
【請求項3】
前記第1主面の前記第1基準面部上および前記第2主面の前記第2基準面部上の少なくとも一方に、前記接着層が前記対向領域に延出することを阻害する凸部が形成されており、
前記凸部の高さの寸法は、前記一定間隔の寸法の1/4以上3/4以下である、請求項2に記載のファブリペロー干渉計。
【請求項4】
前記第1主面の前記第1基準面部および前記第2主面の前記第2基準面部の少なくとも一方に、前記接着層が前記対向領域に延出することを阻害する凹部が形成されている、請求項2に記載のファブリペロー干渉計。
【請求項5】
前記少なくとも3つのスペーサ粒子の各々のヤング率は、1GPa以上300GPa以下である、請求項1から請求項4のいずれか1項に記載のファブリペロー干渉計。
【請求項6】
前記少なくとも3つのスペーサ粒子の各々は、金属粒子、樹脂粒子、ガラス粒子、シリカ粒子、または、金属被膜で覆われた、樹脂粒子、ガラス粒子若しくはシリカ粒子である、請求項5に記載のファブリペロー干渉計。
【請求項7】
前記少なくとも3つのスペーサ粒子のうちの少なくとも1つは、導電性を有しており、前記ファブリペロー干渉計における電気経路の一部を構成している、請求項6に記載のファブリペロー干渉計。
【請求項8】
前記第2基板には、第1引出配線および第2引出配線が形成されており、
前記第1引出配線は、前記第2主面に形成された第1電極と接続されており、
前記第2引出配線は、前記第2主面に形成された第2電極と接続されており、
前記第1主面には、第3電極が形成されており、
前記第2電極と前記第3電極とは、前記少なくとも3つのスペーサ粒子のうちの前記少なくとも1つを通じて電気的に接続されている、請求項7に記載のファブリペロー干渉計。
【請求項9】
前記第2基板には、第3引出配線および第4引出配線が形成されており、
前記第3引出配線は、前記第2反射面部の端に形成された第4電極と接続されており、
前記第4引出配線は、前記第2主面に形成された第5電極と接続されており、
前記第1主面には、第6電極が形成されており、
前記第6電極において前記第1反射面部の端に位置する一部と前記第4電極とは、互いに間隔をあけて対向しており、
前記第5電極と前記第6電極とは、前記少なくとも3つのスペーサ粒子のうちの前記少なくとも1つを通じて電気的に接続されている、請求項7に記載のファブリペロー干渉計。
発明の詳細な説明
【技術分野】
【0001】
本発明は、ファブリペロー干渉計に関する。
続きを表示(約 1,400 文字)
【背景技術】
【0002】
ファブリペロー干渉フィルタの製造方法を開示した先行技術文献として、特許第6341959号(特許文献1)がある。特許文献1に記載されたファブリペローフィルタにおいては、エッチングによって犠牲層の一部を除去することにより空隙を形成している。
【先行技術文献】
【特許文献】
【0003】
特許第6341959号
【発明の概要】
【発明が解決しようとする課題】
【0004】
特許文献1に記載されたファブリペロー干渉計の製造方法は、工程が複雑であるとともに、エッチング液に対する耐性を考慮して材料選択する必要があり、ファブリペロー干渉計を簡易に製造することができない。
【0005】
本発明は上記の問題点に鑑みてなされたものであって、簡易に製造することができるファブリペロー干渉計を提供することを目的とする。
【課題を解決するための手段】
【0006】
本発明に基づくファブリペロー干渉計は、第1基板と、第2基板と、駆動機構部と、接着層とを備える。第1基板は、第1反射面部およびこの第1反射面部の周囲に位置する第1基準面部を第1主面に有する。第2基板は、第1反射面部に間隔をあけて対向する第2反射面部およびこの第2反射面部の周囲に位置する第2基準面部を第2主面に有する。駆動機構部は、第2反射面部が第1反射面部と対向した状態で第2反射面部を第1反射面部に対して変位させる。接着層は、第1基準面部と第2基準面部との間に挟まれて第1基準面部と第2基準面部との一定間隔を規定する少なくとも3つのスペーサ粒子を含有する。
【発明の効果】
【0007】
本発明によれば、ファブリペロー干渉計を簡易に製造することができる。
【図面の簡単な説明】
【0008】
本発明の実施形態1に係るファブリペロー干渉計の平面図である。
図1のファブリペロー干渉計をII-II線矢印方向から見た断面図である。
ファブリペロー干渉計の製造方法の一例を説明するフローチャートである。
本発明の実施形態1の変形例に係るファブリペロー干渉計の断面図である。
本発明の実施形態2に係るファブリペロー干渉計の平面図である。
図5のファブリペロー干渉計をVI-VI線矢印方向から見た断面図である。
本発明の実施形態2の変形例1に係るファブリペロー干渉計の平面図である。
本発明の実施形態2の変形例2に係るファブリペロー干渉計の平面図である。
本発明の実施形態3に係るファブリペロー干渉計の平面図である。
図9のファブリペロー干渉計をX-X線矢印方向から見た断面図である。
【発明を実施するための形態】
【0009】
以下、本発明の各実施形態に係るファブリペロー干渉計について図面を参照して説明する。以下の実施形態の説明においては、図中の同一または相当部分には同一符号を付して、その説明は繰り返さない。
【0010】
(実施形態1)
図1は、本発明の実施形態1に係るファブリペロー干渉計の平面図である。図2は、図1のファブリペロー干渉計をII-II線矢印方向から見た断面図である。
(【0011】以降は省略されています)
この特許をJ-PlatPat(特許庁公式サイト)で参照する
関連特許
株式会社村田製作所
移相回路
24日前
株式会社村田製作所
二次電池
18日前
株式会社村田製作所
コイル部品
12日前
株式会社村田製作所
コイル部品
24日前
株式会社村田製作所
電子聴診器
24日前
株式会社村田製作所
コイル部品
24日前
株式会社村田製作所
ネブライザ
24日前
株式会社村田製作所
電力増幅回路
4日前
株式会社村田製作所
外観検査装置
4日前
株式会社村田製作所
電力システム
13日前
株式会社村田製作所
フィルタ装置
25日前
株式会社村田製作所
インダクタ部品
6日前
株式会社村田製作所
電池モジュール
24日前
株式会社村田製作所
高周波モジュール
4日前
株式会社村田製作所
伸縮性コイル部品
11日前
株式会社村田製作所
コンデンサモジュール
24日前
株式会社村田製作所
ファブリペロー干渉計
25日前
株式会社村田製作所
積層セラミック電子部品
10日前
株式会社村田製作所
濾過装置および濾過方法
25日前
株式会社村田製作所
積層セラミックコンデンサ
25日前
株式会社村田製作所
二次電池用負極および二次電池
11日前
株式会社村田製作所
高周波モジュール及び通信装置
4日前
株式会社村田製作所
積層セラミック電子部品の製造方法
25日前
株式会社村田製作所
聴診デバイスおよび聴診システムに関する。
24日前
株式会社村田製作所
二次電池
20日前
株式会社村田製作所
端末装置、判定方法、コンピュータプログラム及びシステム
24日前
株式会社村田製作所
積層型コイル部品
6日前
株式会社村田製作所
押圧位置推定システム、押圧位置推定方法、及び押圧位置推定プログラム
24日前
株式会社村田製作所
スイッチ付き同軸コネクタおよび該スイッチ付き同軸コネクタを備える同軸コネクタセット
4日前
株式会社村田製作所
スイッチ付き同軸コネクタおよび該スイッチ付き同軸コネクタを備える同軸コネクタセット
4日前
個人
メジャー文具
27日前
個人
採尿及び採便具
4日前
個人
高精度同時多点測定装置
19日前
個人
アクセサリー型テスター
20日前
株式会社ミツトヨ
測定器
10日前
ユニパルス株式会社
ロードセル
26日前
続きを見る
他の特許を見る