TOP
|
特許
|
意匠
|
商標
特許ウォッチ
Twitter
他の特許を見る
10個以上の画像は省略されています。
公開番号
2025171345
公報種別
公開特許公報(A)
公開日
2025-11-20
出願番号
2024076561
出願日
2024-05-09
発明の名称
半導体装置及び半導体装置の製造方法
出願人
株式会社村田製作所
代理人
個人
,
個人
主分類
H10D
10/80 20250101AFI20251113BHJP()
要約
【課題】ベース抵抗の上昇を抑制し、かつ、エミッタメサと交差させることなくベース電極を周囲の配線に接続する半導体装置を提供する。
【解決手段】半導体装置は、第1導電型の化合物半導体を含むコレクタ層20Cの第1方向D1を向く面に、第1導電型とは反対の第2導電型の化合物半導体を含むベース層20Bが配置されている。ベース層の、第1方向を向く面の一部の領域に、第1導電型の化合物半導体を含み、ベース層との間にヘテロ接合を形成する少なくとも1つのエミッタメサ20Eが配置されている。コレクタ層の、第1方向とは反対向きである第2方向D2を向く面にコレクタ電極が配置されている。エミッタメサの第1方向を向く面にエミッタ電極30Eが配置されている。ベース層の第1方向を向く面のうち、エミッタメサ20Eが配置されていない領域にベース電極30Bが配置されている。
【選択図】図1
特許請求の範囲
【請求項1】
第1導電型の化合物半導体を含むコレクタ層と、
前記コレクタ層の第1方向を向く面に配置され、前記第1導電型とは反対の第2導電型の化合物半導体を含むベース層と、
前記ベース層の、前記第1方向を向く面の一部の領域に配置され、前記第1導電型の化合物半導体を含み、前記ベース層との間にヘテロ接合を形成する少なくとも1つのエミッタメサと、
前記コレクタ層の、前記第1方向とは反対向きである第2方向を向く面に配置されたコレクタ電極と、
前記エミッタメサの、前記第1方向を向く面に配置されたエミッタ電極と、
前記ベース層の、前記第1方向を向く面のうち、前記エミッタメサが配置されていない領域に配置されたベース電極と
を備え、
前記ベース電極は、第1層及び第2層を含み、前記第1層の一部分が前記第2層の一部分と重なっており、前記第1層及び前記第2層の各々は、平面視において閉じたパターンを含んでおらず、前記第1層及び前記第2層は、全体として、平面視において前記エミッタメサを連続的に取り囲んでいる半導体装置。
続きを表示(約 1,100 文字)
【請求項2】
前記エミッタメサの平面視における形状が円形、正方形、長方形、または正六角形である請求項1に記載の半導体装置。
【請求項3】
前記エミッタメサは、離散的に複数個配置されており、
前記ベース電極は、前記エミッタメサのそれぞれを連続的に取り囲み、前記ベース電極のうち、隣り合う2つの前記エミッタメサの間に配置された部分は、両側の前記エミッタメサを取り囲む部分として共用されている請求項1に記載の半導体装置。
【請求項4】
前記ベース電極の少なくとも一部分の平面視における形状が、縦線と横線とが直交する格子状であり、
複数の前記エミッタメサは、それぞれ格子状の縦線と横線とで囲まれた複数の区画内に配置されている請求項3に記載の半導体装置。
【請求項5】
前記ベース電極の少なくとも一部分の平面視における形状がハニカム状であり、
複数の前記エミッタメサは、それぞれハニカム状の複数の区画内に配置されている請求項3に記載の半導体装置。
【請求項6】
平面視において、複数の前記エミッタメサの各々の外周線は、前記ベース電極の縁に間隙を隔てて対向し、前記ベース電極の縁に沿った形状を有する請求項4または5に記載の半導体装置。
【請求項7】
前記エミッタメサは、バラスト抵抗層を含む請求項3乃至5のいずれか1項に記載の半導体装置。
【請求項8】
さらに、外部回路接続用のエミッタバンプを備え、
前記エミッタバンプは、前記エミッタ電極から見て前記第1方向の側に配置されており、平面視において前記エミッタ電極と部分的に重なる位置に配置されている請求項1乃至5のいずれか1項に記載の半導体装置。
【請求項9】
さらに、前記コレクタ電極の前記第2方向を向く面に配置された支持基板を備え、前記支持基板の熱伝導率が前記コレクタ層の熱伝導率より高い請求項1乃至5のいずれか1項に記載の半導体装置。
【請求項10】
さらに、
前記支持基板の、前記第1方向を向く面に配置され、前記コレクタ電極に電気的に接続され、平面視において前記コレクタ電極の外側まで広がっているコレクタ配線と、
前記コレクタ配線から見て前記第1方向の側に配置され、平面視において、前記コレクタ配線のうち前記コレクタ電極と重ならない位置に配置され、前記コレクタ配線に電気的に接続された外部回路接続用のコレクタバンプを
を備えた請求項9に記載の半導体装置。
(【請求項11】以降は省略されています)
発明の詳細な説明
【技術分野】
【0001】
本発明は、半導体装置及び半導体装置の製造方法に関する。
続きを表示(約 2,600 文字)
【背景技術】
【0002】
従来のストライプ状のエミッタを有するヘテロ接合バイポーラトランジスタ(HBT)に対して、改良型のHBTが提案されている(特許文献1)。この改良型のHBTでは、コレクタ層の上にベース層が配置され、ベース層の上にエミッタメサが配置されている。エミッタメサは、複数の開口を有しており、複数の開口内にそれぞれベース電極が配置されている。
【先行技術文献】
【特許文献】
【0003】
特表2021-506114号公報
【発明の概要】
【発明が解決しようとする課題】
【0004】
特許文献1に開示されたHBTにおいては、ベース電極がエミッタメサの開口内に配置されているため、孤立した複数のベース電極を周囲の回路に接続するために、エミッタメサと交差する配線を配置する必要がある。また、エミッタメサをストライプ状の形状にし、その両側にストライプ状のベース電極を配置する従来構造では、2本のストライプ状のベース電極を同一金属層内で相互に接続することが可能であるが、ベース電極が細長くなるため、ベース抵抗が高くなってしまう。
【0005】
本発明の目的は、ベース抵抗の上昇を抑制し、かつエミッタメサと交差させることなくベース電極を周囲の配線に接続することが可能な半導体装置及びその製造方法を提供することである。
【課題を解決するための手段】
【0006】
本発明の一観点によると、
第1導電型の化合物半導体を含むコレクタ層と、
前記コレクタ層の第1方向を向く面に配置され、前記第1導電型とは反対の第2導電型の化合物半導体を含むベース層と、
前記ベース層の、前記第1方向を向く面の一部の領域に配置され、前記第1導電型の化合物半導体を含み、前記ベース層との間にヘテロ接合を形成する少なくとも1つのエミッタメサと、
前記コレクタ層の、前記第1方向とは反対向きである第2方向を向く面に配置されたコレクタ電極と、
前記エミッタメサの、前記第1方向を向く面に配置されたエミッタ電極と、
前記ベース層の、前記第1方向を向く面のうち、前記エミッタメサが配置されていない領域に配置されたベース電極と
を備え、
前記ベース電極は、第1層及び第2層を含み、前記第1層の一部分が前記第2層の一部分と重なっており、前記第1層及び前記第2層の各々は、平面視において閉じたパターンを含んでおらず、前記第1層及び前記第2層は、全体として、平面視において前記エミッタメサを連続的に取り囲んでいる半導体装置が提供される。
【0007】
本発明の他の観点によると、
仮基板の第1方向を向く面に剥離層を形成し、
前記剥離層の前記第1方向を向く面に、第1導電型の化合物半導体を含むコレクタ層を形成し、
前記コレクタ層の前記第1方向を向く面に、前記第1導電型とは反対の第2導電型の化合物半導体を含むベース層を形成し、
前記ベース層の前記第1方向を向く面に、前記第1導電型の化合物半導体を含む少なくとも1つのエミッタメサを形成し、
前記ベース層の前記第1方向を向く面に、平面視において前記エミッタメサを連続的に取り囲むベース電極を形成し、
前記エミッタメサの前記第1方向を向く面にエミッタ電極を形成し、
前記剥離層をエッチング除去することにより、前記コレクタ層を前記仮基板から引き離し、
前記コレクタ層の、前記第1方向とは反対向きの第2方向を向く面にコレクタ電極を形成し、
前記コレクタ電極を支持基板に接合する半導体装置の製造方法が提供される。
【発明の効果】
【0008】
ベース電極が、平面視においてエミッタメサを連続的に取り囲んでいるため、ベース抵抗の上昇を抑制することができる。また、エミッタメサと交差させることなく、ベース電極を周囲の配線に接続することが可能である。
【図面の簡単な説明】
【0009】
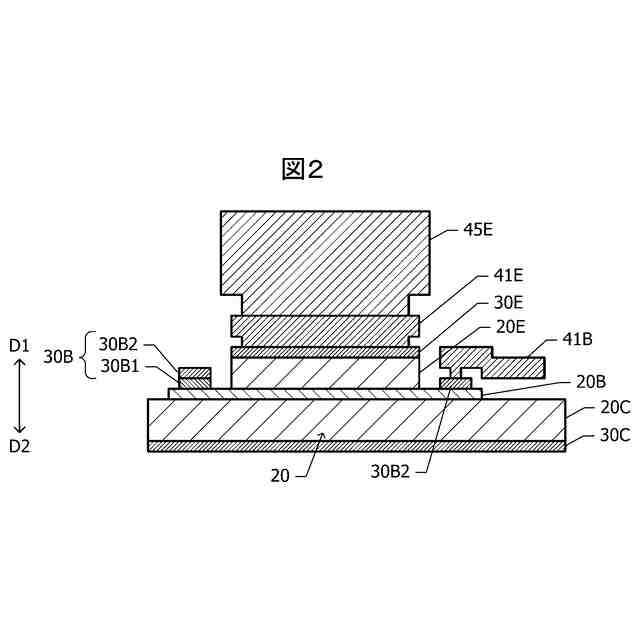
図1は、第1実施例による半導体装置の平面図である。
図2は、図1の一点鎖線2-2における断面図である。
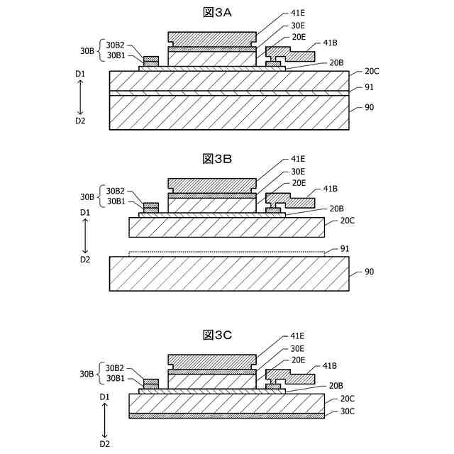
図3A、図3B、及び図3Cは、第1実施例による半導体装置の製造途中段階における断面図である。
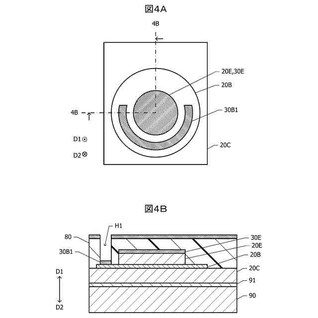
図4Aは、半導体装置の製造途中段階における平面図であり、図4Bは、図4Aの一点鎖線4B-4Bにおける断面図である。
図5Aは、半導体装置の製造途中段階における平面図であり、図5Bは、図5Aの一点鎖線5B-5Bにおける断面図である。
図6は、第1実施例の変形例による半導体装置の平面図である。
図7は、第1実施例の他の変形例による半導体装置の平面図である。
図8は、第2実施例による半導体装置の平面図である。
図9A及び図9Bは、それぞれベース電極30Bの第1層30B1及び第2層30B2の平面図である。
図10は、図8の一点鎖線10-10における断面図である。
図11は、第2実施例の変形例による半導体装置の平面図である。
図12A及び図12Bは、それぞれ図11に示した半導体装置のベース電極30Bの第1層30B1及び第2層30B2の平面図である。
図13は、第3実施例による半導体装置の平面図である。
図14は、第4実施例による半導体装置の断面図である。
図15は、第5実施例による半導体装置の断面図である。
図16A及び図16Bは、第5実施例による半導体装置の製造途中段階における断面図である。
図17は、第6実施例による半導体装置の断面図である。
【発明を実施するための形態】
【0010】
[第1実施例]
図1から図5Bまでの図面を参照して、第1実施例による半導体装置について説明する。
図1は、第1実施例による半導体装置の平面図であり、図2は、図1の一点鎖線2-2における断面図である。なお、図2において、層間絶縁膜の記載を省略している。
(【0011】以降は省略されています)
この特許をJ-PlatPat(特許庁公式サイト)で参照する
関連特許
株式会社村田製作所
電池パック
14日前
株式会社村田製作所
外観検査装置
22日前
株式会社村田製作所
電力増幅回路
22日前
株式会社村田製作所
フィルタ装置
16日前
株式会社村田製作所
インダクタ部品
14日前
株式会社村田製作所
インダクタ部品
14日前
株式会社村田製作所
インダクタ部品
14日前
株式会社村田製作所
インダクタ部品
14日前
株式会社村田製作所
インダクタ部品
14日前
株式会社村田製作所
指装着デバイス
7日前
株式会社村田製作所
インダクタ部品
2日前
株式会社村田製作所
インダクタ部品
2日前
株式会社村田製作所
積層体の切断装置
16日前
株式会社村田製作所
正極及び二次電池
14日前
株式会社村田製作所
高周波モジュール
22日前
株式会社村田製作所
積層体の切断装置
16日前
株式会社村田製作所
固体電解コンデンサ
9日前
株式会社村田製作所
積層セラミックコンデンサ
14日前
株式会社村田製作所
積層セラミックコンデンサ
14日前
株式会社村田製作所
熱拡散デバイス及び電子機器
16日前
株式会社シマノ
電動リール
1日前
株式会社村田製作所
コイル部品およびその製造方法
14日前
株式会社村田製作所
高周波モジュール及び通信装置
22日前
株式会社村田製作所
フィルタ装置及びマルチプレクサ
1日前
株式会社村田製作所
検出装置、検出方法およびプログラム
1日前
株式会社村田製作所
半導体装置及び半導体装置の製造方法
1日前
株式会社村田製作所
半導体装置及び半導体装置の製造方法
1日前
株式会社村田製作所
インダクタ部品およびバックコンバータ
14日前
株式会社村田製作所
方向性結合器、高周波モジュール及び通信装置
9日前
株式会社村田製作所
積層セラミックコンデンサおよびその製造方法
17日前
株式会社村田製作所
筋振動検知センサ、電気刺激装置及び筋振動検知方法
17日前
株式会社村田製作所
光変調器
16日前
株式会社村田製作所
光変調器
16日前
株式会社村田製作所
光変調器
16日前
株式会社村田製作所
電子部品
16日前
株式会社村田製作所
積層コイル部品
3日前
続きを見る
他の特許を見る