TOP
|
特許
|
意匠
|
商標
特許ウォッチ
Twitter
他の特許を見る
10個以上の画像は省略されています。
公開番号
2025140568
公報種別
公開特許公報(A)
公開日
2025-09-29
出願番号
2024040050
出願日
2024-03-14
発明の名称
積層インダクタ
出願人
株式会社村田製作所
代理人
弁理士法人WisePlus
主分類
H01F
27/29 20060101AFI20250919BHJP(基本的電気素子)
要約
【課題】クラック等の構造欠陥に起因する信頼性の低下を抑制することができる積層インダクタを提供する。
【解決手段】積層インダクタ1Aにおいて、複数のコイル導体層CC1~CC8は、積層方向に連続する第1コイル導体層41をM+N層(M及びNは自然数)有する。第1コイル導体層41のそれぞれは、第1並列部P11~P14を有する。積層方向に隣り合う第1コイル導体層41の第1並列部同士は、少なくとも2つのビア導体Vを介して並列接続されている。第1コイル導体層のうち、M層は第1外部電極21に接続される第1引き出し導体51を有する第1引き出し層41Mであり、N層は第1引き出し導体51を有していない第1非引き出し層41Nである。Mは2以上の自然数であり、少なくとも1組の第1引き出し層41Mの積層方向での間には、少なくとも1層の第1非引き出し層41Nが存在する。
【選択図】図3
特許請求の範囲
【請求項1】
複数の絶縁層が積層方向に積層され、内部にコイルを有する積層体と、
前記積層体の外表面に設けられ、前記コイルに電気的に接続された第1外部電極及び第2外部電極と、を備え、
前記コイルは、前記絶縁層とともに前記積層方向に積層された複数のコイル導体層が電気的に接続されることにより構成され、
前記複数のコイル導体層は、前記積層方向に連続する第1コイル導体層をM+N層(M及びNは自然数)有し、
前記第1コイル導体層のそれぞれは、第1並列部を有し、
前記積層方向に隣り合う前記第1コイル導体層の前記第1並列部同士は、少なくとも2つのビア導体を介して並列接続されており、
前記第1コイル導体層のうち、M層は前記第1外部電極に接続される第1引き出し導体を有する第1引き出し層であり、N層は前記第1引き出し導体を有していない第1非引き出し層であり、
Mは2以上の自然数であり、
少なくとも1組の前記第1引き出し層の前記積層方向での間には、少なくとも1層の前記第1非引き出し層が存在する、積層インダクタ。
続きを表示(約 1,300 文字)
【請求項2】
複数の絶縁層が積層方向に積層され、内部にコイルを有する積層体と、
前記積層体の外表面に設けられ、前記コイルに電気的に接続された第1外部電極及び第2外部電極と、を備え、
前記コイルは、前記絶縁層とともに前記積層方向に積層された複数のコイル導体層が電気的に接続されることにより構成され、
前記複数のコイル導体層は、前記積層方向に連続する第1コイル導体層をM+N層(M及びNは自然数)有し、
前記第1コイル導体層のそれぞれは、第1並列部を有し、
前記積層方向に隣り合う前記第1コイル導体層の前記第1並列部同士は、少なくとも2つのビア導体を介して並列接続されており、
前記第1コイル導体層のうち、M層は前記第1外部電極に接続される第1引き出し導体を有する第1引き出し層であり、N層は前記第1引き出し導体を有していない第1非引き出し層であり、
前記積層方向から見たときに、前記第1引き出し層の周回部のうち、電流経路を構成する部分は、前記第1非引き出し層の周回部のうち、電流経路を構成する部分と向き及び形状が同じである、積層インダクタ。
【請求項3】
前記第1引き出し層において、前記第1外部電極と、前記第1外部電極までの経路長が最も短い位置に存在する前記ビア導体と、の間を接続する部分は、前記第1外部電極と接する部分を除いて、直線状の形状からなる、請求項2に記載の積層インダクタ。
【請求項4】
Mは2以上の自然数であり、
少なくとも1組の前記第1引き出し層の前記積層方向での間には、少なくとも1層の前記第1非引き出し層が存在する、請求項2又は3に記載の積層インダクタ。
【請求項5】
前記第1引き出し層の少なくとも1層において、前記第1引き出し導体のうち前記第1外部電極と接する部分の幅は、前記第1並列部の幅よりも大きい、請求項1~3のいずれか1項に記載の積層インダクタ。
【請求項6】
前記第1引き出し層における前記第1引き出し導体のうち前記第1外部電極と接する部分の幅の合計は、前記第1引き出し層及び前記第1非引き出し層における前記第1並列部の幅の合計と同等以上である、請求項1~3のいずれか1項に記載の積層インダクタ。
【請求項7】
M+Nは3以上の自然数であり、
前記第1引き出し層は前記積層方向に2層以上連続していない、請求項1~3のいずれか1項に記載の積層インダクタ。
【請求項8】
M+Nは3以上の自然数であり、
前記第1引き出し層と前記第1非引き出し層とは、前記積層方向に交互に設けられている、請求項7に記載の積層インダクタ。
【請求項9】
M=2、かつ、N=2であり、
2層の前記第1引き出し層の間に2層の前記第1非引き出し層が前記積層方向に連続して設けられている、請求項7に記載の積層インダクタ。
【請求項10】
前記第1引き出し層において、前記第1引き出し導体と前記第1並列部とは直接接続されている、請求項1~3のいずれか1項に記載の積層インダクタ。
(【請求項11】以降は省略されています)
発明の詳細な説明
【技術分野】
【0001】
本発明は、積層インダクタに関する。
続きを表示(約 2,100 文字)
【背景技術】
【0002】
特許文献1には、複数の絶縁体層からなる積層体と、上記積層体の外側に形成された外部電極と、上記積層体の内部にスパイラル状に形成されたコイル導体とを備え、上記コイル導体は外部電極と電気的に接続される引出部と引出部以外のコイル本体とを有し、上記コイル導体は絶縁体層に形成された導体パターンと絶縁体層を貫通し複数の導体パターンを電気的に接続するビアホール導体とを有し、一部の絶縁体層に形成された導体パターンは略矩形状の4つの頂点を含み一辺の一部を欠くC字状パターンであり、他の一部の絶縁体層に形成された導体パターンは上記略矩形状における上記C字状パターンにて欠けた一辺の一部に相当するI字状パターンであり、上記コイル本体を構成する導体パターンは上記C字状パターンと上記I字状パターンのみであり、上記コイル本体はC字状パターンが2層以上連続して積層される部分構造を有し、上記コイル本体におけるC字状パターンの個数はI字状パターンの個数よりも多い、積層インダクタが開示されている。
【先行技術文献】
【特許文献】
【0003】
特開2013-162101号公報
【発明の概要】
【発明が解決しようとする課題】
【0004】
ところで、積層インダクタの製造時には、押し切りカットやダイサーカット等の方法で、積層体ブロックをカットする工程が含まれうる。特許文献1に記載の積層インダクタでは、積層体ブロックのカット時に生じる応力により、引き出し導体自体又は引き出し導体と絶縁層との界面にクラック等の構造欠陥が生じるおそれがある。積層インダクタに構造欠陥が生じると、積層インダクタの使用時における断線等のリスクが高くなるため、積層インダクタの信頼性が低下してしまう。
【0005】
本発明は、上記の問題を解決するためになされたものであり、クラック等の構造欠陥に起因する信頼性の低下を抑制することができる積層インダクタを提供することを目的とする。
【課題を解決するための手段】
【0006】
本発明の積層インダクタは、複数の絶縁層が積層方向に積層され、内部にコイルを有する積層体と、上記積層体の外表面に設けられ、上記コイルに電気的に接続された第1外部電極及び第2外部電極と、を備える。上記コイルは、上記絶縁層とともに上記積層方向に積層された複数のコイル導体層が電気的に接続されることにより構成される。上記複数のコイル導体層は、上記積層方向に連続する第1コイル導体層をM+N層(M及びNは自然数)有する。上記第1コイル導体層のそれぞれは、第1並列部を有する。上記積層方向に隣り合う上記第1コイル導体層の上記第1並列部同士は、少なくとも2つのビア導体を介して並列接続されている。上記第1コイル導体層のうち、M層は上記第1外部電極に接続される第1引き出し導体を有する第1引き出し層であり、N層は上記第1引き出し導体を有していない第1非引き出し層である。
【0007】
第1の態様において、Mは2以上の自然数であり、少なくとも1組の上記第1引き出し層の上記積層方向での間には、少なくとも1層の上記第1非引き出し層が存在する。
【0008】
第2の態様において、上記積層方向から見たときに、上記第1引き出し層の周回部のうち、電流経路を構成する部分は、上記第1非引き出し層の周回部のうち、電流経路を構成する部分と向き及び形状が同じである。
【発明の効果】
【0009】
本発明によれば、クラック等の構造欠陥に起因する信頼性の低下を抑制することができる積層インダクタを提供することができる。
【図面の簡単な説明】
【0010】
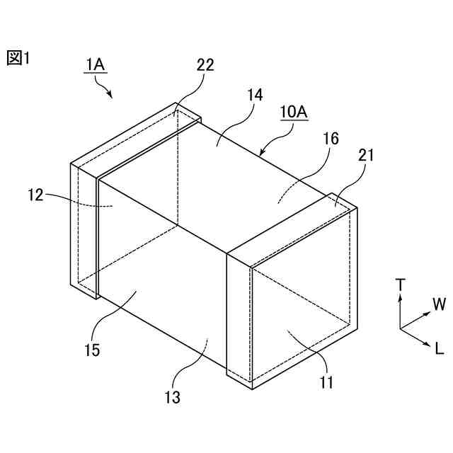
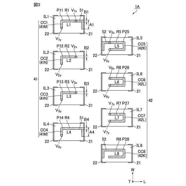
図1は、本発明の第1実施形態に係る積層インダクタの一例を模式的に示す斜視図である。
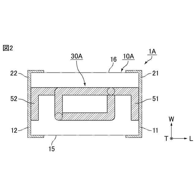
図2は、図1に示す積層インダクタを高さ方向に透視して示す図である。
図3は、図1に示す積層インダクタの内部構造の一例を模式的に示す分解平面図である。
図4は、図1に示す積層インダクタを幅方向に透視して示す図である。
図5は、比較例の積層インダクタを高さ方向に透視して示す図である。
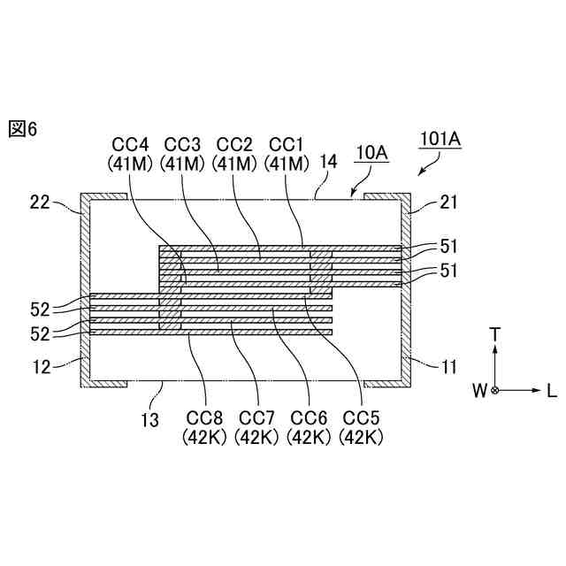
図6は、比較例の積層インダクタを幅方向に透視して示す図である。
図7は、図5でのVII-VII線に沿った断面において、第1引き出し導体を拡大して示す模式図である。
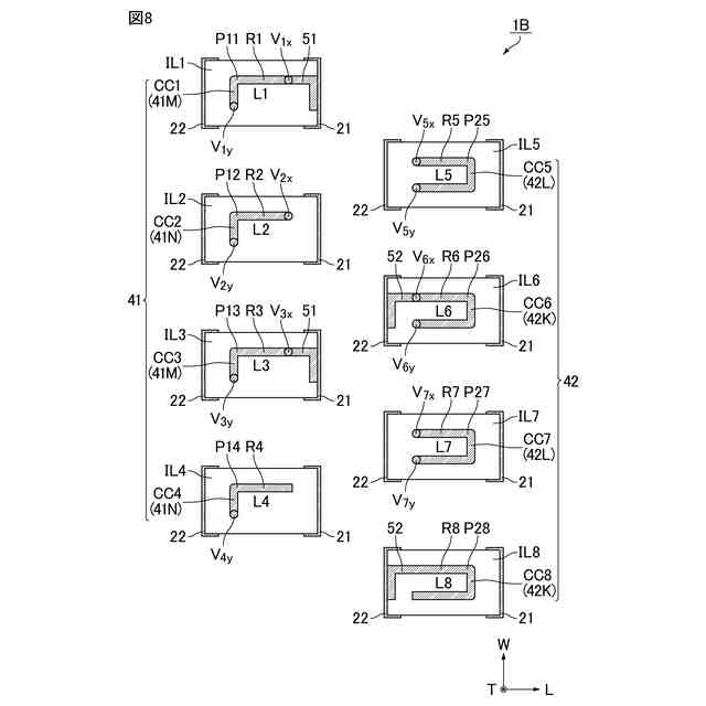
図8は、本発明の第2実施形態に係る積層インダクタの一例を模式的に示す分解平面図である。
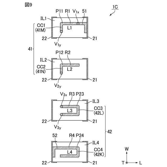
図9は、本発明の第3実施形態に係る積層インダクタの一例を模式的に示す分解平面図である。
図10は、本発明の第4実施形態に係る積層インダクタの一例を模式的に示す分解平面図である。
図11は、本発明の第5実施形態に係る積層インダクタの一例を模式的に示す分解平面図である。
【発明を実施するための形態】
(【0011】以降は省略されています)
この特許をJ-PlatPat(特許庁公式サイト)で参照する
関連特許
株式会社村田製作所
電池パック
1日前
株式会社村田製作所
外観検査装置
9日前
株式会社村田製作所
フィルタ装置
3日前
株式会社村田製作所
電力増幅回路
9日前
株式会社村田製作所
インダクタ部品
11日前
株式会社村田製作所
インダクタ部品
1日前
株式会社村田製作所
インダクタ部品
1日前
株式会社村田製作所
インダクタ部品
1日前
株式会社村田製作所
インダクタ部品
1日前
株式会社村田製作所
インダクタ部品
1日前
株式会社村田製作所
積層体の切断装置
3日前
株式会社村田製作所
伸縮性コイル部品
16日前
株式会社村田製作所
高周波モジュール
9日前
株式会社村田製作所
積層体の切断装置
3日前
株式会社村田製作所
正極及び二次電池
1日前
株式会社村田製作所
積層セラミック電子部品
15日前
株式会社村田製作所
積層セラミックコンデンサ
1日前
株式会社村田製作所
積層セラミックコンデンサ
1日前
株式会社村田製作所
熱拡散デバイス及び電子機器
3日前
株式会社村田製作所
二次電池用負極および二次電池
16日前
株式会社村田製作所
高周波モジュール及び通信装置
9日前
株式会社村田製作所
コイル部品およびその製造方法
1日前
株式会社村田製作所
インダクタ部品およびバックコンバータ
1日前
株式会社村田製作所
積層セラミックコンデンサおよびその製造方法
4日前
株式会社村田製作所
筋振動検知センサ、電気刺激装置及び筋振動検知方法
4日前
株式会社村田製作所
光変調器
3日前
株式会社村田製作所
光変調器
3日前
株式会社村田製作所
光変調器
3日前
株式会社村田製作所
電子部品
3日前
株式会社村田製作所
積層型コイル部品
11日前
株式会社村田製作所
押圧位置推定システム、押圧位置推定方法、及び押圧位置推定プログラム
1日前
株式会社村田製作所
スイッチ付き同軸コネクタおよび該スイッチ付き同軸コネクタを備える同軸コネクタセット
9日前
株式会社村田製作所
スイッチ付き同軸コネクタおよび該スイッチ付き同軸コネクタを備える同軸コネクタセット
9日前
APB株式会社
蓄電セル
15日前
東ソー株式会社
絶縁電線
17日前
個人
フレキシブル電気化学素子
29日前
続きを見る
他の特許を見る