TOP
|
特許
|
意匠
|
商標
特許ウォッチ
Twitter
他の特許を見る
10個以上の画像は省略されています。
公開番号
2025150384
公報種別
公開特許公報(A)
公開日
2025-10-09
出願番号
2024051230
出願日
2024-03-27
発明の名称
積層セラミック電子部品
出願人
株式会社村田製作所
代理人
個人
,
個人
主分類
H01G
4/30 20060101AFI20251002BHJP(基本的電気素子)
要約
【課題】積層体にクラックが発生することをさらに抑制しつつ、かつ耐湿性の向上を図ることが可能な積層セラミック電子部品を提供すること。
【解決手段】積層セラミック電子部品1であって、端面側下地電極層501は、空隙率の高い第1の端面側下地電極層51と、第1の端面側下地電極層51よりも空隙率の低い第2の端面側下地電極層52と、を含み、主面側下地電極層502は、第1の端面側下地電極層51よりも空隙率の低い層を含む。
【選択図】図5
特許請求の範囲
【請求項1】
積層された複数のセラミック層および複数の内部導体層を含み、高さ方向に相対する第1の主面および第2の主面と、高さ方向に直交する幅方向に相対する第1の側面および第2の側面と、高さ方向および幅方向に直交する長さ方向に相対する第1の端面および第2の端面と、を有する積層体と、
前記第1の端面上に配置された第1の外部電極と、
前記第2の端面上に配置された第2の外部電極と、
を有する積層セラミック電子部品であって、
前記第1の外部電極は、
前記第1の端面上に配置されている第1の端面側外部電極と、
前記第1の端面側外部電極と接続され、前記第1の主面および前記第2の主面上の前記第1の端面側の一部に配置されている第1の主面側外部電極と、を備え、
前記第2の外部電極は、
前記第2の端面上に配置されている第2の端面側外部電極と、
前記第2の端面側外部電極と接続され、前記第1の主面および前記第2の主面上の前記第2の端面側の一部に配置されている第2の主面側外部電極と、を備え、
前記第1の端面側外部電極および前記第2の端面側外部電極は、端面側下地電極層と、前記端面側下地電極層上に配置されている端面側導電性樹脂層と、前記端面側導電性樹脂層上に配置されている端面側めっき層と、を備え、
前記第1の主面側外部電極および前記第2の主面側外部電極は、前記第1の主面および前記第2の主面上に配置されている主面側下地電極層と、前記主面側下地電極層上に配置されている主面側導電性樹脂層と、前記主面側導電性樹脂層上に配置されている主面側めっき層と、を備え、
前記端面側下地電極層は、空隙率の高い第1の端面側下地電極層と、前記第1の端面側下地電極層よりも空隙率の低い第2の端面側下地電極層と、を含み、
前記主面側下地電極層は、前記第1の端面側下地電極層よりも空隙率の低い層を含む、積層セラミック電子部品。
続きを表示(約 650 文字)
【請求項2】
前記第1の外部電極は、
前記第1の端面側外部電極と接続され、前記第1の側面および前記第2の側面上の前記第1の端面側の一部に配置されている第1の側面側外部電極と、を備え、
前記第2の外部電極は、
前記第2の端面側外部電極と接続され、前記第1の側面および前記第2の側面上の前記第2の端面側の一部に配置されている第2の側面側外部電極と、を備え、
前記第1の側面側外部電極および前記第2の側面側外部電極は、前記第1の側面および前記第2の側面上に配置されている側面側下地電極層と、前記側面側下地電極層上に配置されている側面側導電性樹脂層と、前記側面側導電性樹脂層上に配置されている側面側めっき層と、を備え、
前記側面側下地電極層は、前記第1の端面側下地電極層よりも空隙率の低い層を含む、
請求項1に記載の積層セラミック電子部品。
【請求項3】
前記第1の端面側下地電極層上に、前記第2の端面側下地電極層が配置されている、
請求項1または2に記載の積層セラミック電子部品。
【請求項4】
前記主面側下地電極層は、前記第2の端面側下地電極層と実質的に連続して形成されている、
請求項1または2に記載の積層セラミック電子部品。
【請求項5】
前記主面側下地電極層は、前記第2の端面側下地電極層に連続する層により形成される単層である、
請求項4に記載の積層セラミック電子部品。
発明の詳細な説明
【技術分野】
【0001】
本発明は、積層セラミック電子部品に関する。
続きを表示(約 2,800 文字)
【背景技術】
【0002】
近年、積層セラミック電子部品としての積層セラミックコンデンサは、熱膨張によるたわみ応力等の過酷な環境下への耐久性が要求され、その対応として積層セラミックコンデンサの外部電極に熱硬化性導電樹脂ペーストを用いる技術が知られている。この種の技術を示すものとして特許文献1が挙げられる。特許文献1では、導電ペーストをディッピングして塗布し、それを焼き付けた電極層と、導電性のエポキシ系熱硬化性樹脂層と、ニッケルメッキ層と、スズ系層とが順次積層された層構成の外部電極を有する積層セラミックコンデンサが記載されている。
【先行技術文献】
【特許文献】
【0003】
特開平11-162771号公報
【発明の概要】
【発明が解決しようとする課題】
【0004】
特許文献1の積層セラミックコンデンサであれば、樹脂層の犠牲破壊および変形による応力緩和によって、積層体にクラックが発生することを抑制可能である。一方、このような樹脂層を有する積層セラミックコンデンサは、耐湿性の向上も求められている。
【0005】
本発明は、積層体にクラックが発生することをさらに抑制しつつ、かつ耐湿性の向上を図ることが可能な積層セラミック電子部品を提供することを目的とする。
【課題を解決するための手段】
【0006】
本発明に係る積層セラミック電子部品は、積層された複数のセラミック層および複数の内部導体層を含み、高さ方向に相対する第1の主面および第2の主面と、高さ方向に直交する幅方向に相対する第1の側面および第2の側面と、高さ方向および幅方向に直交する長さ方向に相対する第1の端面および第2の端面と、を有する積層体と、前記第1の端面上に配置された第1の外部電極と、前記第2の端面上に配置された第2の外部電極と、を有する積層セラミック電子部品であって、前記第1の外部電極は、前記第1の端面上に配置されている第1の端面側外部電極と、前記第1の端面側外部電極と接続され、前記第1の主面および前記第2の主面上の前記第1の端面側の一部に配置されている第1の主面側外部電極と、を備え、前記第2の外部電極は、前記第2の端面上に配置されている第2の端面側外部電極と、前記第2の端面側外部電極と接続され、前記第1の主面および前記第2の主面上の前記第2の端面側の一部に配置されている第2の主面側外部電極と、を備え、前記第1の端面側外部電極および前記第2の端面側外部電極は、端面側下地電極層と、前記端面側下地電極層上に配置されている端面側導電性樹脂層と、前記端面側導電性樹脂層上に配置されている端面側めっき層と、を備え、前記第1の主面側外部電極および前記第2の主面側外部電極は、前記第1の主面および前記第2の主面上に配置されている主面側下地電極層と、前記主面側下地電極層上に配置されている主面側導電性樹脂層と、前記主面側導電性樹脂層上に配置されている主面側めっき層と、を備え、前記端面側下地電極層は、空隙率の高い第1の端面側下地電極層と、前記第1の端面側下地電極層よりも空隙率の低い第2の端面側下地電極層と、を含み、前記主面側下地電極層は、前記第1の端面側下地電極層よりも空隙率の低い層を含む。
【発明の効果】
【0007】
本発明によれば、積層体にクラックが発生することをさらに抑制しつつ、かつ耐湿性の向上を図ることが可能な積層セラミック電子部品を提供することができる。
【図面の簡単な説明】
【0008】
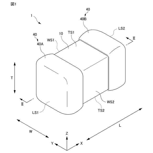
本実施形態の積層セラミックコンデンサの外観斜視図である。
図1に示す積層セラミックコンデンサのII-II線に沿った断面図である。
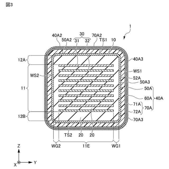
図2に示す積層セラミックコンデンサのIII-III線に沿った断面図である。
図2に示す積層セラミックコンデンサのIV-IV線に沿った断面図である。
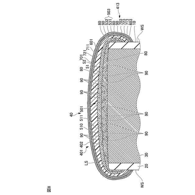
図2に示す積層セラミックコンデンサのV部の拡大図であり、積層セラミックコンデンサの端面側下地電極層および主面側下地電極層の空隙率を説明するための模式図である。
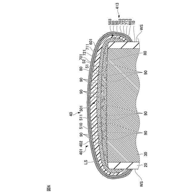
図4に示す積層セラミックコンデンサのVI部の拡大図であり、積層セラミックコンデンサの端面側下地電極層および側面側下地電極層の空隙率を説明するための模式図である。
第2実施形態の積層セラミックコンデンサの端面側下地電極層および主面側下地電極層を説明するための模式図である。
第2実施形態の積層セラミックコンデンサの端面側下地電極層および側面側下地電極層の空隙率を説明するための模式図である。
第3実施形態の積層セラミックコンデンサの端面側下地電極層および主面側下地電極層を説明するための模式図である。
第3実施形態の積層セラミックコンデンサの端面側下地電極層および側面側下地電極層の空隙率を説明するための模式図である。
2連構造の積層セラミックコンデンサの構成の一例を示す模式図である。
3連構造の積層セラミックコンデンサの構成の一例を示す模式図である。
4連構造の積層セラミックコンデンサの構成の一例を示す模式図である。
【発明を実施するための形態】
【0009】
<実施形態>
以下、本開示の第1実施形態に係る積層セラミック電子部品としての積層セラミックコンデンサ1について、図1~図4を用いて説明する。図1は、本実施形態の積層セラミックコンデンサ1の外観斜視図である。図2は、図1の積層セラミックコンデンサ1のII-II線に沿った断面図である。図3は、図2の積層セラミックコンデンサ1のIII-III線に沿った断面図である。図4は、図2の積層セラミックコンデンサ1のIV-IV線に沿った断面図である。
【0010】
なお、図面は、発明の内容を説明するため、模式的に簡略化して描画している場合があり、描画された構成要素または構成要素間の寸法の比率が、明細書に記載されたそれらの寸法の比率と一致していない場合がある。また、明細書に記載されている構成要素が、図面において省略されている場合や、個数を省略して描画されている場合などがある。例えば、図2、図3に記述される内部電極層の数は、説明の便宜上、10層となっているが、これは、実際の内部電極層30の数を示すものではない。なお、本発明において用いる、形状や幾何学的条件、および、それらの程度を特定する用語、例えば、「平行」、「直交」、「同一」等の用語や長さや角度の値等については、厳密な意味に縛られることなく、同様の機能を期待し得る程度の範囲を含めて解釈することとする。
(【0011】以降は省略されています)
この特許をJ-PlatPat(特許庁公式サイト)で参照する
関連特許
他の特許を見る