TOP
|
特許
|
意匠
|
商標
特許ウォッチ
Twitter
他の特許を見る
10個以上の画像は省略されています。
公開番号
2025150306
公報種別
公開特許公報(A)
公開日
2025-10-09
出願番号
2024051119
出願日
2024-03-27
発明の名称
二次電池および電池パック
出願人
株式会社村田製作所
代理人
弁理士法人つばさ国際特許事務所
主分類
H01M
10/0587 20100101AFI20251002BHJP(基本的電気素子)
要約
【課題】信頼性に優れた二次電池を提供する。
【解決手段】二次電池1は、正極21と負極22とセパレータ23とを含む積層体S20がその積層体の長手方向に沿って巻回されると共に長手方向と直交する幅方向に貫通する貫通孔26を有する電極巻回体20と、その電極巻回体を幅方向に挟んで互いに対向する正極集電板24および負極集電板25と、電解液と、その電解液を透過する電解液透過性の絶縁部材53、54とを備える。電極巻回体20は、幅方向に正極集電板24と対向する第1端面と、幅方向に負極集電板と対向する第2端面と、第1端面と第2端面とを繋ぐ側面45とを有する。第1端面は、巻回された状態の正極露出領域の縁部が貫通孔26に向かって曲折することにより形成されている。絶縁部材53、54は、側面のうち、第1端面に隣接する第1端部領域45Tを覆っている。
【選択図】図1
特許請求の範囲
【請求項1】
正極と負極とセパレータとを含む積層体が前記積層体の長手方向に沿って巻回されると共に、前記長手方向と直交する幅方向に貫通する貫通孔を有する電極巻回体と、
前記電極巻回体を前記幅方向に挟んで互いに対向する正極集電板および負極集電板と、
電解液と、
前記電解液を透過する電解液透過性の絶縁部材と
を備え、
前記電極巻回体は、前記幅方向に前記正極集電板と対向する第1端面と、前記幅方向に前記負極集電板と対向する第2端面と、前記第1端面と前記第2端面とを繋ぐ側面とを有し、
前記正極は、
前記長手方向および前記幅方向の双方に広がると共に前記正極集電板と離間する正極活物質層と、
前記正極活物質層に覆われた正極被覆領域、および前記正極被覆領域と前記幅方向に隣り合う正極露出領域を含み、前記正極露出領域において前記正極集電板と接合された正極集電箔と
を有し、
前記第1端面は、巻回された状態の前記正極露出領域の縁部が前記貫通孔に向かって曲折することにより形成されており、
前記絶縁部材は、前記側面のうち、前記第1端面に隣接する第1端部領域を覆っている
二次電池。
続きを表示(約 930 文字)
【請求項2】
前記絶縁部材は、前記電極巻回体の前記側面を周回するように設けられている
請求項1記載の二次電池。
【請求項3】
前記絶縁部材は、35[sec/100cm
3
]以上3000[sec/100cm
3
]以下の透気度を有する
請求項1記載の二次電池。
【請求項4】
前記絶縁部材は、延伸フィルム、多孔質フィルム、または不織布である
請求項1記載の二次電池。
【請求項5】
前記絶縁部材は、前記第1端面をも覆っている
請求項1記載の二次電池。
【請求項6】
前記絶縁部材は、前記電極巻回体に固定されている
請求項1記載の二次電池。
【請求項7】
前記電解液を透過する電解液透過性の保護部材をさらに備え、
前記負極は、
前記長手方向および前記幅方向の双方に広がると共に前記負極集電板と離間する負極活物質層と、
前記負極活物質層に覆われた負極被覆領域、および前記負極被覆領域と前記幅方向に隣り合う負極露出領域を含み、前記負極露出領域において前記負極集電板と接合された負極集電箔と
を有し、
前記第2端面は、巻回された状態の前記負極露出領域の縁部が前記貫通孔に向かって曲折することにより形成されており、
前記保護部材は、前記側面のうち、前記第2端面に隣接する第2端部領域を覆っている
請求項1記載の二次電池。
【請求項8】
前記第1端面を構成する前記正極露出領域の一部が、前記正極集電板と接続されている
請求項1記載の二次電池。
【請求項9】
前記第2端面を構成する前記負極露出領域の一部が、前記負極集電板と接続されている
請求項1記載の二次電池。
【請求項10】
前記電極巻回体を収容する外装缶をさらに備え、
前記絶縁部材は、前記電極巻回体の前記側面と前記外装缶の内面との間に挟まれている
請求項1記載の二次電池。
(【請求項11】以降は省略されています)
発明の詳細な説明
【技術分野】
【0001】
本開示は、二次電池、および、それを備えた電池パックに関する。
続きを表示(約 1,800 文字)
【背景技術】
【0002】
携帯電話機などの多様な電子機器が普及しているため、小型かつ軽量であると共に高エネルギー密度を得ることが可能である電源として、二次電池の開発が進められている。この二次電池は、外装部材の内部に収納された電池素子を備えており、その二次電池の構成に関しては、様々な検討がなされている(例えば特許文献1参照)。
【0003】
特許文献1では、いわゆるタブレス構造と呼ばれる構造を採用し、内部抵抗を低減し、比較的大きな電流での充放電を可能とした二次電池が提案されている。
【先行技術文献】
【特許文献】
【0004】
国際公開第2021/020237号公報
【発明の概要】
【発明が解決しようとする課題】
【0005】
二次電池の性能を改善するために様々な検討がなされている。しかしながら、二次電池の信頼性には改善の余地がある。
【0006】
そこで、信頼性に優れた二次電池が望まれる。
【課題を解決するための手段】
【0007】
本開示の一実施形態の二次電池は、正極と負極とセパレータとを含む積層体がその積層体の長手方向に沿って巻回されると共に長手方向と直交する幅方向に貫通する貫通孔を有する電極巻回体と、その電極巻回体を幅方向に挟んで互いに対向する正極集電板および負極集電板と、電解液と、その電解液を透過する電解液透過性の絶縁部材とを備える。電極巻回体は、幅方向に正極集電板と対向する第1端面と、幅方向に負極集電板と対向する第2端面と、第1端面と第2端面とを繋ぐ側面とを有する。正極は、長手方向および幅方向の双方に広がると共に正極集電板と離間する正極活物質層と、正極活物質層に覆われた正極被覆領域、および正極被覆領域と幅方向に隣り合う正極露出領域を含み、正極露出領域において正極集電板と接合された正極集電箔とを有する。第1端面は、巻回された状態の正極露出領域の縁部が貫通孔に向かって曲折することにより形成されており、絶縁部材は、側面のうち、第1端面に隣接する第1端部領域を覆っている。
【発明の効果】
【0008】
本開示の一実施形態の二次電池によれば、電極巻回体の側面のうちの第1端部領域を絶縁部材で覆うようにしたので、二次電池の組み立て時や、二次電池の使用時において、例えば外装缶の内面と電極巻回体の側面との接触を回避できる。また、絶縁部材が電解液を透過する性質を有するので、電極巻回体の一部に孤立した少量の電解液が残存するのを回避できる。そのため、電極巻回体の局部での過充電状態(局部電池)が生じてしまうのを防止でき、正極活物質の溶解析出が抑制される。その結果、内部短絡の発生を防止できる。
【0009】
なお、本開示の効果は、必ずしもここで説明された効果に限定されるわけではなく、後述する本開示に関連する一連の効果のうちのいずれの効果でもよい。
【図面の簡単な説明】
【0010】
図1は、本開示の一実施の形態における二次電池の高さ方向に沿った垂直断面構造の一構成例を表す断面図である。
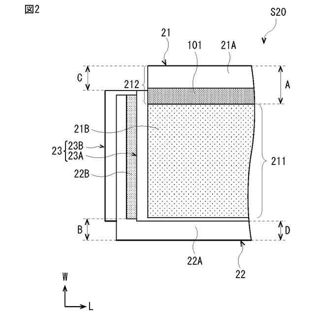
図2は、図1に示した正極、負極およびセパレータを含む積層体の一構成例を表す模式図である。
図3は、図1に示した電極巻回体の水平断面構造の一構成例を表す断面図である。
図4Aは、図1に示した正極の展開図である。
図4Bは、図1に示した正極の断面図である。
図5Aは、図1に示した負極の展開図である。
図5Bは、図1に示した負極の断面図である。
図6Aは、図1に示した電極巻回体および絶縁部材の外観を表す分解斜視図である。
図6Bは、絶縁部材が装着された状態の電極巻回体の外観を表す斜視図である。
図7Aは、図1に示した正極集電板の平面図である。
図7Bは、図1に示した負極集電板の平面図である。
図8は、図1に示した二次電池の製造過程を説明する斜視図である。
図9は、本開示の一実施の形態の二次電池を適用した電池パックの回路構成を表すブロック図である。
【発明を実施するための形態】
(【0011】以降は省略されています)
この特許をJ-PlatPat(特許庁公式サイト)で参照する
関連特許
株式会社村田製作所
電池パック
今日
株式会社村田製作所
フィルタ装置
2日前
株式会社村田製作所
外観検査装置
8日前
株式会社村田製作所
電力増幅回路
8日前
株式会社村田製作所
インダクタ部品
10日前
株式会社村田製作所
インダクタ部品
今日
株式会社村田製作所
インダクタ部品
今日
株式会社村田製作所
インダクタ部品
今日
株式会社村田製作所
インダクタ部品
今日
株式会社村田製作所
インダクタ部品
今日
株式会社村田製作所
高周波モジュール
8日前
株式会社村田製作所
積層体の切断装置
2日前
株式会社村田製作所
積層体の切断装置
2日前
株式会社村田製作所
正極及び二次電池
今日
株式会社村田製作所
積層セラミックコンデンサ
今日
株式会社村田製作所
積層セラミックコンデンサ
今日
株式会社村田製作所
熱拡散デバイス及び電子機器
2日前
株式会社村田製作所
コイル部品およびその製造方法
今日
株式会社村田製作所
高周波モジュール及び通信装置
8日前
株式会社村田製作所
インダクタ部品およびバックコンバータ
今日
株式会社村田製作所
積層セラミックコンデンサおよびその製造方法
3日前
株式会社村田製作所
筋振動検知センサ、電気刺激装置及び筋振動検知方法
3日前
株式会社村田製作所
光変調器
2日前
株式会社村田製作所
光変調器
2日前
株式会社村田製作所
光変調器
2日前
株式会社村田製作所
電子部品
2日前
株式会社村田製作所
積層型コイル部品
10日前
株式会社村田製作所
押圧位置推定システム、押圧位置推定方法、及び押圧位置推定プログラム
今日
株式会社村田製作所
スイッチ付き同軸コネクタおよび該スイッチ付き同軸コネクタを備える同軸コネクタセット
8日前
株式会社村田製作所
スイッチ付き同軸コネクタおよび該スイッチ付き同軸コネクタを備える同軸コネクタセット
8日前
東ソー株式会社
絶縁電線
16日前
APB株式会社
蓄電セル
14日前
個人
フレキシブル電気化学素子
28日前
株式会社東芝
端子台
8日前
株式会社ユーシン
操作装置
28日前
日新イオン機器株式会社
イオン源
24日前
続きを見る
他の特許を見る